TOP
|
特許
|
意匠
|
商標
特許ウォッチ
Twitter
他の特許を見る
公開番号
2025171347
公報種別
公開特許公報(A)
公開日
2025-11-20
出願番号
2024076563
出願日
2024-05-09
発明の名称
電力変換システム
出願人
株式会社日立製作所
代理人
弁理士法人平木国際特許事務所
主分類
H02M
3/00 20060101AFI20251113BHJP(電力の発電,変換,配電)
要約
【課題】太陽光発電やEV充電、定置蓄電の機能を複合した電力変換システムにおいて、装置の稼働率を従来より高めることで、必要な機能を実現するための電力変換器の数や容量を低減させ、電力変換器導入にともなう初期投資コストを低減する。
【解決手段】本発明に係る電力変換システムは、電流源から供給される第一の直流電力を第二の直流電力に変換する回路と、第一の直流電力の入力部または第二の直流電力の出力部として機能する第一の入出力部と、該第一の入出力部の入出力を切替える第一のスイッチと、が内蔵されるDC/DC変換ユニットを備え、第一の入出力部は、それぞれが異なる装置に接続された複数の入出力ポートを備え、第一のスイッチは、複数の入出力ポートのうち一の入出力ポートを選択して接続する。
【選択図】図3
特許請求の範囲
【請求項1】
電流源から供給される第一の直流電力を第二の直流電力に変換する回路と、前記第一の直流電力の入力部または前記第二の直流電力の出力部として機能する第一の入出力部と、該第一の入出力部の入出力を切替える第一のスイッチと、が内蔵されるDC/DC変換ユニットを備え、
前記第一の入出力部は、それぞれが異なる装置に接続された複数の入出力ポートを備え、
前記第一のスイッチは、前記複数の入出力ポートのうち一の入出力ポートを選択して接続する、
ことを特徴とする電力変換システム。
続きを表示(約 1,000 文字)
【請求項2】
請求項1に記載の電力変換システムであって、
前記第一の直流電力を前記DC/DC変換ユニットに供給するか、または前記DC/DC変換ユニットから前記第二の直流電力を供給されるAC/DC変換ユニットであって、 第一の交流電力を前記第一の直流電力に変換するかまたは前記第二の直流電力を第二の交流電力に変換する回路と、前記第一の交流電力の入力部または前記第二の交流電力の出力部として機能する第二の入出力部と、該第二の入出力部の入出力を切替える第二のスイッチと、が内蔵されるAC/DC変換ユニットをさらに備え、
前記第二の入出力部は、交流電源に接続され、前記第一の交流電力の入力部として機能する入力ポートと、前記第二の交流電力の出力部として機能する出力ポートと、を備え、
前記第二のスイッチは、前記入力ポートまたは前記出力ポートのうちいずれかを選択して接続する、
ことを特徴とする電力変換システム。
【請求項3】
請求項2に記載の電力変換システムであって、
前記第一のスイッチ及び前記第二のスイッチは、前記装置の稼働状況に応じて前記第一の入出力部及び第二の入出力部との接続を切替え、
前記DC/DC変換ユニット及びAC/DC変換ユニットは、その接続先に応じて電流の入出力を切替える、
ことを特徴とする電力変換システム。
【請求項4】
請求項1に記載の電力変換システムであって、
前記DC/DC変換ユニットを複数備え、
一の前記DC/DC変換ユニットの前記第一の入出力部に接続された前記装置が前記電流源として機能し、該一のDC/DC変換ユニットが生成した前記第二の直流電力を、他の前記DC/DC変換ユニットに供給する、
ことを特徴とする電力変換システム。
【請求項5】
請求項2に記載の電力変換システムであって、
前記DC/DC変換ユニットを複数備え、
前記AC/DC変換ユニットの前記第二の入出力部は、直流電流源から供給される第三の直流電力の入力部として機能する直流電力入力ポートをさらに備え、
前記AC/DC変換ユニットは、前記直流電力入力ポートから入力された前記第三の直流電力を第四の直流電力に変換するDC/DC変換機能を備え、変換した前記第四の直流電力を、前記複数のDC/DC変換ユニットの一部または全部に供給する、
ことを特徴とする電力変換システム。
発明の詳細な説明
【技術分野】
【0001】
本発明は、電力変換システムに関するものである。
続きを表示(約 2,400 文字)
【背景技術】
【0002】
脱炭素化を背景に、太陽光発電などの再エネ電力の導入や、電気自動車(Electric Vehicle;EV)の導入が進んでいる。また、再エネの有効活用の目的で、定置蓄電池の導入も進んでいる。このような状況を背景に、太陽光発電システムやEV充電器、定置蓄電システムの設置が進む。これらの機器は、単独の機能を有する個別の電力変換器を設置するか、太陽光発電やEV充電、定置蓄電の機能を統合した電力変換器が設置される。例えば、特許文献1には、太陽光発電とEV充電、定置蓄電の機能を統合した電力変換器の回路構成とその制御方法に関して記載されている。
【先行技術文献】
【特許文献】
【0003】
特開2019-146449号公報
【発明の概要】
【発明が解決しようとする課題】
【0004】
前記特許文献1には、太陽光発電とEV充電、定置蓄電の機能を複合した電力変換器の回路構成と、この機能を複合した電力変換器を安定に動作させる制御手法について述べられている。太陽光発電は、太陽電池パネルを用い太陽光から直接発電する方式である。このため、太陽が出ていない夜間では太陽光発電向けの電力変換器は停止している。また、EV充電器も常にEVに充電しているわけではなく、集合住宅などでは通勤などで日中にEVが駐車場に停車している割合が低く、主に夜間にEVへ充電することになる。さらに荷物の配達などの物流においても日中はEVを用いて配送し、主に夜間に充電する場合が多くなる。定置蓄電池に関しても、デマンドシフトなどの電力エネルギーマネジメントに用いる場合、再エネ発電量が多く電力料金が安価な日中に充電し施設内の電力消費が多い夕刻に放電するような制御で稼働されるが、こちらも夜間には定置蓄電に用いる電力変換器は停止している場合が多い。このように、太陽光発電やEV充電器、定置蓄電に用いる電力変換器は日中を通して運転している時間が限られ、電力変換器の稼働率が低くなる課題があった。
【0005】
本発明の目的は、システムの稼働率を従来より高めることで、必要な機能を実現するための電力変換器の数や容量を低減させ、電力変換システム導入にともなう初期投資コストを低減することにある。
【課題を解決するための手段】
【0006】
上記課題を解決するための、代表的な本発明の電力変換システムの一つは、電流源から供給される第一の直流電力を第二の直流電力に変換する回路と、第一の直流電力の入力部または第二の直流電力の出力部として機能する第一の入出力部と、該第一の入出力部の入出力を切替える第一のスイッチと、が内蔵されるDC/DC変換ユニットを備え、第一の入出力部は、それぞれが異なる装置に接続された複数の入出力ポートを備え、第一のスイッチは、複数の入出力ポートのうち一の入出力ポートを選択して接続する。
【発明の効果】
【0007】
本発明によれば、太陽光やEV充電、定置蓄電の機能が複合された電力変換システムにおいて機器としての稼働率を向上させることで、必要な機能を実現するための電力変換器の数や容量を低減させ、電力変換システム導入にともなう初期投資コストを低減することができる。
本発明に関連する更なる特徴は、本明細書の記述、添付図面から明らかになるものである。また、上記した以外の課題、構成及び効果は、以下の実施例の説明により明らかにされる。
【図面の簡単な説明】
【0008】
実施例1において用いられるAC/DC変換ユニットの回路構成の一例を示す図。
DC/DC変換ユニットの回路構成の一例を示す図。
AC/DC変換ユニットと複数のDC/DC変換ユニットが実装された、実施例1に係る電力変換システムの回路構成の一例を示す図。
実施例2において用いられるAC/DC変換ユニットの回路構成の一例を示す図。
AC/DC変換ユニットと複数のDC/DC変換ユニットが実装された、実施例2に係る電力変換システムの回路構成の一例を示す図。
【発明を実施するための形態】
【0009】
以下、実施例を図面を用いて説明する。
[実施例1]
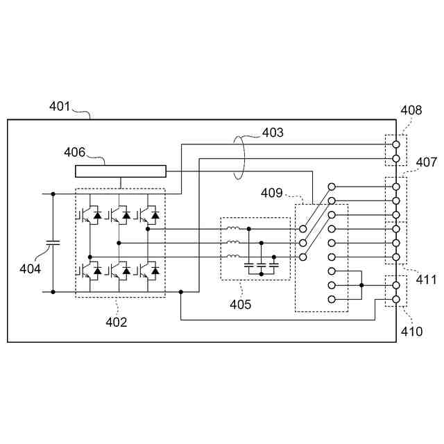
以下、本発明の実施例1に係る電力変換システムを図1~図3を用いて説明する。図1は、三相交流から直流に変換(もしくはその逆変換)するAC/DC変換ユニット101の回路構成の一例を示す。AC/DC変換ユニット101は、三相フルブリッジ回路102を有し、その回路で三相交流から直流、もしくは直流から三相交流に変換する。
【0010】
AC/DC変換ユニット101はさらに直流配線103を有し、この直流配線103には、電圧を安定化させるためのコンデンサ104が実装される。また、三相交流の配線には、リアクトルとコンデンサからなるフィルタ回路105が実装される。またAC/DC変換ユニット101には、三相フルブリッジ回路102を駆動するゲートドライブ回路やその制御回路(ともに不図示)およびスイッチ110を駆動するコントローラ106が内蔵される。AC/DC変換ユニット101には、系統からの三相交流の入力ポート107と交流負荷への三相交流の出力ポート108を備える。また、AC/DC変換ユニット101には、電力変換システムの直流配線313(図3参照)に接続される直流の入出力端子109を備える。さらにAC/DC変換ユニット101は、三相交流の入出力を切替えるスイッチ110を備える。
(【0011】以降は省略されています)
この特許をJ-PlatPat(特許庁公式サイト)で参照する
関連特許
株式会社日立製作所
システム検証方法
16日前
株式会社日立製作所
電力変換システム
1日前
株式会社日立製作所
鉄道車両用空調装置
15日前
株式会社日立製作所
生産ライン設計システム
9日前
株式会社日立製作所
乗降床及び乗客コンベア
14日前
株式会社日立製作所
店舗管理装置および方法
16日前
株式会社日立製作所
施設管理装置および方法
1日前
株式会社日立製作所
検索システム及び検索方法
16日前
株式会社日立製作所
飲食店提案装置および方法
16日前
株式会社日立製作所
乗りかご及びエレベーター
17日前
株式会社日立製作所
乗りかご及びエレベーター
16日前
株式会社日立製作所
宇宙機、地上局及びアンテナ
1日前
株式会社日立製作所
膜分離設備設計支援システム
1日前
株式会社日立製作所
生体認証装置、生体認証方法
15日前
株式会社日立製作所
ソースコードを生成する方法
9日前
株式会社日立製作所
ソフトエラー率評価システム
2日前
株式会社日立製作所
購入関連行動分析装置および方法
15日前
株式会社日立製作所
立体構造宇宙機及びその制御方法
14日前
株式会社日立製作所
ガス分離システムの劣化診断装置
1日前
株式会社日立製作所
スカートモール及び乗客コンベア
1日前
株式会社日立製作所
テスト支援装置及びテスト支援方法
1日前
株式会社日立製作所
単体テスト装置及び単体テスト方法
17日前
株式会社日立製作所
情報処理方法及び情報処理システム
17日前
株式会社日立製作所
欠陥検査システム、及び欠陥検査方法
1日前
株式会社日立製作所
データ処理装置およびデータ処理方法
14日前
株式会社日立製作所
分析装置、分析システムおよび分析方法
1日前
株式会社日立製作所
計算機システム及び構想策定の支援方法
1日前
株式会社日立製作所
計算機システムおよびアクセス検証方法
14日前
株式会社日立製作所
農業経営支援装置および農業経営支援方法
14日前
株式会社日立製作所
ガス分離システムおよびガス分離プラント
1日前
株式会社日立製作所
電力変換装置及び電力変換装置の制御方法
14日前
株式会社日立製作所
設備運用支援システム及び設備運用支援方法
14日前
株式会社日立製作所
将来事象予測システム及び将来事象予測方法
2日前
株式会社日立製作所
ファイル管理システム及びファイル管理方法
16日前
株式会社日立製作所
協調行動支援システム及び協調行動支援方法
9日前
株式会社日立製作所
マージングユニット及び保護リレーシステム
1日前
続きを見る
他の特許を見る