TOP
|
特許
|
意匠
|
商標
特許ウォッチ
Twitter
他の特許を見る
公開番号
2025180910
公報種別
公開特許公報(A)
公開日
2025-12-11
出願番号
2024088595
出願日
2024-05-31
発明の名称
電力管理用制御装置
出願人
株式会社大林組
代理人
個人
,
個人
主分類
H02J
7/00 20060101AFI20251204BHJP(電力の発電,変換,配電)
要約
【課題】充電器による充電が必要な1つ以上の電動式作業機械を効率的に動作させる。
【解決手段】電動式作業機械の充電をそれぞれ行うことができる複数の充電器を制御する充電制御部と、電力系統と電力需要家が利用する設備との間に設けられる測定手段を介して、設備における電力消費によるデマンド値を監視する電力消費監視部とを備え、設備は、複数の充電器を含み、充電制御部は、電力消費監視部の監視結果に基づいて、デマンド値が電力需要家の現在の契約に基づく上限値を超えないように、複数の充電器を制御する、電力管理用制御装置が開示される。
【選択図】図3
特許請求の範囲
【請求項1】
電動式作業機械の充電をそれぞれ行うことができる複数の充電器を制御する充電制御部と、
電力系統と電力需要家が利用する設備との間に設けられる測定手段を介して、前記設備における電力消費によるデマンド値を監視する電力消費監視部とを備え、
前記設備は、前記複数の充電器を含み、
前記充電制御部は、前記電力消費監視部の監視結果に基づいて、前記デマンド値が前記電力需要家の現在の契約に基づく上限値を超えないように、前記複数の充電器を制御する、電力管理用制御装置。
続きを表示(約 750 文字)
【請求項2】
1つ以上の前記電動式作業機械による作業予定を表す情報を取得する予定取得部を更に備え、
前記充電制御部は、1つ以上の前記電動式作業機械による作業予定に更に基づいて、作業予定が予定通り実現されるように、前記複数の充電器を制御する、請求項1に記載の電力管理用制御装置。
【請求項3】
前記複数の充電器のそれぞれの状態を表す情報を取得する充電器状態取得部と、
前記複数の充電器による充電が可能な1つ以上の前記電動式作業機械の状態を表す情報を取得する機械状態取得部と、を更に備え、
前記充電制御部は、前記複数の充電器のそれぞれの状態と、1つ以上の前記電動式作業機械の状態とに基づいて、前記複数の充電器のうちの、1つ以上の充電器の充電動作を制限する、請求項2に記載の電力管理用制御装置。
【請求項4】
前記複数の充電器による充電が可能な2つ以上の前記電動式作業機械の状態を表す情報を取得する機械状態取得部、を更に備え、
前記充電制御部は、2つ以上の前記電動式作業機械の状態に基づいて、次の作業予定までの時間が最も短い前記電動式作業機械が優先して充電されるように、前記複数の充電器のうちの、1つ以上の充電器の充電動作を制限する、請求項2に記載の電力管理用制御装置。
【請求項5】
前記設備は、前記複数の充電器と同じ建設現場で用いられる他の電気負荷を更に含み、
前記電力消費監視部の監視結果と、1つ以上の前記電動式作業機械による作業予定とに基づいて、作業予定が予定通り実現されるように、前記他の電気負荷による電力消費を低減する電力調整部を更に備える、請求項2から4のうちのいずれか1項に記載の電力管理用制御装置。
発明の詳細な説明
【技術分野】
【0001】
本開示は、電力管理用制御装置に関する。
続きを表示(約 1,400 文字)
【背景技術】
【0002】
厨房設備の少なくとも1つの電力機器を有する電力需要家における最大デマンド値(「最大需要電力」とも呼ばれる)を抑制するために、電力機器の運転を制御可能なデマンド制御装置が知られている。
【先行技術文献】
【特許文献】
【0003】
特許第7220265号明細書
【発明の概要】
【発明が解決しようとする課題】
【0004】
しかしながら、上記のような従来技術では、充電器による充電が必要な1つ以上の電動式作業機械を効率的に動作させることが難しい。
【0005】
そこで、本開示は、充電器による充電が必要な1つ以上の電動式作業機械を効率的に動作させることを目的とする。
【課題を解決するための手段】
【0006】
1つの側面では、電動式作業機械の充電をそれぞれ行うことができる複数の充電器を制御する充電制御部と、
電力系統と電力需要家が利用する設備との間に設けられる測定手段を介して、前記設備における電力消費によるデマンド値を監視する電力消費監視部とを備え、
前記設備は、前記複数の充電器を含み、
前記充電制御部は、前記電力消費監視部の監視結果に基づいて、前記デマンド値が前記電力需要家の現在の契約に基づく上限値を超えないように、前記複数の充電器を制御する、電力管理用制御装置が提供される。
【発明の効果】
【0007】
本開示によれば、複数の充電器を利用して、充電器による充電が必要な1つ以上の電動式作業機械を効率的に動作させることが可能となる。
【図面の簡単な説明】
【0008】
本実施例の電力管理用制御装置が適用可能な電力供給系の一例を示す図である。
本実施例の電力管理用制御装置を含む制御系の一例を示す図である。
電力管理用制御装置1の機能の一例を示すブロック図である。
機械情報記憶部内のデータの一例の説明図
充電器情報記憶部内のデータの一例の説明図である。
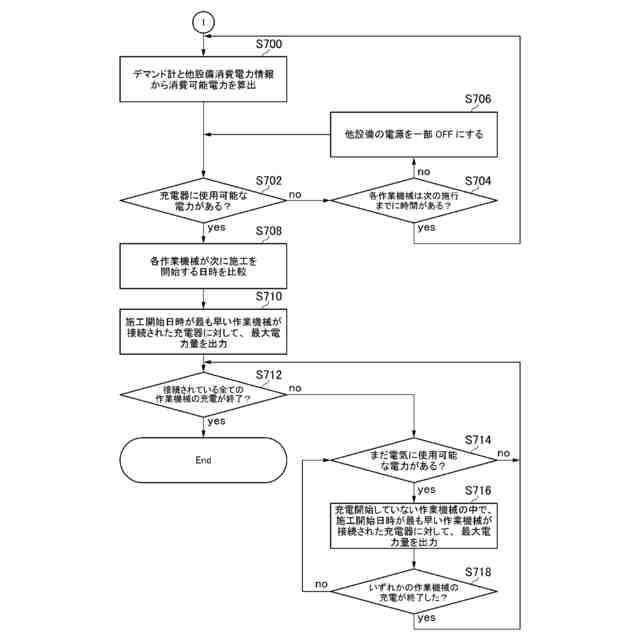
電力管理用制御装置により実行される処理であって、最大デマンド値に応じた電力管理制御に係る処理の一例を概略的に示すフローチャート(その1)である。
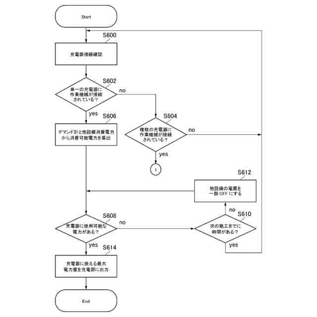
電力管理用制御装置により実行される処理であって、最大デマンド値に応じた電力管理制御に係る処理の一例を概略的に示すフローチャート(その2)である。
電力管理用制御装置により実行される処理であって、必要充電電力の算出処理の一例を概略的に示すフローチャートである。
【発明を実施するための形態】
【0009】
以下、添付図面を参照しながら各実施例について詳細に説明する。なお、図面の寸法比率はあくまでも一例であり、これに限定されるものではなく、また、図面内の形状等は、説明の都合上、部分的に誇張している場合がある。また、図面では、見易さのために、複数存在する同一属性の部位には、一部のみしか参照符号が付されていない場合がある。
【0010】
図1は、本実施例の電力管理用制御装置1(後述)が適用可能な電力供給系の一例を示す図である。
(【0011】以降は省略されています)
この特許をJ-PlatPat(特許庁公式サイト)で参照する
関連特許
株式会社大林組
接合構造
2か月前
株式会社大林組
接続構造
1か月前
株式会社大林組
測定方法
2か月前
株式会社大林組
操縦装置
1か月前
株式会社大林組
減衰機構
15日前
株式会社大林組
接合構造
1か月前
株式会社大林組
減衰機構
15日前
株式会社大林組
飛込み台
2か月前
株式会社大林組
加熱装置
1か月前
株式会社大林組
開封装置
1か月前
株式会社大林組
減衰機構
15日前
株式会社大林組
ドリル装置
1か月前
株式会社大林組
仮設建築物
2か月前
株式会社大林組
建物の構造
2か月前
株式会社大林組
摩擦ダンパー
2日前
株式会社大林組
折畳み構造物
1か月前
株式会社大林組
スロープ構造
1か月前
株式会社大林組
構造物形成装置
13日前
株式会社大林組
可搬式充電設備
2か月前
株式会社大林組
床板の設置方法
2か月前
株式会社大林組
災害時支援装置
1か月前
株式会社大林組
梁筋の配筋方法
1か月前
株式会社大林組
定着具設置方法
2日前
株式会社大林組
進捗管理システム
21日前
株式会社大林組
大梁胴縁接続構造
1か月前
株式会社大林組
鋼矢板の圧入方法
2か月前
株式会社大林組
リフトアップ装置
2か月前
株式会社大林組
運搬管理システム
14日前
株式会社大林組
リフトアップ装置
2か月前
株式会社大林組
リフトアップ装置
13日前
株式会社大林組
リフトアップ装置
13日前
株式会社大林組
繊維材供給システム
1か月前
株式会社大林組
電力管理用制御装置
今日
株式会社大林組
電動式運搬補助装置
1か月前
株式会社大林組
構造物及び施工方法
1か月前
株式会社大林組
袋体付き排水パイプ
2か月前
続きを見る
他の特許を見る