TOP
|
特許
|
意匠
|
商標
特許ウォッチ
Twitter
他の特許を見る
10個以上の画像は省略されています。
公開番号
2025178863
公報種別
公開特許公報(A)
公開日
2025-12-09
出願番号
2024085713
出願日
2024-05-27
発明の名称
定着具設置方法
出願人
株式会社大林組
,
住友電気工業株式会社
代理人
弁理士法人プロスペック特許事務所
,
個人
主分類
E04G
21/12 20060101AFI20251202BHJP(建築物)
要約
【課題】定着具10を効果的に設置する。
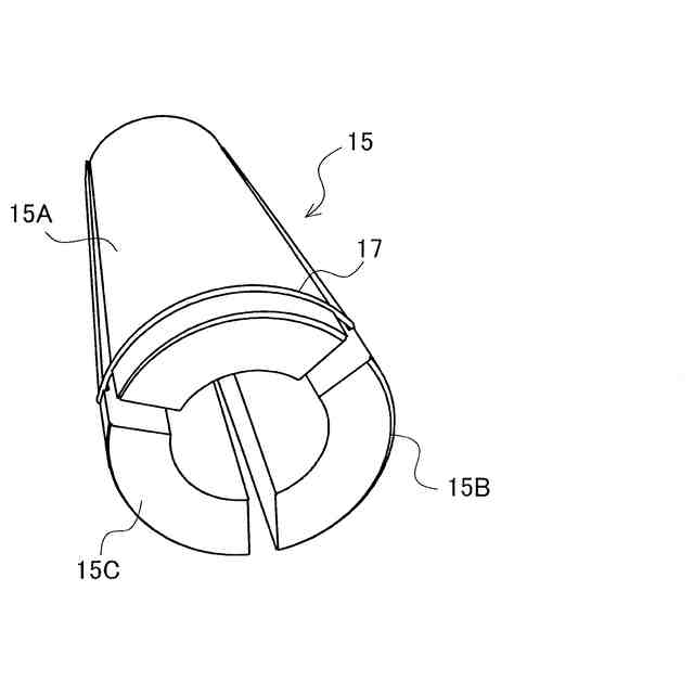
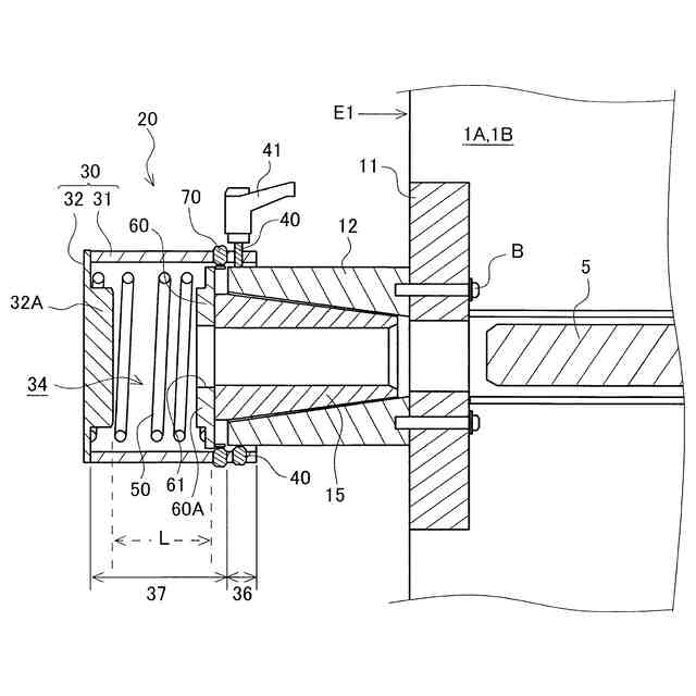
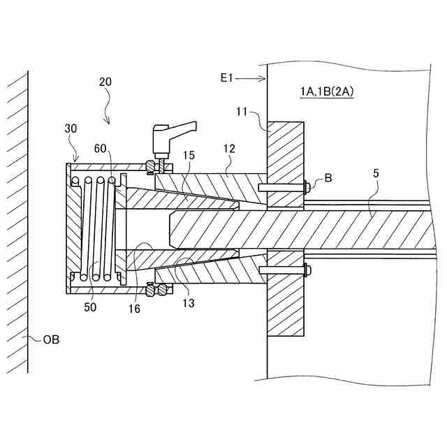
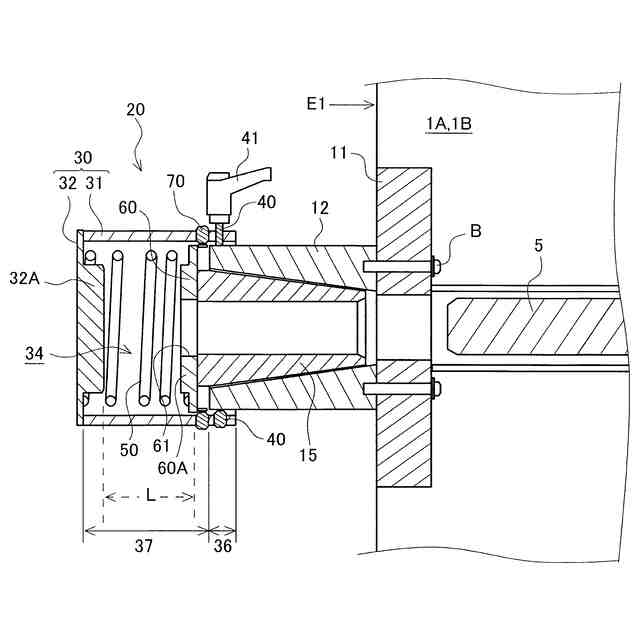
【解決手段】雌部材12と、雄部材15と、支圧板部材11とを備える定着具10を、コンクリート構造物1Aの一端部に定着具設置治具20を用いて設置する定着具設置方法であって、定着具設置治具20は、筒部材31を有する本体部30と、筒部材31を雌部材12に固定する第1固定部材40と、雄部材15を第1貫通孔13に向けて付勢する弾性部材50と、雌部材12を支圧板部材11に固定する第2固定部材Bと、を備えており、定着具設置方法は、型枠の一端部E1に支圧板部材11を取り付ける作業と、第1固定部材40によって雌部材12に筒部材31を取り付ける作業とを順不同で行う取り付け工程と、シース管4内に前記緊張材5を挿入する緊張材挿入工程と、緊張装置6を作動させることにより、雄部材15を第1貫通孔13に嵌入する緊張力導入工程と、を含む。
【選択図】図5
特許請求の範囲
【請求項1】
緊張材を貫通させる第1貫通孔を有する雌部材と、第2貫通孔を有するとともに、前記第1貫通孔に嵌入可能な雄部材と、前記緊張材が挿入される挿入孔を有する支圧板部材とを備え、前記第2貫通孔は、前記雄部材の少なくとも一部が前記第1貫通孔から所定量押し出された特定状態になると、その内径が前記緊張材の外径よりも拡径可能になるように構成された定着具を、場所打ち工法により構築されるコンクリート構造物の一端部に定着具設置治具を用いて設置する定着具設置方法であって、
前記定着具設置治具は、
前記雌部材の少なくとも一部を受容可能な筒部材を有する本体部と、
前記筒部材に設けられており、前記雌部材を受容した前記筒部材を前記雌部材に固定する第1固定部材と、
前記筒部材の内部に収縮可能に収容されており、前記筒部材が前記雌部材に固定された状態で前記雄部材を前記第1貫通孔に向けて付勢する弾性力を伝達可能な弾性部材と、
前記雌部材を前記支圧板部材に固定するための第2固定部材と、を備えており、
前記定着具設置方法は、
前記コンクリート構造物を構築するための型枠の一端部に、前記第2固定部材によって前記雌部材が固定された前記支圧板部材を取り付ける作業と、前記第1固定部材によって前記雌部材に前記筒部材を取り付ける作業とを順不同で行う取り付け作業工程と、
前記型枠内にフレッシュコンクリートが打ち込まれた後、前記コンクリート構造物の他端部からシース管内に前記緊張材を挿入するとともに、前記緊張材を前記挿入孔、前記第1貫通孔、前記第2貫通孔の順に貫通させる緊張材挿入工程と、
前記緊張材の他端側に取り付けた緊張装置を作動させて前記緊張材に緊張力を導入することにより、前記雄部材を前記第1貫通孔に嵌入する緊張力導入工程と、を含む
ことを特徴とする定着具設置方法。
続きを表示(約 3,700 文字)
【請求項2】
緊張材を貫通させる第1貫通孔を有する雌部材と、第2貫通孔を有するとともに、前記第1貫通孔に嵌入可能な雄部材と、前記緊張材が挿入される挿入孔を有する支圧板部材とを備え、前記第2貫通孔は、前記雄部材の少なくとも一部が前記第1貫通孔から所定量押し出された特定状態になると、その内径が前記緊張材の外径よりも拡径可能になるように構成された定着具を、プレキャストセグメント工法により構築されるコンクリート構造物の一端部に定着具設置治具を用いて設置する定着具設置方法であって、
前記定着具設置治具は、
前記雌部材の少なくとも一部を受容可能な筒部材を有する本体部と、
前記筒部材に設けられており、前記雌部材を受容した前記筒部材を前記雌部材に固定する第1固定部材と、
前記筒部材の内部に収縮可能に収容されており、前記筒部材が前記雌部材に固定された状態で前記雄部材を前記第1貫通孔に向けて付勢する弾性力を伝達可能な弾性部材と、
前記雌部材を前記支圧板部材に固定するための第2固定部材と、を備えており、
前記定着具設置方法は、
前記コンクリート構造物を構成する複数のプレキャストコンクリート部材のうち、前記コンクリート構造物の一端をなす一端側プレキャストコンクリート部材の一端部に、前記第2固定部材によって前記雌部材が固定された前記支圧板部材を取り付けるとともに、前記第1固定部材によって前記雌部材に前記筒部材を取り付ける作業を行う取り付け作業工程と、
複数の前記プレキャストコンクリート部材を所定の配置位置に配置した後、前記コンクリート構造物の他端をなす他端側プレキャストコンクリート部材の他端部からシース管内に前記緊張材を挿入するとともに、前記緊張材を前記挿入孔、前記第1貫通孔、前記第2貫通孔の順に貫通させる緊張材挿入工程と、
前記緊張材の他端側に取り付けた緊張装置を作動させて前記緊張材に緊張力を導入することにより、前記雄部材を前記第1貫通孔に嵌入する緊張力導入工程と、を含む
ことを特徴とする定着具設置方法。
【請求項3】
緊張材を貫通させる第1貫通孔を有する雌部材と、第2貫通孔を有するとともに、前記第1貫通孔に嵌入可能な雄部材とを備え、前記第2貫通孔は、前記雄部材の少なくとも一部が前記第1貫通孔から所定量押し出された特定状態になると、その内径が前記緊張材の外径よりも拡径可能になるように構成された定着具を、場所打ち工法により構築されるコンクリート構造物の一端部に定着具設置治具を用いて設置する定着具設置方法であって、
前記定着具設置治具は、
前記雌部材の少なくとも一部を受容可能な筒部材を有する本体部と、
前記筒部材に設けられており、前記雌部材を受容した前記筒部材を前記雌部材に固定する固定部材と、
前記筒部材の内部に収縮可能に収容されるとともに、前記筒部材が前記雌部材に固定された状態で前記雄部材を前記第1貫通孔に向けて付勢する弾性力を伝達可能に構成されており、前記弾性力の最大値が、前記第1貫通孔に所定の挿入力で挿入される前記緊張材から、前記第1貫通孔内に位置する前記雄部材に前記挿入力が伝達されると、前記雄部材が少なくとも前記特定状態になるまで、前記雄部材の前記第1貫通孔からの移動を許容しつつ、前記第2貫通孔を貫通した前記緊張材の前記雄部材からの突出量を、少なくとも前記緊張材の直径と等しくする弾性力に設定された弾性部材と、を備えており、
前記定着具設置方法は、
前記コンクリート構造物を構築するための型枠の一端部に前記雌部材を取り付ける作業と、前記固定部材によって前記雌部材に前記筒部材を取り付ける作業とを順不同で行う取り付け作業工程と、
前記型枠内にフレッシュコンクリートが打ち込まれた後、前記コンクリート構造物の他端部からシース管内に前記緊張材を挿入するとともに、前記緊張材を前記挿入孔、前記第1貫通孔、前記第2貫通孔の順に貫通させる緊張材挿入工程と、
前記緊張材の他端側に取り付けた緊張装置を作動させて前記緊張材に緊張力を導入することにより、前記雄部材を前記第1貫通孔に嵌入する緊張力導入工程と、を含む
ことを特徴とする定着具設置方法。
【請求項4】
緊張材を貫通させる第1貫通孔を有する雌部材と、第2貫通孔を有するとともに、前記第1貫通孔に嵌入可能な雄部材とを備え、前記第2貫通孔は、前記雄部材の少なくとも一部が前記第1貫通孔から所定量押し出された特定状態になると、その内径が前記緊張材の外径よりも拡径可能になるように構成された定着具を、プレキャストセグメント工法により構築されるコンクリート構造物の一端部に定着具設置治具を用いて設置する定着具設置方法であって、
前記定着具設置治具は、
前記雌部材の少なくとも一部を受容可能な筒部材を有する本体部と、
前記筒部材に設けられており、前記雌部材を受容した前記筒部材を前記雌部材に固定する固定部材と、
前記筒部材の内部に収縮可能に収容されるとともに、前記筒部材が前記雌部材に固定された状態で前記雄部材を前記第1貫通孔に向けて付勢する弾性力を伝達可能に構成されており、前記弾性力の最大値が、前記第1貫通孔に所定の挿入力で挿入される前記緊張材から、前記第1貫通孔内に位置する前記雄部材に前記挿入力が伝達されると、前記雄部材が少なくとも前記特定状態になるまで、前記雄部材の前記第1貫通孔からの移動を許容しつつ、前記第2貫通孔を貫通した前記緊張材の前記雄部材からの突出量を、少なくとも前記緊張材の直径と等しくする弾性力に設定された弾性部材と、を備えており、
前記定着具設置方法は、
前記コンクリート構造物を構成する複数のプレキャストコンクリート部材のうち、前記コンクリート構造物の一端をなす一端側プレキャストコンクリート部材の一端部に前記雌部材を取り付けるとともに、前記固定部材によって前記雌部材に前記筒部材を取り付ける作業を行う取り付け作業工程と、
複数の前記プレキャストコンクリート部材を所定の配置位置に配置した後、前記コンクリート構造物の他端をなす他端側プレキャストコンクリート部材の他端部からシース管内に前記緊張材を挿入するとともに、前記緊張材を前記挿入孔、前記第1貫通孔、前記第2貫通孔の順に貫通させる緊張材挿入工程と、
前記緊張材の他端側に取り付けた緊張装置を作動させて前記緊張材に緊張力を導入することにより、前記雄部材を前記第1貫通孔に嵌入する緊張力導入工程と、を含む
ことを特徴とする定着具設置方法。
【請求項5】
請求項1又は2に記載の定着具設置方法であって、
前記定着具設置治具は、
前記緊張材を貫通させる第3貫通孔を有するとともに、前記筒部材の内部に軸方向に移動可能に収容されており、前記雄部材と前記弾性部材との間に配されて、前記雄部材に前記弾性部材の弾性力を伝達可能に構成された押圧板部材をさらに備える
ことを特徴とする定着具設置方法。
【請求項6】
請求項1又は2に記載の定着具設置方法であって、
前記定着具設置治具は、
前記挿入孔と同心上に配置されるとともに、前記支圧板部材の前記雌部材とは反対側の面に固定され、前記緊張材を挿入可能なガイド筒をさらに備え、
前記ガイド筒は、その他端側から前記緊張材が挿入されるシース管の一端側に挿入されるとともに、前記支圧板部材とは反対側の端部の内面が面取りされている
ことを特徴とする定着具設置方法。
【請求項7】
請求項1又は2に記載の定着具設置方法であって、
前記本体部は、前記筒部材の一端側に設けられるとともに、前記弾性部材の一端を着座させる蓋部材を備えており、
前記筒部材は、前記雌部材に固定された状態で、前記第1貫通孔に嵌入された前記雄部材の一端面から前記蓋部材の内面までの長さが前記緊張材の直径と略等しくなるように形成されている
ことを特徴とする定着具設置方法。
【請求項8】
請求項1又は2に記載の定着具設置方法であって、
前記定着具設置治具は、
前記蓋部材に設けられるとともに、前記第1貫通孔及び、前記第2貫通孔を貫通した前記緊張材の先端が当接すると検知信号を送信するセンサと、
前記センサから送信される前記検知信号を受信すると、前記緊張材が所望位置まで挿入されたことを、光又は音を発生させることにより報知する報知装置と、を備える
ことを特徴とする定着具設置方法。
【請求項9】
請求項1又は2に記載の定着具設置方法であって、
前記弾性部材は、複数のコイルバネであり、前記筒部材の内部に複数の前記コイルバネが並列に配設されている
ことを特徴とする定着具設置方法。
発明の詳細な説明
【技術分野】
【0001】
本開示は、定着具設置方法に関するものである。
続きを表示(約 4,500 文字)
【背景技術】
【0002】
従来、コンクリート構造物にプレストレスを導入する工法として、ポストテンション工法が知られている。ポストテンション工法は、コンクリートに埋設されたシース管内にPCストランド等の緊張材を挿入し、緊張材に定着具及びジャッキを設置して緊張力を付与した後、シース管内にグラウトを注入することにより、コンクリート構造物にプレストレスを導入する。
【0003】
例えば、特許文献1には、ポストテンション工法に用いる定着具を設置するための治具(以下、定着具設置治具)が開示されている。特許文献1記載の定着具設置治具は、定着具のメスコーンに固定される筒状の筐体と、該筐体の内部空間内に配置され、定着具のオスコーンをメスコーン側に付勢するコイルバネとを備える。特許文献1記載の定着具設置治具は、緊張材をメスコーンに挿入すると、オスコーンが緊張材の挿入力によってメスコーンから押し出されて拡径し、緊張材がオスコーンを貫通すると、コイルバネがオスコーンをメスコーン側に押し戻すように構成されている。
【先行技術文献】
【特許文献】
【0004】
特開2023-137878号公報
【発明の概要】
【発明が解決しようとする課題】
【0005】
上述の定着具設置治具を用いて定着具を設置する場合、緊張材をオスコーンに確実に挿入して貫通させること、及び、緊張材が貫通したオスコーンをメスコーン側に確実に押し戻すことが重要となる。
【0006】
例えば、緊張材の挿入力に対してコイルバネの弾性力が大きすぎる場合には、オスコーンがメスコーンから押し出されなくなる。オスコーンがメスコーンから押し出されないと、オスコーンが拡径しないため、緊張材をオスコーンに挿入することができない課題が生じる。一方、コイルバネの弾性力が小さすぎる場合には、緊張材をオスコーンに容易に挿入することはできるが、オスコーンをメスコーン側に押し戻せなくなる。このような状態で、緊張材に緊張力を導入すると、オスコーンから必要量を突出させた緊張材が引き戻されるか、或は、オスコーンを構成する各部材がばらけることで、定着具を正しく設置できない課題が生じる。すなわち、上述の定着具設置治具を用いて定着具を効果的に設置するには、コイルバネの弾性力(バネ定数)の設定が重要となる。
【0007】
本開示の技術は、上記事情に鑑みてなされたものであり、定着具を緊張材に効果的に設置することができる技術を提供することを目的とする。
【課題を解決するための手段】
【0008】
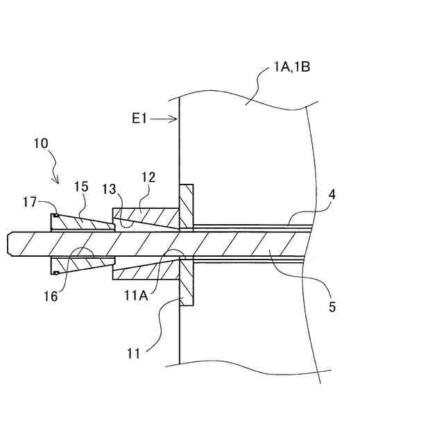
本開示の定着具設置方法は、
緊張材(5)を貫通させる第1貫通孔(13)を有する雌部材(12)と、第2貫通孔(16)を有するとともに、前記第1貫通孔(13)に嵌入可能な雄部材(15)と、前記緊張材(5)が挿入される挿入孔(11A)を有する支圧板部材(11)とを備え、前記第2貫通孔(16)は、前記雄部材(15)の少なくとも一部が前記第1貫通孔(13)から所定量押し出された特定状態になると、その内径が前記緊張材(5)の外径よりも拡径可能になるように構成された定着具(10)を、場所打ち工法により構築されるコンクリート構造物(1A)の一端部(E1)に定着具設置治具(20)を用いて設置する定着具設置方法であって、
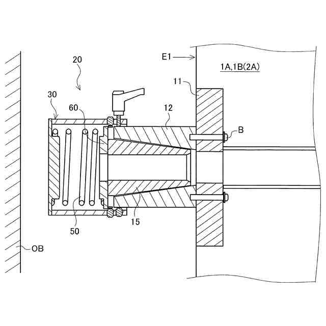
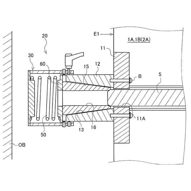
前記定着具設置治具(20)は、
前記雌部材(12)の少なくとも一部を受容可能な筒部材(31)を有する本体部(30)と、
前記筒部材(31)に設けられており、前記雌部材(12)を受容した前記筒部材(31)を前記雌部材(12)に固定する第1固定部材(40)と、
前記筒部材(31)の内部(34)に収縮可能に収容されており、前記筒部材(31)が前記雌部材(12)に固定された状態で前記雄部材(15)を前記第1貫通孔(13)に向けて付勢する弾性力を伝達可能な弾性部材(50)と、
前記雌部材(12)を前記支圧板部材(11)に固定するための第2固定部材(B)と、を備えており、
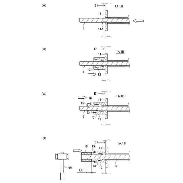
前記定着具設置方法は、
前記コンクリート構造物(1A)を構築するための型枠の一端部(E1)に、前記第2固定部材(B)によって前記雌部材(12)が固定された前記支圧板部材(11)を取り付ける作業と、前記第1固定部材(40)によって前記雌部材(12)に前記筒部材(31)を取り付ける作業とを順不同で行う取り付け作業工程と、
前記型枠内にフレッシュコンクリートが打ち込まれた後、前記コンクリート構造物(1A)の他端部(E2)からシース管(4)内に前記緊張材(5)を挿入するとともに、前記緊張材(5)を前記挿入孔(11A)、前記第1貫通孔(13)、前記第2貫通孔(16)の順に貫通させる緊張材挿入工程と、
前記緊張材(5)の他端側に取り付けた緊張装置(6)を作動させて前記緊張材(5)に緊張力を導入することにより、前記雄部材(15)を前記第1貫通孔(13)に嵌入する緊張力導入工程と、を含む
ことを特徴とする。
【0009】
本開示の定着具設置方法は、
緊張材(5)を貫通させる第1貫通孔(13)を有する雌部材(12)と、第2貫通孔(16)を有するとともに、前記第1貫通孔(13)に嵌入可能な雄部材(15)と、前記緊張材(5)が挿入される挿入孔(11A)を有する支圧板部材(11)とを備え、前記第2貫通孔(16)は、前記雄部材(15)の少なくとも一部が前記第1貫通孔(13)から所定量押し出された特定状態になると、その内径が前記緊張材(5)の外径よりも拡径可能になるように構成された定着具(10)を、プレキャストセグメント工法により構築されるコンクリート構造物(1B)の一端部(E1)に定着具設置治具(20)を用いて設置する定着具設置方法であって、
前記定着具設置治具(20)は、
前記雌部材(12)の少なくとも一部を受容可能な筒部材(31)を有する本体部(30)と、
前記筒部材(31)に設けられており、前記雌部材(12)を受容した前記筒部材(31)を前記雌部材(12)に固定する第1固定部材(40)と、
前記筒部材(31)の内部(34)に収縮可能に収容されており、前記筒部材(31)が前記雌部材(12)に固定された状態で前記雄部材(15)を前記第1貫通孔(13)に向けて付勢する弾性力を伝達可能な弾性部材(50)と、
前記雌部材(12)を前記支圧板部材(11)に固定するための第2固定部材(B)と、を備えており、
前記定着具設置方法は、
前記コンクリート構造物(1B)を構成する複数のプレキャストコンクリート部材(2A~2C)のうち、前記コンクリート構造物(1B)の一端をなす一端側プレキャストコンクリート部材(2A)の一端部(E1)に、前記第2固定部材(B)によって前記雌部材(12)が固定された前記支圧板部材(11)を取り付けるとともに、前記第1固定部材(40)によって前記雌部材(12)に前記筒部材(31)を取り付ける作業を行う取り付け作業工程と、
複数の前記プレキャストコンクリート材部(2A~2C)を所定の配置位置に配置した後、前記コンクリート構造物(1B)の他端をなす他端側プレキャストコンクリート部材(2C)の他端部(E2)からシース管(4)内に前記緊張材(5)を挿入するとともに、前記緊張材(5)を前記挿入孔(11A)、前記第1貫通孔(13)、前記第2貫通孔(16)の順に貫通させる緊張材挿入工程と、
前記緊張材(5)の他端側に取り付けた緊張装置(6)を作動させて前記緊張材(5)に緊張力を導入することにより、前記雄部材(15)を前記第1貫通孔(13)に嵌入する緊張力導入工程と、を含む
ことを特徴とする。
【0010】
本開示の定着具設置方法は、
緊張材(5)を貫通させる第1貫通孔(13)を有する雌部材(12)と、第2貫通孔(16)を有するとともに、前記第1貫通孔(13)に嵌入可能な雄部材(15)とを備え、前記第2貫通孔(16)は、前記雄部材(15)の少なくとも一部が前記第1貫通孔(13)から所定量押し出された特定状態になると、その内径が前記緊張材(5)の外径よりも拡径可能になるように構成された定着具(10)を、場所打ち工法により構築されるコンクリート構造物(1A)の一端部(E1)に定着具設置治具(20)を用いて設置する定着具設置方法であって、
前記定着具設置治具(20)は、
前記雌部材(12)の少なくとも一部を受容可能な筒部材(31)を有する本体部(30)と、
前記筒部材(31)に設けられており、前記雌部材(12)を受容した前記筒部材(31)を前記雌部材(12)に固定する固定部材(40)と、
前記筒部材(31)の内部(34)に収縮可能に収容されるとともに、前記筒部材(31)が前記雌部材(12)に固定された状態で前記雄部材(15)を前記第1貫通孔(13)に向けて付勢する弾性力を伝達可能に構成されており、前記弾性力の最大値が、前記第1貫通孔(13)に所定の挿入力で挿入される前記緊張材(15)から、前記第1貫通孔(13)内に位置する前記雄部材(15)に前記挿入力が伝達されると、前記雄部材(15)が少なくとも前記特定状態になるまで、前記雄部材(15)の前記第1貫通孔(13)からの移動を許容しつつ、前記第2貫通孔(16)を貫通した前記緊張材(5)の前記雄部材(15)からの突出量を、少なくとも前記緊張材(5)の直径と等しくする弾性力に設定された弾性部材(50)と、を備えており、
前記定着具設置方法は、
前記コンクリート構造物(1A)を構築するための型枠の一端部(E1)に前記雌部材(12)を取り付ける作業と、前記固定部材(40)によって前記雌部材(12)に前記筒部材(31)を取り付ける作業とを順不同で行う取り付け作業工程と、
前記型枠内にフレッシュコンクリートが打ち込まれた後、前記コンクリート構造物(1A)の他端部(E2)からシース管(4)内に前記緊張材(5)を挿入するとともに、前記緊張材(5)を前記挿入孔(11A)、前記第1貫通孔(13)、前記第2貫通孔(16)の順に貫通させる緊張材挿入工程と、
前記緊張材(5)の他端側に取り付けた緊張装置(6)を作動させて前記緊張材(5)に緊張力を導入することにより、前記雄部材(15)を前記第1貫通孔(13)に嵌入する緊張力導入工程と、を含む
ことを特徴とする。
(【0011】以降は省略されています)
この特許をJ-PlatPat(特許庁公式サイト)で参照する
関連特許
株式会社大林組
加泥材
4か月前
株式会社大林組
飛込み台
2か月前
株式会社大林組
減衰機構
13日前
株式会社大林組
接合構造
2か月前
株式会社大林組
測定方法
2か月前
株式会社大林組
接続構造
1か月前
株式会社大林組
操縦装置
1か月前
株式会社大林組
接合構造
1か月前
株式会社大林組
開封装置
1か月前
株式会社大林組
基礎構造
3か月前
株式会社大林組
減衰機構
13日前
株式会社大林組
減衰機構
13日前
株式会社大林組
加熱装置
1か月前
株式会社大林組
接続構造
4か月前
株式会社大林組
ドリル装置
1か月前
株式会社大林組
仮設建築物
2か月前
株式会社大林組
免震建築物
3か月前
株式会社大林組
建物の構造
2か月前
株式会社大林組
監視システム
3か月前
株式会社大林組
スロープ構造
1か月前
株式会社大林組
空調システム
3か月前
株式会社大林組
耐火被覆構造
4か月前
株式会社大林組
ルーバー構造
3か月前
株式会社大林組
折畳み構造物
1か月前
株式会社大林組
耐火被覆構造
4か月前
株式会社大林組
耐火被覆構造
3か月前
株式会社大林組
摩擦ダンパー
今日
株式会社大林組
土壌改良方法
4か月前
株式会社大林組
可搬式充電設備
2か月前
株式会社大林組
建物の躯体構造
3か月前
株式会社大林組
建物の躯体構造
3か月前
株式会社大林組
床板の設置方法
2か月前
株式会社大林組
定着具設置方法
今日
株式会社大林組
梁筋の配筋方法
1か月前
株式会社大林組
災害時支援装置
1か月前
株式会社大林組
積層材成型方法
4か月前
続きを見る
他の特許を見る