TOP
|
特許
|
意匠
|
商標
特許ウォッチ
Twitter
他の特許を見る
公開番号
2025178658
公報種別
公開特許公報(A)
公開日
2025-12-09
出願番号
2024085397
出願日
2024-05-27
発明の名称
摩擦ダンパー
出願人
株式会社大林組
代理人
弁理士法人一色国際特許事務所
主分類
F16F
15/02 20060101AFI20251202BHJP(機械要素または単位;機械または装置の効果的機能を生じ維持するための一般的手段)
要約
【課題】ボルトに影響を与えずに座屈を抑制する。
【解決手段】所定方向に相対移動する一対の部材間に配置され、相対移動に伴って摺動する圧接板間の摩擦力により、相対移動を抑制する摩擦ダンパーであって、一対の部材のうちの一方の部材に一体に設けられる第1圧接板と、一対の部材のうちの他方の部材に一体に設けられる第2圧接板と、第1圧接板の貫通孔及び第2圧接板の貫通孔に挿通して設けられ、板厚方向に第1圧接板と第2圧接板を圧接させる締結部材と、を有し、第1圧接板の貫通孔及び第2圧接板の貫通孔の一方は所定方向に長い長孔であり、第1圧接板の貫通孔及び第2圧接板の貫通孔の他方はボルト孔であり、締結部材は、長孔及びボルト孔に挿通されたボルトと、ボルトに螺合したナットと、ボルトが通され、長孔及びボルト孔に収容されたパイプと、を有し、摩擦ダンパーに、所定方向の軸力が作用した際に、ハイプを長孔の短径部分に接触させることによって、所定方向及び板厚方向と交差する交差方向への座屈を抑制する。
【選択図】図4
特許請求の範囲
【請求項1】
所定方向に相対移動する一対の部材間に配置され、前記相対移動に伴って摺動する圧接板間の摩擦力により、前記相対移動を抑制する摩擦ダンパーであって、
前記一対の部材のうちの一方の部材に一体に設けられる第1圧接板と、
前記一対の部材のうちの他方の部材に一体に設けられる第2圧接板と、
前記第1圧接板の貫通孔及び前記第2圧接板の貫通孔に挿通して設けられ、前記第1圧接板と前記第2圧接板の対向面に直交する板厚方向に前記第1圧接板と前記第2圧接板を圧接させる締結部材と、
を有し、
前記第1圧接板の貫通孔及び前記第2圧接板の貫通孔の一方は前記所定方向に長い長孔であり、前記第1圧接板の貫通孔及び前記第2圧接板の貫通孔の他方はボルト孔であり、
前記締結部材は、
前記長孔及び前記ボルト孔に挿通されたボルトと、
前記ボルトに螺合したナットと、
前記ボルトが通され、前記長孔及び前記ボルト孔に収容されたパイプと、
を有し、
前記摩擦ダンパーに、前記所定方向の軸力が作用した際に、前記ハイプを前記長孔の短径部分に接触させることによって、前記所定方向及び前記板厚方向と交差する交差方向への座屈を抑制する、
ことを特徴とする摩擦ダンパー。
続きを表示(約 1,200 文字)
【請求項2】
請求項1に記載の摩擦ダンパーであって、
前記第1圧接板は、H型鋼のウェブであり、前記第2圧接板は、C型鋼のウェブであり、前記C型鋼の一対のフランジは、前記H型鋼の一対のフランジの内側に接触しないように配置されている、
ことを特徴とする摩擦ダンパー。
【請求項3】
請求項2に記載の摩擦ダンパーであって、
前記長孔の短径と前記パイプの外径との間の隙間は、対向する前記H型鋼のフランジと前記C型鋼のフランジとの間の隙間よりも小さい、
ことを特徴とする摩擦ダンパー。
【請求項4】
請求項2に記載の摩擦ダンパーであって、
前記他方の部材はH型鋼であり、
前記C型鋼のウェブと前記他方の部材のウェブは接合され、
前記C型鋼の一対のフランジは、前記他方の部材の一対のフランジの内側に配置されるとともに、対向するフランジ同士が接合されていない、
ことを特徴とする摩擦ダンパー。
【請求項5】
請求項1~4の何れかに記載の摩擦ダンパーであって、
前記パイプの長さは、前記摺動する圧接板の全ての板厚の合計以下である、
ことを特徴とする摩擦ダンパー。
【請求項6】
請求項1~4の何れかに記載の摩擦ダンパーであって、
前記パイプは金属製である、
ことを特徴とする摩擦ダンパー。
【請求項7】
請求項1~4の何れかに記載の摩擦ダンパーであって、
前記ボルトと前記ナットを含み、前記パイプを含まない第2締結部材を有し、
前記締結部材は、前記所定方向において前記第2締結部材を挟むように一対設けられている、
ことを特徴とする摩擦ダンパー。
【請求項8】
所定方向に相対移動する一対の部材間に配置され、前記相対移動に伴って摺動する圧接板間の摩擦力により、前記相対移動を抑制する摩擦ダンパーであって
前記一対の部材のうちの一方の部材に一体に設けられる第1圧接板と、
前記一対の部材のうちの他方の部材に一体に設けられる第2圧接板と、
前記第1圧接板の貫通孔及び前記第2圧接板の貫通孔に挿通して設けられ、前記第1圧接板と前記第2圧接板の対向面に直交する板厚方向に前記第1圧接板と前記第2圧接板を圧接させる締結部材と、
を有し、
前記第1圧接板は、H型鋼のウェブであり、前記第2圧接板は、C型鋼のウェブであり、
前記C型鋼の一対のフランジは、前記H型鋼の一対のフランジの内側に接触しないように配置されており、
前記摩擦ダンパーに、前記所定方向の軸力が作用した際に、前記C型鋼の一対のフランジは、前記板厚方向への座屈を抑制する、
ことを特徴とする摩擦ダンパー。
発明の詳細な説明
【技術分野】
【0001】
本発明は、摩擦ダンパーに関する。
続きを表示(約 1,400 文字)
【背景技術】
【0002】
所定方向に相対移動する一対の部材の間に配置されて相対移動を抑制する摩擦ダンパーが知られている。例えば、特許文献1の摩擦ダンパーでは、建物架構のブレース(H型鋼)のフランジとウェブに摩擦ダンパーを設け、ブレースの掛け渡し方向に沿う軸力だけでなく、架け渡し方向と交差する方向の応力(曲げモーメント)にも対応できるようにしている。
【先行技術文献】
【特許文献】
【0003】
特開2015-113955号公報
【発明の概要】
【発明が解決しようとする課題】
【0004】
ところで、フランジに摩擦ダンパーを設けず、ウェブのみに摩擦ダンパーを設けることがある。その場合、曲げモーメントが設計の想定を超えると摩擦ダンパーのウェブ(長孔)に挿通されたボルトが、長孔短径の内面に当接し、座屈しないように抵抗する。しかし、ボルトが損傷するおそれや、ブレースを構成する部材等が座屈するおそれがある。
【0005】
本発明は、上記のような課題に鑑みてなされたものであって、その目的は、ボルトに影響を与えずに座屈を抑制することにある。
【課題を解決するための手段】
【0006】
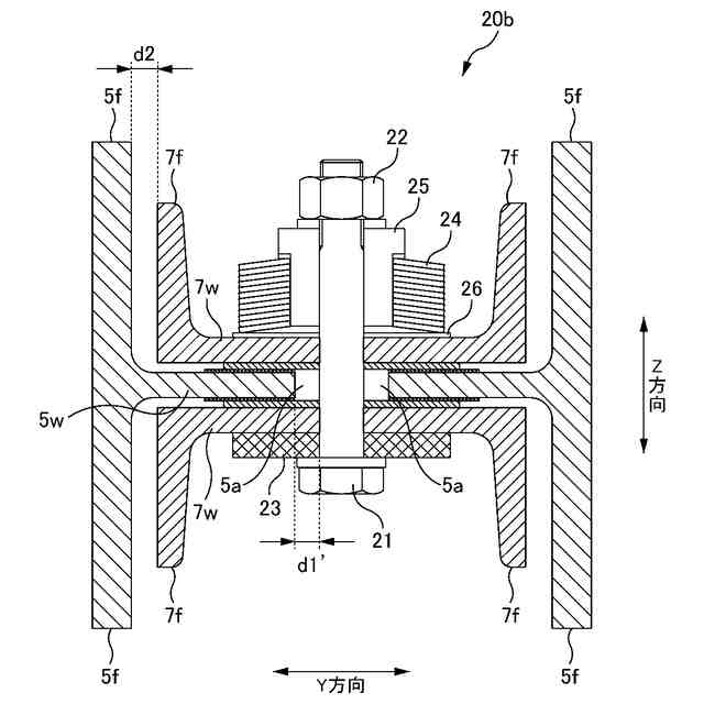
上記目的を達成するための主たる発明は、所定方向に相対移動する一対の部材間に配置され、前記相対移動に伴って摺動する圧接板間の摩擦力により、前記相対移動を抑制する摩擦ダンパーであって、前記一対の部材のうちの一方の部材に一体に設けられる第1圧接板と、前記一対の部材のうちの他方の部材に一体に設けられる第2圧接板と、前記第1圧接板の貫通孔及び前記第2圧接板の貫通孔に挿通して設けられ、前記第1圧接板と前記第2圧接板の対向面に直交する板厚方向に前記第1圧接板と前記第2圧接板を圧接させる締結部材と、を有し、前記第1圧接板の貫通孔及び前記第2圧接板の貫通孔の一方は前記所定方向に長い長孔であり、前記第1圧接板の貫通孔及び前記第2圧接板の貫通孔の他方はボルト孔であり、前記締結部材は、前記長孔及び前記ボルト孔に挿通されたボルトと、前記ボルトに螺合したナットと、前記ボルトが通され、前記長孔及び前記ボルト孔に収容されたパイプと、を有し、前記摩擦ダンパーに、前記所定方向の軸力が作用した際に、前記ハイプを前記長孔の短径部分に接触させることによって、前記所定方向及び前記板厚方向と交差する交差方向への座屈を抑制する、ことを特徴とする摩擦ダンパーである。
【0007】
本発明の他の特徴については、後述する明細書及び図面の記載により明らかにする。
【発明の効果】
【0008】
本発明によれば、ボルトに影響を与えずに座屈を抑制することができる。
【図面の簡単な説明】
【0009】
本実施形態の摩擦ダンパー10の概略説明図である。
図2Aは、ブレース分断片5の平面図であり、図2Bは、ブレース分断片5の断面図である。
図3Aは、連結部材7の平面図であり、図3Bは、連結部材7の断面図である。
図1のA―A断面図である。
図1のB-B断面図である。
【発明を実施するための形態】
【0010】
後述する明細書及び図面の記載から、少なくとも以下の事項が明らかとなる。
(【0011】以降は省略されています)
この特許をJ-PlatPat(特許庁公式サイト)で参照する
関連特許
株式会社大林組
減衰機構
13日前
株式会社大林組
加熱装置
1か月前
株式会社大林組
減衰機構
13日前
株式会社大林組
接続構造
1か月前
株式会社大林組
操縦装置
1か月前
株式会社大林組
減衰機構
13日前
株式会社大林組
接合構造
1か月前
株式会社大林組
基礎構造
3か月前
株式会社大林組
測定方法
2か月前
株式会社大林組
接合構造
2か月前
株式会社大林組
開封装置
1か月前
株式会社大林組
飛込み台
2か月前
株式会社大林組
免震建築物
3か月前
株式会社大林組
ドリル装置
1か月前
株式会社大林組
仮設建築物
2か月前
株式会社大林組
建物の構造
2か月前
株式会社大林組
監視システム
3か月前
株式会社大林組
スロープ構造
1か月前
株式会社大林組
耐火被覆構造
3か月前
株式会社大林組
空調システム
3か月前
株式会社大林組
ルーバー構造
3か月前
株式会社大林組
折畳み構造物
1か月前
株式会社大林組
摩擦ダンパー
今日
株式会社大林組
床板の設置方法
2か月前
株式会社大林組
可搬式充電設備
2か月前
株式会社大林組
梁筋の配筋方法
1か月前
株式会社大林組
災害時支援装置
1か月前
株式会社大林組
定着具設置方法
今日
株式会社大林組
建物の躯体構造
3か月前
株式会社大林組
積層材成型方法
4か月前
株式会社大林組
建物の躯体構造
3か月前
株式会社大林組
構造物形成装置
11日前
株式会社大林組
進捗管理システム
19日前
株式会社大林組
安全支援システム
3か月前
株式会社大林組
鋼矢板の圧入方法
2か月前
株式会社大林組
作業支援システム
3か月前
続きを見る
他の特許を見る