TOP
|
特許
|
意匠
|
商標
特許ウォッチ
Twitter
他の特許を見る
公開番号
2025177080
公報種別
公開特許公報(A)
公開日
2025-12-05
出願番号
2024083597
出願日
2024-05-22
発明の名称
電力変換装置
出願人
富士電機株式会社
代理人
個人
,
個人
主分類
H02M
7/48 20070101AFI20251128BHJP(電力の発電,変換,配電)
要約
【課題】配線の接続が容易な電力変換装置を提供する。
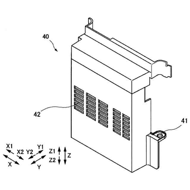
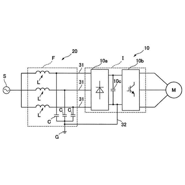
【解決手段】電力変換装置100は、電力変換素子を収容する電力変換筐体11を含む電力変換部10と、フィルタ素子を収容するフィルタ筐体21を含むフィルタ部20と、電力変換筐体11の第1面11aおよびフィルタ筐体21の第1面21aの外部に配置され、電力変換部10とフィルタ部20とを電気的に接続させる第1接続導体としての主回路導体31と、電力変換筐体11の第1面11aとは異なる電力変換筐体11の底面11bおよびフィルタ筐体21の第1面21aとは異なるフィルタ筐体21の天面21bに配置され、電力変換部10とフィルタ部20とを電気的に接続させる第2接続導体としてのアース導体32と、を備える。
【選択図】図1
特許請求の範囲
【請求項1】
電力変換素子を収容する電力変換筐体を含む電力変換部と
フィルタ素子を収容するフィルタ筐体を含むフィルタ部と、
前記電力変換筐体の第1面および前記フィルタ筐体の第1面の外部に配置され、前記電力変換部と前記フィルタ部とを電気的に接続する第1接続導体と、
前記電力変換筐体の第1面とは異なる前記電力変換筐体の第2面および前記フィルタ筐体の第1面とは異なる前記フィルタ筐体の第2面に配置され、前記電力変換部と前記フィルタ部とを電気的に接続する第2接続導体と、を備える、電力変換装置。
続きを表示(約 1,000 文字)
【請求項2】
前記電力変換筐体の第1面および前記フィルタ筐体の第1面の外部に配置される前記第1接続導体は、前記電力変換部と前記フィルタ部との間で交流電力の伝達が行われる主回路導体であり、
前記電力変換筐体の第1面とは異なる前記電力変換筐体の第2面、および、前記フィルタ筐体の第1面とは異なる前記フィルタ筐体の第2面に配置される前記第2接続導体は、アースに接続されるアース導体である、請求項1に記載の電力変換装置。
【請求項3】
前記電力変換筐体は、前記フィルタ筐体と対向する側に設けられた開口部を含み、
前記アース導体は、前記フィルタ筐体に積層して配置されるとともに、前記電力変換筐体の前記開口部を塞ぐように構成されている、請求項2に記載の電力変換装置。
【請求項4】
前記アース導体は、前記電力変換筐体と前記フィルタ筐体とが積層する積層方向に直交する方向に延び、前記フィルタ筐体の天面に対して面接触する接触面を有する、平板状の導体である、請求項3に記載の電力変換装置。
【請求項5】
前記電力変換部は、前記電力変換筐体の内側に冷却風を発生させるファンを含み、
前記アース導体は、前記接触面の配置される位置から、前記電力変換筐体の内側に向かって突出する突出部を含む、請求項4に記載の電力変換装置。
【請求項6】
前記アース導体は、前記電力変換筐体と前記フィルタ筐体とを固定する締結部材と共通の前記締結部材によって前記フィルタ筐体に固定されている、請求項2に記載の電力変換装置。
【請求項7】
前記主回路導体は、円形状の断面を有する単線によって形成されている、請求項2に記載の電力変換装置。
【請求項8】
前記電力変換部と前記フィルタ部とは積層するように配置され、
前記主回路導体は、前記電力変換部と前記フィルタ部とが積層する積層方向に延びる直線状の第1部分と、前記電力変換部に向かって延びる第2部分と、前記フィルタ部に向かって延びる第3部分とを含み、
前記第1部分、前記第2部分および前記第3部分の各々における前記積層方向に直交する水平方向の位置は、前記フィルタ筐体の前記水平方向に延びる端部より内側に配置されている、請求項7に記載の電力変換装置。
【請求項9】
前記主回路導体は、一方側の端部に圧着端子が取り付けられている、請求項7に記載の電力変換装置。
発明の詳細な説明
【技術分野】
【0001】
この発明は、電力変換装置に関し、特に、電力変換部とフィルタ部とを備える電力変換装置に関する。
続きを表示(約 1,800 文字)
【背景技術】
【0002】
従来、電力変換部とフィルタ部とを備える電力変換装置が知られている(たとえば、特許文献1参照)。
【0003】
上記特許文献1には、筐体内部にインバータ(電力変換部)とノイズフィルタ(フィルタ部)とを含み、電源から供給される三相交流電力を、負荷であるモータに出力する電気装置(電力変換装置)が開示されている。上記特許文献1の電力変換装置は、電力変換部に設けられた端子台を介して、電力変換部とフィルタ部とを、電線により電気的に接続している。
【先行技術文献】
【特許文献】
【0004】
特開2010-35295号公報
【発明の概要】
【発明が解決しようとする課題】
【0005】
上記特許文献1では、電力変換部に設けられた端子台を介して、電力変換部とフィルタ部とを、電線により電気的に接続している。しかしながら、電力変換部の1つの面に三相交流の配線およびアース線などの異なる種類の配線を接続する場合には、配線が煩雑であるために、作業性が悪いとともに、作業者が配線の接続箇所を間違う場合がある。そのため、配線の接続が容易な電力変換装置が望まれている。
【0006】
この発明は、上記のような課題を解決するためになされたものであり、この発明の1つの目的は、配線の接続が容易な電力変換装置を提供することである。
【課題を解決するための手段】
【0007】
上記目的を達成するために、この発明の第1の局面による電力変換装置は、電力変換素子を収容する電力変換筐体を含む電力変換部と、フィルタ素子を収容するフィルタ筐体を含むフィルタ部と、電力変換筐体の第1面およびフィルタ筐体の第1面の外部に配置され、電力変換部とフィルタ部とを電気的に接続する第1接続導体と、電力変換筐体の第1面とは異なる電力変換筐体の第2面およびフィルタ筐体の第1面とは異なるフィルタ筐体の第2面に配置され、電力変換部とフィルタ部とを電気的に接続する第2接続導体と、を備える。
【0008】
この発明の第1の局面による電力変換装置は、上記のように、電力変換筐体の第1面およびフィルタ筐体の第1面の外部に配置され、電力変換部とフィルタ部とを電気的に接続する第1接続導体と、電力変換筐体の第1面とは異なる電力変換筐体の第2面およびフィルタ筐体の第1面とは異なるフィルタ筐体の第2面に配置され、電力変換部とフィルタ部とを電気的に接続する第2接続導体と、を備える。これにより、第1接続導体と第2接続導体とが、電力変換筐体およびフィルタ筐体の各々における互いに異なる面に配置されるため、1つの面に全ての接続導体の接続箇所が集中する場合と異なり、第1接続導体と第2接続導体とを接続する箇所を間違えにくくすることができる。その結果、電力変換装置の配線の接続が容易になる。
【0009】
上記第1の局面による電力変換装置において、好ましくは、電力変換筐体の第1面およびフィルタ筐体の第1面の外部に配置される第1接続導体は、電力変換部とフィルタ部との間で交流電力の伝達が行われる主回路導体であり、電力変換筐体の第1面とは異なる電力変換筐体の第2面、および、フィルタ筐体の第1面とは異なるフィルタ筐体の第2面に配置される第2接続導体は、アースに接続されるアース導体である。このように構成すれば、交流電流を伝達するための主回路導体と、アースに接続されるアース導体の互いに用途の異なる複数の接続導体が別の面に接続されるため、主回路導体とアース導体との接続する位置の間違いを抑制できる。
【0010】
この場合、好ましくは、電力変換筐体は、フィルタ筐体と対向する側に設けられた開口部を含み、アース導体は、フィルタ筐体に積層して配置されるとともに、電力変換筐体の開口部を塞ぐように構成されている。このように構成すれば、アース導体が、フィルタ筐体に接続されて接地電位をとる機能とともに、電力変換筐体の開口部を塞ぐ蓋材としての機能を有するため、各々別の2つの部品を用意する場合に比べて、電力変換装置の構成を簡素化できる。
(【0011】以降は省略されています)
この特許をJ-PlatPat(特許庁公式サイト)で参照する
関連特許
富士電機株式会社
搬送機構
2か月前
富士電機株式会社
駆動回路
1か月前
富士電機株式会社
溶接装置
2か月前
富士電機株式会社
冷却装置
2か月前
富士電機株式会社
冷却装置
8日前
富士電機株式会社
集積回路
8日前
富士電機株式会社
電磁接触器
2か月前
富士電機株式会社
電磁接触器
16日前
富士電機株式会社
半導体装置
22日前
富士電機株式会社
エンコーダ
2か月前
富士電機株式会社
半導体装置
9日前
富士電機株式会社
自動販売機
9日前
富士電機株式会社
電磁接触器
2か月前
富士電機株式会社
パネル構造
8日前
富士電機株式会社
半導体装置
1か月前
富士電機株式会社
パネル構造
8日前
富士電機株式会社
電磁接触器
2か月前
富士電機株式会社
電磁接触器
2か月前
富士電機株式会社
電磁接触器
2か月前
富士電機株式会社
自動販売機
1か月前
富士電機株式会社
半導体装置
1日前
富士電機株式会社
半導体装置
2か月前
富士電機株式会社
半導体装置
2か月前
富士電機株式会社
回路遮断器
2か月前
富士電機株式会社
金銭処理装置
1か月前
富士電機株式会社
学習システム
1か月前
富士電機株式会社
飲料抽出装置
1か月前
富士電機株式会社
硬貨処理装置
1か月前
富士電機株式会社
ショーケース
2か月前
富士電機株式会社
自動販売装置
1か月前
富士電機株式会社
飲料供給装置
8日前
富士電機株式会社
商品収納装置
2か月前
富士電機株式会社
電力変換装置
1日前
富士電機株式会社
電力変換装置
1日前
富士電機株式会社
紙幣処理装置
1日前
富士電機株式会社
硬貨処理装置
1か月前
続きを見る
他の特許を見る