TOP
|
特許
|
意匠
|
商標
特許ウォッチ
Twitter
他の特許を見る
10個以上の画像は省略されています。
公開番号
2025158774
公報種別
公開特許公報(A)
公開日
2025-10-17
出願番号
2024061645
出願日
2024-04-05
発明の名称
半導体装置
出願人
富士電機株式会社
代理人
個人
,
個人
主分類
H10D
30/66 20250101AFI20251009BHJP()
要約
【課題】オン抵抗をさらに低減することが可能な物半導体装置を提供する。
【解決手段】半導体装置は、ゲート電極と、第1導電型のコンタクト領域と、超接合構造のドリフト層と、を備える。ドリフト層は、第1方向に延設された第1導電型の第1コラム層と第2導電型の第2コラム層とが第2方向に交互に並ぶ第1ストライプパターンを有する。ゲート電極は、第2方向に延設された複数のトレンチゲートが第1方向に並ぶ第2ストライプパターンを有する。第1ストライプパターンと第2ストライプパターンは平面視で交差している。第1コラム層又は第2コラム層の繰り返しの周期を第1周期とし、トレンチゲートの繰り返しの周期を第2周期とすると、第2周期は第1周期よりも短い。コンタクト領域は、第1コラム層よりも第1導電型の濃度が高く、第1コラム層よりも第2方向の幅が広い。
【選択図】図8
特許請求の範囲
【請求項1】
半導体層と、
前記半導体層の第1面側に設けられたゲート電極と、
前記半導体層に設けられた第1導電型のコンタクト領域と、
前記半導体層に設けられた超接合構造のドリフト層と、を備え、
前記ドリフト層は、
第1方向に延設された第1導電型の第1コラム層と、前記第1方向に延設された第2導電型の第2コラム層とをそれぞれ複数含み、前記第1コラム層と前記第2コラム層とが前記第1方向と交差する第2方向に交互に並ぶ第1ストライプパターンを有し、
前記ゲート電極は、
前記第2方向に延設された複数のトレンチゲートを含み、前記複数のトレンチゲートが前記第1方向に並ぶ第2ストライプパターンを有し、
前記第1ストライプパターンと前記第2ストライプパターンは平面視で交差しており、
前記第1ストライプパターンの前記第2方向における前記第1コラム層又は前記第2コラム層の繰り返しの周期を第1周期とし、前記第2ストライプパターンの前記第1方向における前記トレンチゲートの繰り返しの周期を第2周期とすると、前記第2周期は前記第1周期よりも短く、
前記コンタクト領域は、前記第1コラム層よりも第1導電型の濃度が高く、前記第1コラム層よりも前記第2方向の幅が広い、半導体装置。
続きを表示(約 1,700 文字)
【請求項2】
前記ドリフト層は、
前記半導体層に設けられ、前記コンタクト領域下に位置する第3コラム層をさらに有し、
前記第3コラム層の導電型は、前記第1コラム層よりも低濃度の第1導電型、又は前記第2コラム層よりも低濃度の第2導電型であり、
前記第3コラム層は、前記第1方向に延設されており、前記第1コラム層よりも前記第2方向の幅が広い、請求項1に記載の半導体装置。
【請求項3】
半導体層と、
前記半導体層の第1面側に設けられたゲート電極と、
前記半導体層に設けられた第1導電型のコンタクト領域と、
前記半導体層に設けられた超接合構造のドリフト層と、を備え、
前記ドリフト層は、
第1方向に延設された第1導電型の第1コラム層と、前記第1方向に延設された第2導電型の第2コラム層とをそれぞれ複数含み、前記第1コラム層と前記第2コラム層とが前記第1方向と交差する第2方向に交互に並ぶ第1ストライプパターンを有し、
前記ゲート電極は、
前記第2方向に延設された複数のトレンチゲートを含み、前記複数のトレンチゲートが前記第1方向に並ぶ第2ストライプパターンを有し、
前記第1ストライプパターンと前記第2ストライプパターンは平面視で交差しており、
前記第1ストライプパターンの前記第2方向における前記第1コラム層又は前記第2コラム層の繰り返しの周期を第1周期とし、前記第2ストライプパターンの前記第1方向における前記トレンチゲートの繰り返しの周期を第2周期とすると、前記第2周期は前記第1周期よりも短く、
前記コンタクト領域は、前記第1コラム層よりも第1導電型の濃度が高く、
前記ドリフト層は、
前記半導体層に設けられ、前記コンタクト領域下に位置する第3コラム層をさらに有し、
前記第3コラム層の導電型は、前記第1コラム層よりも低濃度の第1導電型、又は前記第2コラム層よりも低濃度の第2導電型であり、
前記第3コラム層は、前記第1方向に延設されており、前記第1コラム層よりも前記第2方向の幅が広い、半導体装置。
【請求項4】
前記コンタクト領域は、
前記第1方向に延設されており、前記トレンチゲートの前記第2方向における端部の近傍に設けられている、請求項1又は3に記載の半導体装置。
【請求項5】
前記半導体層に設けられ、前記第1コラム層よりも第1導電型の濃度が高い第1導電型の高濃度層をさらに備え、
前記高濃度層は、
前記第1方向で隣り合う一方の前記トレンチゲートと他方の前記トレンチゲートとの間に位置し、当該間の位置から前記第1コラム層を介して前記トレンチゲートの下方まで延出している、請求項1又は3に記載の半導体装置。
【請求項6】
前記高濃度層は、前記コンタクト領域に接続している、請求項5に記載の半導体装置。
【請求項7】
前記高濃度層は、前記第1コラム層に接続している、請求項5に記載の半導体装置。
【請求項8】
前記半導体層に設けられ、前記第1方向で隣り合う一方の前記トレンチゲートと他方の前記トレンチゲートとの間に位置するチャネルセルをさらに備え、
前記チャネルセルは、
第1導電型のウェル領域と、前記ウェル領域と接する第2導電型のソース領域とを有する、請求項1又は3に記載の半導体装置。
【請求項9】
前記半導体層に設けられ、前記ソース領域を前記チャネルセルの外側に引き出す第2導電型のソース引き出し領域をさらに備え、
前記ソース引き出し領域は前記コンタクト領域に接している、請求項8に記載の半導体装置。
【請求項10】
前記半導体層の第1主面側に設けられたソース電極と、をさらに有し、
前記ソース電極は、前記ソース引き出し領域と前記コンタクト領域とに接している、請求項9に記載の半導体装置。
(【請求項11】以降は省略されています)
発明の詳細な説明
【技術分野】
【0001】
本開示は、半導体装置に関する。
続きを表示(約 2,700 文字)
【背景技術】
【0002】
半導体基板の第1の主面側から第2の主面側へ向かって延びる第1導電型半導体よりなる複数のドリフト層と、それと同様に延びる第2導電型半導体よりなる複数の仕切り領域とを、それらの延びる方向に交差する方向に交互に繰り返し接合した構成の並列pn接合層を有し、該並列pn接合層がオン状態のときに電流を流し、オフ状態のときには空乏化する、超接合半導体素子が知られている(例えば、特許文献1参照)。
【先行技術文献】
【特許文献】
【0003】
特開2002- 76339号公報
【発明の概要】
【発明が解決しようとする課題】
【0004】
超接合(Super Junction;以下、SJともいう)構造を有する半導体装置において、オン抵抗のさらなる低減が望まれる。
【0005】
本開示は上記課題に着目してなされたものであって、オン抵抗をさらに低減することが可能な物半導体装置を提供することを目的とする。
【課題を解決するための手段】
【0006】
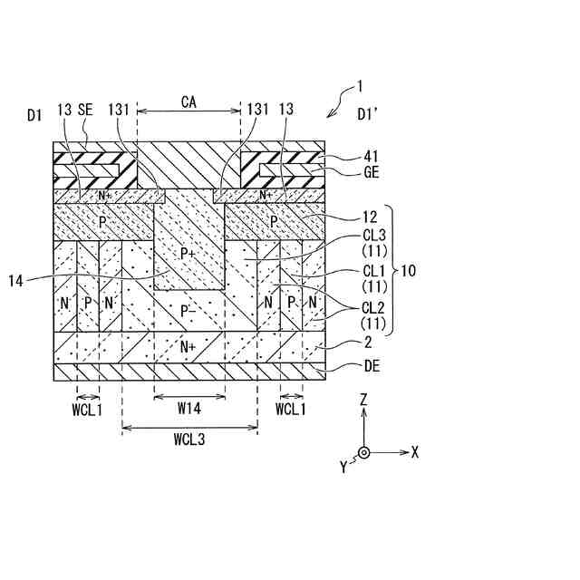
上記課題を解決するために、本開示の一態様に係る半導体装置は、半導体層と、前記半導体層の第1面側に設けられたゲート電極と、前記半導体層に設けられた第1導電型のコンタクト領域と、前記半導体層に設けられた超接合構造のドリフト層と、を備える。前記ドリフト層は、第1方向に延設された第1導電型の第1コラム層と、前記第1方向に延設された第2導電型の第2コラム層とをそれぞれ複数含み、前記第1コラム層と前記第2コラム層とが前記第1方向と交差する第2方向に交互に並ぶ第1ストライプパターンを有する。前記ゲート電極は、前記第2方向に延設された複数のトレンチゲートを含み、前記複数のトレンチゲートが前記第1方向に並ぶ第2ストライプパターンを有する。前記第1ストライプパターンと前記第2ストライプパターンは平面視で交差している。前記第1ストライプパターンの前記第2方向における前記第1コラム層又は前記第2コラム層の繰り返しの周期を第1周期とし、前記第2ストライプパターンの前記第1方向における前記トレンチゲートの繰り返しの周期を第2周期とすると、前記第2周期は前記第1周期よりも短い。前記コンタクト領域は、前記第1コラム層よりも第1導電型の濃度が高く、前記第1コラム層よりも前記第2方向の幅が広い。
【0007】
本開示の別の態様に係る半導体装置は、半導体層と、前記半導体層の第1面側に設けられたゲート電極と、前記半導体層に設けられた第1導電型のコンタクト領域と、前記半導体層に設けられた超接合構造のドリフト層と、を備える。前記ドリフト層は、第1方向に延設された第1導電型の第1コラム層と、前記第1方向に延設された第2導電型の第2コラム層とをそれぞれ複数含み、前記第1コラム層と前記第2コラム層とが前記第1方向と交差する第2方向に交互に並ぶ第1ストライプパターンを有する。前記ゲート電極は、前記第2方向に延設された複数のトレンチゲートを含み、前記複数のトレンチゲートが前記第1方向に並ぶ第2ストライプパターンを有する。前記第1ストライプパターンと前記第2ストライプパターンは平面視で交差している。前記第1ストライプパターンの前記第2方向における前記第1コラム層又は前記第2コラム層の繰り返しの周期を第1周期とし、前記第2ストライプパターンの前記第1方向における前記トレンチゲートの繰り返しの周期を第2周期とすると、前記第2周期は前記第1周期よりも短い。前記コンタクト領域は、前記第1コラム層よりも第1導電型の濃度が高い。前記ドリフト層は、前記半導体層に設けられ、前記コンタクト領域下に位置する第3コラム層をさらに有する。前記第3コラム層の導電型は、前記第1コラム層よりも低濃度の第1導電型、又は前記第2コラム層よりも低濃度の第2導電型である。前記第3コラム層は、前記第1方向に延設されており、前記第1コラム層よりも前記第2方向の幅が広い。
【発明の効果】
【0008】
本開示によれば、オン抵抗をさらに低減することが可能な半導体装置を提供することができる。
【図面の簡単な説明】
【0009】
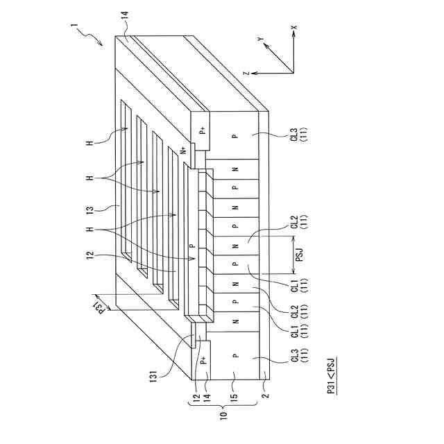
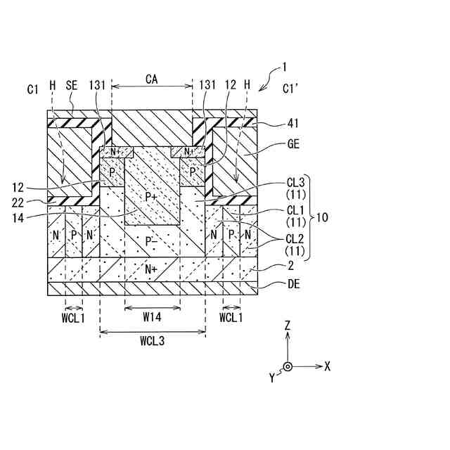
図1は、本開示の実施形態1に係る絶縁ゲート半導体装置の構成例を示す平面図である。
図2は、本開示の実施形態1に係る絶縁ゲート半導体装置の構成例を示す平面図である。
図3は、本開示の実施形態1に係る絶縁ゲート半導体装置の構成例を示す平面図である。
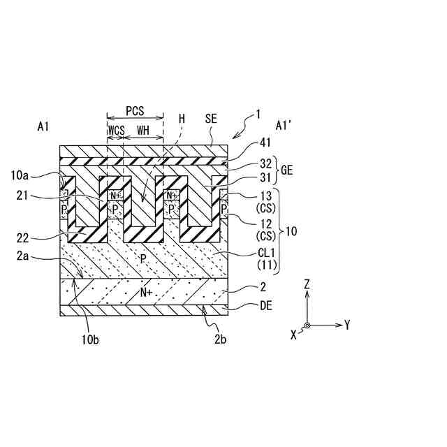
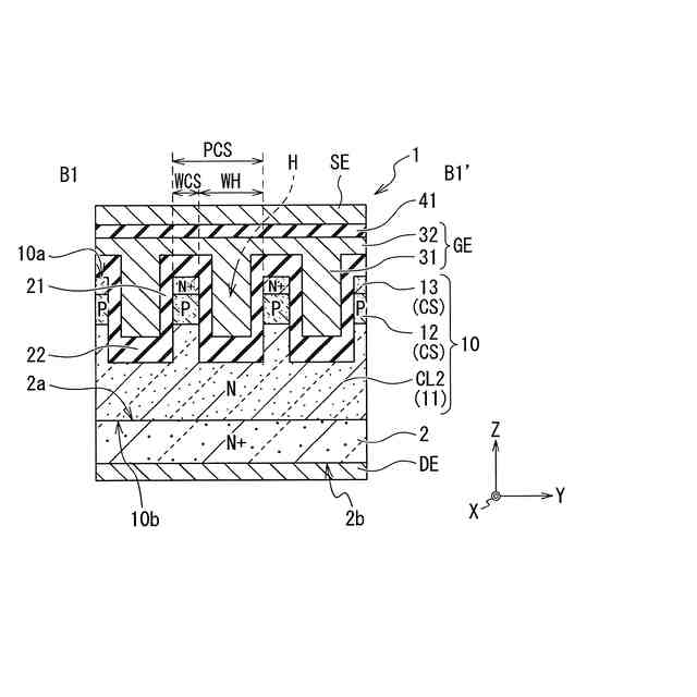
図4は、本開示の実施形態1に係る絶縁ゲート半導体装置の構成例を示す断面図である。
図5は、本開示の実施形態1に係る絶縁ゲート半導体装置の構成例を示す断面図である。
図6は、本開示の実施形態1に係る絶縁ゲート半導体装置の構成例を示す断面図である。
図7は、本開示の実施形態1に係る絶縁ゲート半導体装置の構成例を示す断面図である。
図8は、本開示の実施形態1に係る絶縁ゲート半導体装置の構成例を示す斜視図である。
図9は、本開示の実施形態1の変形例に係る絶縁ゲート半導体装置の構成例を示す断面図である。
図10は、本開示の実施形態1の変形例に係る絶縁ゲート半導体装置の構成例を示す断面図である。
図11は、本開示の実施形態2に係る絶縁ゲート半導体装置の構成例を示す平面図である。
図12は、本開示の実施形態2に係る絶縁ゲート半導体装置の構成例を示す断面図である。
図13は、本開示の実施形態2に係る絶縁ゲート半導体装置の構成例を示す断面図である。
図14は、本開示者が行った実験結果であり、トレンチピッチとオン抵抗RonAとの関係を示すグラフである。
図15は、図14のグラフを基に作成したグラフであり、トレンチピッチと、RonAのnon-SJからの低減率との関係を示すグラフである。
【発明を実施するための形態】
【0010】
以下に本開示の実施形態を説明する。以下の図面の記載において、同一又は類似の部分には同一又は類似の符号を付している。但し、図面は模式的なものであり、厚みと平面寸法との関係、各装置や各部材の厚みの比率等は現実のものとは異なることに留意すべきである。したがって、具体的な厚みや寸法は以下の説明を参酌して判定すべきものである。また、図面相互間においても互いの寸法の関係や比率が異なる部分が含まれていることは勿論である。
(【0011】以降は省略されています)
この特許をJ-PlatPat(特許庁公式サイト)で参照する
関連特許
富士電機株式会社
駆動回路
16日前
富士電機株式会社
半導体装置
1日前
富士電機株式会社
半導体装置
29日前
富士電機株式会社
自動販売機
23日前
富士電機株式会社
自動販売装置
1か月前
富士電機株式会社
学習システム
25日前
富士電機株式会社
金銭処理装置
24日前
富士電機株式会社
飲料抽出装置
18日前
富士電機株式会社
硬貨処理装置
16日前
富士電機株式会社
硬貨処理装置
16日前
富士電機株式会社
ショーケース
1か月前
富士電機株式会社
ガス処理システム
19日前
富士電機株式会社
半導体モジュール
11日前
富士電機株式会社
半導体モジュール
1か月前
富士電機株式会社
半導体モジュール
22日前
富士電機株式会社
制御装置、制御方法
16日前
富士電機株式会社
集積回路、電源回路
29日前
富士電機株式会社
半導体装置の製造方法
1か月前
富士電機株式会社
店舗情報設定システム
25日前
富士電機株式会社
セーフリスト管理方法
16日前
富士電機株式会社
制御回路および電源装置
11日前
富士電機株式会社
換気システムおよび冷却装置
9日前
富士電機株式会社
制御回路および電力供給回路
1か月前
富士電機株式会社
冷却器及び半導体モジュール
22日前
富士電機株式会社
店舗内ショーケース制御システム
23日前
富士電機株式会社
スイッチング制御回路、電源回路
9日前
富士電機株式会社
スイッチング制御回路、電源回路
19日前
富士電機株式会社
ガス回収システム及びガス回収方法
18日前
富士電機株式会社
半導体モジュール、及び、半導体装置
10日前
富士電機株式会社
半導体装置の製造方法及び治具セット
18日前
富士電機株式会社
電力変換装置、制御装置及び制御方法
18日前
富士電機株式会社
部分放電測定装置及び部分放電測定方法
29日前
富士電機株式会社
紙幣処理装置及び新紙幣搬送動作確認方法
24日前
富士電機株式会社
制御支援装置、制御支援方法、及びプログラム
29日前
富士電機株式会社
監視システム、監視装置、監視方法、プログラム
11日前
富士電機株式会社
半導体モジュールおよび半導体モジュールの製造方法
1か月前
続きを見る
他の特許を見る