TOP
|
特許
|
意匠
|
商標
特許ウォッチ
Twitter
他の特許を見る
10個以上の画像は省略されています。
公開番号
2025159860
公報種別
公開特許公報(A)
公開日
2025-10-22
出願番号
2024062684
出願日
2024-04-09
発明の名称
金銭処理装置
出願人
富士電機株式会社
代理人
弁理士法人酒井国際特許事務所
主分類
G07D
11/50 20190101AFI20251015BHJP(チェック装置)
要約
【課題】劣化の程度が小さい小劣化媒体をさらに劣化の程度が小さい微小劣化媒体に交換する媒体交換が可能な金銭処理装置を提供する。
【解決手段】媒体交換制御部52は、上位機であるPOSレジスタ装置PRまたは自動釣銭機1の操作表示部30からの指示により、媒体交換モードに移行し、該媒体交換モード中に、投入された媒体を識別して収納する一方、同一額面の媒体を既に出金用の収納庫に収納済みの媒体の中から出金し、かつ投入した媒体は、出金せずに自動釣銭機1内に退避させて媒体交換を行う。
【選択図】図2
特許請求の範囲
【請求項1】
投入された媒体を識別して金種に対応した収納庫に収納し、出金時に該当する収納庫から媒体を繰り出して出金する金銭処理装置であって、
上位機または金銭処理装置の操作部からの指示により、媒体交換モードに移行し、
該媒体交換モード中に、投入された媒体を識別して収納する一方、同一額面の媒体を既に出金用の収納庫に収納済みの媒体の中から出金し、かつ前記投入した媒体は、出金せずに金銭処理装置内に退避させて媒体交換を行うことを特徴とする金銭処理装置。
続きを表示(約 860 文字)
【請求項2】
前記媒体交換モードの終了指示を受けたタイミングにて、前記媒体交換モード中に投入された複数の媒体と同一額面の媒体を既に出金用の収納庫に収納済みの媒体の中から出金し、かつ前記投入した媒体は、出金せずに金銭処理装置内に退避させて媒体交換を行うことを特徴とする請求項1に記載の金銭処理装置。
【請求項3】
前記金銭処理装置内に退避された媒体を、前記媒体交換による出金後に出金用の収納庫に搬送することを特徴とする請求項1又は2に記載の金銭処理装置。
【請求項4】
前記金銭処理装置内に退避された媒体を、交換媒体出金指示により出金することを特徴とする請求項1又は2に記載の金銭処理装置。
【請求項5】
前記金銭処理装置は、店員が商品登録するとともに顧客が金銭授受を行うセミセルフレジに組み込まれて使用され、前記媒体交換モードに加えて、店員の操作により鑑別部の識別精度を標準識別精度より低くする店員モードを有し、顧客の入金時には鑑別部の識別精度を標準識別精度より高くし、かつ、顧客の入金時に投入した媒体を釣銭として出金する収納庫とは別の収納庫に収納することを特徴とする請求項1又は2に記載の金銭処理装置。
【請求項6】
鑑別部の鑑別データを用いて媒体の汚損状態が所定閾値以上か否かを判定する汚れ識別部と、
汚損状態が所定閾値以上の媒体を収納する汚れ媒体専用収納庫と、
を備え、
媒体が入金された場合、該媒体の汚損状態が所定閾値以上の媒体を、対応する金種の前記汚れ媒体専用収納庫に収納して退避用の媒体とし、該媒体の汚損状態が所定閾値未満の媒体を、対応する金種の収納庫に収納して既に出金用の収納庫に収納済みの媒体とし、
前記媒体交換モードでは、投入された媒体を汚損状態に応じて前記汚れ媒体専用収納庫又は前記収納庫に収納し、同一額面の媒体を前記収納庫の中から出金することを特徴とする請求項1又は2に記載の金銭処理装置。
発明の詳細な説明
【技術分野】
【0001】
本発明は、劣化の程度が小さい小劣化媒体をさらに劣化の程度が小さい微小劣化媒体に交換する媒体交換が可能な金銭処理装置に関する。
続きを表示(約 1,200 文字)
【背景技術】
【0002】
従来、例えばスーパーマーケットやコンビニエンスストア等の店舗には、自動釣銭機として金銭処理装置が設置されている。この金銭処理装置は、通常、POSレジスタ装置等の上位装置に接続されており、上位装置からの指示に応じて硬貨や紙幣等の金銭の入出金動作を行うものである(特許文献1参照)。
【先行技術文献】
【特許文献】
【0003】
特開2021-120819号公報
【発明の概要】
【発明が解決しようとする課題】
【0004】
ところで、コンビニエンスストア等の売上金の送金は、店舗内のATM(Automatic Teller Machine)を使用して行うが、このATMは、POSレジスタ装置に接続している釣銭機よりも識別精度が高いため、釣銭機において本物として受け入れた媒体が、ATMによる送金に使えず、手持ち金との交換等を行う必要があった。
【0005】
ATMで受付けない媒体は、目視では問題なく流通していた劣化の程度であり、顧客に対しては受け取りを拒否できないが、ATMへは送金時に入金できない、といったジレンマがあり、また、店員の手持ち現金と交換し送金しても、後日、銀行へ交換に持参しなければならず、手間がかかっていた。
【0006】
本発明は、上記に鑑みてなされたものであり、劣化の程度が小さい小劣化媒体をさらに劣化の程度が小さい微小劣化媒体に交換する媒体交換が可能な金銭処理装置を提供することを目的とする。
【課題を解決するための手段】
【0007】
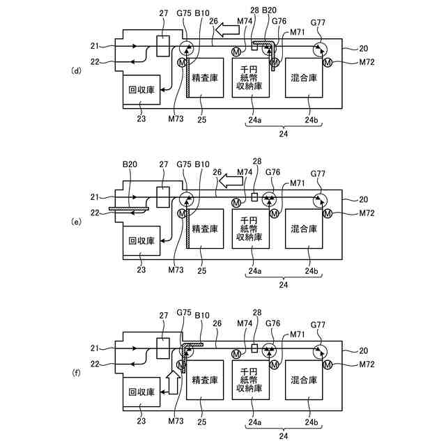
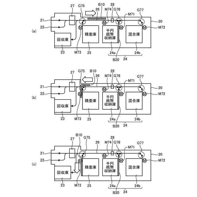
上記目的を達成するために、本発明に係る金銭処理装置は、投入された媒体を識別して金種に対応した収納庫に収納し、出金時に該当する収納庫から媒体を繰り出して出金する金銭処理装置であって、上位機または金銭処理装置の操作部からの指示により、媒体交換モードに移行し、該媒体交換モード中に、投入された媒体を識別して収納する一方、同一額面の媒体を既に出金用の収納庫に収納済みの媒体の中から出金し、かつ前記投入した媒体は、出金せずに金銭処理装置内に退避させて媒体交換を行うことを特徴とする。
【0008】
また本発明は、上記の発明において、前記媒体交換モードの終了指示を受けたタイミングにて、前記媒体交換モード中に投入された複数の媒体と同一額面の媒体を既に出金用の収納庫に収納済みの媒体の中から出金し、かつ前記投入した媒体は、出金せずに金銭処理装置内に退避させて媒体交換を行うことを特徴とする。
【0009】
また本発明は、上記の発明において、前記金銭処理装置内に退避された媒体を、前記媒体交換による出金後に出金用の収納庫に搬送することを特徴とする。
【0010】
また本発明は、上記の発明において、前記金銭処理装置内に退避された媒体を、交換媒体出金指示により出金することを特徴とする。
(【0011】以降は省略されています)
この特許をJ-PlatPat(特許庁公式サイト)で参照する
関連特許
富士電機株式会社
駆動回路
1か月前
富士電機株式会社
冷却装置
9日前
富士電機株式会社
集積回路
9日前
富士電機株式会社
半導体装置
10日前
富士電機株式会社
自動販売機
10日前
富士電機株式会社
電磁接触器
17日前
富士電機株式会社
自動販売機
1か月前
富士電機株式会社
パネル構造
9日前
富士電機株式会社
パネル構造
9日前
富士電機株式会社
半導体装置
23日前
富士電機株式会社
半導体装置
2日前
富士電機株式会社
金銭処理装置
1か月前
富士電機株式会社
飲料抽出装置
1か月前
富士電機株式会社
硬貨処理装置
1か月前
富士電機株式会社
電力変換装置
2日前
富士電機株式会社
電力変換装置
2日前
富士電機株式会社
紙幣処理装置
2日前
富士電機株式会社
硬貨処理装置
1か月前
富士電機株式会社
飲料供給装置
9日前
富士電機株式会社
学習システム
1か月前
富士電機株式会社
ガス処理システム
1か月前
富士電機株式会社
半導体モジュール
1か月前
富士電機株式会社
半導体モジュール
1か月前
富士電機株式会社
自動販売機システム
10日前
富士電機株式会社
自動販売機システム
9日前
富士電機株式会社
エレベータ用制御盤
2日前
富士電機株式会社
制御装置、制御方法
1か月前
富士電機株式会社
制御装置、制御方法
2日前
富士電機株式会社
店舗情報設定システム
1か月前
富士電機株式会社
セーフリスト管理方法
1か月前
富士電機株式会社
制御回路および電源装置
1か月前
富士電機株式会社
冷却器及び半導体モジュール
1か月前
富士電機株式会社
半導体装置及びその製造方法
17日前
富士電機株式会社
窒化物半導体装置の製造方法
4日前
富士電機株式会社
換気システムおよび冷却装置
1か月前
富士電機株式会社
スイッチング制御回路、電源回路
1か月前
続きを見る
他の特許を見る