TOP
|
特許
|
意匠
|
商標
特許ウォッチ
Twitter
他の特許を見る
公開番号
2025173320
公報種別
公開特許公報(A)
公開日
2025-11-27
出願番号
2024078856
出願日
2024-05-14
発明の名称
自動販売機
出願人
富士電機株式会社
代理人
弁理士法人酒井国際特許事務所
主分類
G07F
9/00 20060101AFI20251119BHJP(チェック装置)
要約
【課題】種々の付加価値サービスの提供を可能にしながら製造コストの低減化を図ること。
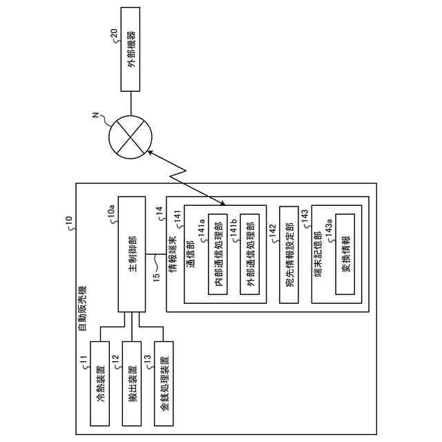
【解決手段】商品の販売を制御する主制御部10aを備えた自動販売機10であって、主制御部10aと通信可能に接続され、かつ主制御部10aからデータを受信した場合に、該データに含まれる受信宛先情報を予め設定された条件にしたがって送信宛先情報に設定し、設定した送信宛先情報に該当する外部機器20にデータを送出する情報端末14を備えている。情報端末14は、主制御部10aから与えられる受信宛先情報と該情報端末14が送出可能な送信宛先情報とが関連付けられた変換情報143aを有し、受信宛先情報と変換情報143aとから送信宛先情報を設定することが好ましい。
【選択図】図1
特許請求の範囲
【請求項1】
商品の販売を制御する主制御部を備えた自動販売機であって、
前記主制御部と通信可能に接続され、かつ該主制御部からデータを受信した場合に、該データに含まれる受信宛先情報を予め設定された条件にしたがって送信宛先情報に設定し、設定した送信宛先情報に該当する外部機器に前記データを送出する情報端末を備えたことを特徴とする自動販売機。
続きを表示(約 200 文字)
【請求項2】
前記情報端末は、前記主制御部から与えられる前記受信宛先情報と、該情報端末が送出可能な送信宛先情報とが関連付けられた変換情報を有し、前記受信宛先情報と前記変換情報とから送信宛先情報を設定することを特徴とする請求項1に記載の自動販売機。
【請求項3】
前記情報端末は、前記主制御部とUSB通信により接続されたことを特徴とする請求項1又は請求項2に記載の自動販売機。
発明の詳細な説明
【技術分野】
【0001】
本発明は、自動販売機に関するものである。
続きを表示(約 1,400 文字)
【背景技術】
【0002】
従来、売上等の各種情報を検量サーバと称される外部機器に対して送出する自動販売機が知られている。この自動販売機は、外部機器の要求に応じて、主制御部がRS232C規格のインタフェースを介して接続されたモデムを通じて外部機器に各種情報を送出している(例えば、特許文献1参照)。
【先行技術文献】
【特許文献】
【0003】
特開2017-228206号公報
【発明の概要】
【発明が解決しようとする課題】
【0004】
ところで、近年、自動販売機において様々な付加価値サービスを提供することが求められており、自動販売機が各種サーバの外部機器とネットワークを介して接続する必要がある。そのため、自動販売機は、提供する付加価値サービスに対応した通信接続を新たに構築する必要があり、結果的にコンポーネントの増大等により、製造コストの増大化を招来していた。
【0005】
本発明は、上記実情に鑑みて、種々の付加価値サービスの提供を可能にしながら製造コストの低減化を図ることができる自動販売機を提供することを目的とする。
【課題を解決するための手段】
【0006】
上記目的を達成するために、本発明に係る自動販売機は、商品の販売を制御する主制御部を備えた自動販売機であって、前記主制御部と通信可能に接続され、かつ該主制御部からデータを受信した場合に、該データに含まれる受信宛先情報を予め設定された条件にしたがって送信宛先情報に設定し、設定した送信宛先情報に該当する外部機器に前記データを送出する情報端末を備えたことを特徴とする。
【0007】
また本発明は、上記自動販売機において、前記情報端末は、前記主制御部から与えられる前記受信宛先情報と、該情報端末が送出可能な送信宛先情報とが関連付けられた変換情報を有し、前記受信宛先情報と前記変換情報とから送信宛先情報を設定することを特徴とする。
【0008】
また本発明は、上記自動販売機において、前記情報端末は、前記主制御部とUSB通信により接続されたことを特徴とする。
【発明の効果】
【0009】
本発明によれば、主制御部と通信可能に接続された情報端末が、主制御部からデータを受信した場合に、該データに含まれる受信宛先情報を予め設定された条件にしたがって送信宛先情報に設定し、設定した送信宛先情報に該当する外部機器にデータを送出するので、種々の付加価値サービスを提供する複数の外部機器との接続が可能になるとともに、主制御部と情報端末との通信の集約が可能になり、種々の付加価値サービスの提供を可能にしながら製造コストの低減化を図ることができるという効果を奏する。また、外部機器の宛先情報が変更された場合も主制御部ではなく情報端末の設定を変更すればよいため、メーカーや機種により設定手段が異なる主制御を変更せずに、外部機器からネットワークを介して容易に設定変更が可能となり、設定変更に要するコストの低減化を図ることができるという効果を奏する。
【図面の簡単な説明】
【0010】
図1は、本発明の実施の形態である自動販売機の制御系を模式的に示すブロック図である。
図2は、図1に示した情報端末が実施する処理内容を示すフローチャートである。
【発明を実施するための形態】
(【0011】以降は省略されています)
この特許をJ-PlatPat(特許庁公式サイト)で参照する
関連特許
富士電機株式会社
集積回路
今日
富士電機株式会社
駆動回路
29日前
富士電機株式会社
冷却装置
今日
富士電機株式会社
電磁接触器
1か月前
富士電機株式会社
パネル構造
今日
富士電機株式会社
自動販売機
1か月前
富士電機株式会社
半導体装置
1か月前
富士電機株式会社
半導体装置
14日前
富士電機株式会社
電磁接触器
1か月前
富士電機株式会社
電磁接触器
8日前
富士電機株式会社
電磁接触器
1か月前
富士電機株式会社
電磁接触器
1か月前
富士電機株式会社
半導体装置
1日前
富士電機株式会社
自動販売機
1日前
富士電機株式会社
電磁接触器
1か月前
富士電機株式会社
パネル構造
今日
富士電機株式会社
半導体装置
1か月前
富士電機株式会社
飲料抽出装置
1か月前
富士電機株式会社
金銭処理装置
1か月前
富士電機株式会社
学習システム
1か月前
富士電機株式会社
自動販売装置
1か月前
富士電機株式会社
ショーケース
1か月前
富士電機株式会社
商品収納装置
1か月前
富士電機株式会社
飲料供給装置
今日
富士電機株式会社
硬貨処理装置
29日前
富士電機株式会社
硬貨処理装置
29日前
富士電機株式会社
半導体モジュール
1か月前
富士電機株式会社
チャンネルベース
1か月前
富士電機株式会社
半導体モジュール
1か月前
富士電機株式会社
電力変換システム
1か月前
富士電機株式会社
チャンネルベース
1か月前
富士電機株式会社
ガス処理システム
1か月前
富士電機株式会社
半導体モジュール
24日前
富士電機株式会社
制御装置、制御方法
29日前
富士電機株式会社
自動販売機システム
今日
富士電機株式会社
自動販売機システム
1日前
続きを見る
他の特許を見る