TOP
|
特許
|
意匠
|
商標
特許ウォッチ
Twitter
他の特許を見る
10個以上の画像は省略されています。
公開番号
2025145987
公報種別
公開特許公報(A)
公開日
2025-10-03
出願番号
2024046535
出願日
2024-03-22
発明の名称
電磁接触器
出願人
富士電機株式会社
代理人
個人
,
個人
主分類
H01H
50/02 20060101AFI20250926BHJP(基本的電気素子)
要約
【課題】電磁接触器において、電磁石に接続される配線をアークガスから保護する。
【解決手段】電磁石17は、底面ヨーク24と、リード線75と、を備えている。底面ヨーク24は、面方向が軸方向に直交してケース12及びカバー13を仕切る板状であり、軸方向から見た一辺の中央に切欠62が形成されている。リード線75は、切欠62を通り、一端が底面ヨーク24よりも接点18から遠い側でコイル32に接続され、他端が底面ヨーク24よりも接点18に近い側で制御回路に接続されている。
【選択図】図11
特許請求の範囲
【請求項1】
接点と、
軸方向に沿って前記接点を開閉させる電磁石と、
前記接点及び前記電磁石を密閉する樹脂製の密閉容器と、を備え、
前記電磁石は、
面方向が軸方向に直交して前記密閉容器を仕切る板状であり、軸方向から見た一辺の中央に切欠が形成されたヨークと、
前記切欠を通り、一端が前記ヨークよりも前記接点から遠い側でコイルに接続され、他端が前記ヨークよりも前記接点に近い側で制御回路に接続される配線と、を備えていることを特徴とする電磁接触器。
続きを表示(約 860 文字)
【請求項2】
前記ヨークよりも前記接点から遠い側で前記コイルに接続された内部端子と、
前記ヨークよりも前記接点に近い側で前記密閉容器の外へ引き出され、前記制御回路に接続される外部端子と、を備え、
前記配線は、一端が前記内部端子に接続され、他端が前記外部端子に接続されていることを特徴とする請求項1に記載の電磁接触器。
【請求項3】
アークを軸方向から見て対角の二隅に向かって、且つ軸方向の前記接点から遠い側に向かって駆動する永久磁石を備えていることを特徴とする請求項1に記載の電磁接触器。
【請求項4】
前記切欠は、前記ヨークを軸方向から見て対向する二辺の中央に一つずつ形成されていることを特徴とする請求項1に記載の電磁接触器。
【請求項5】
前記ヨークは、前記コイルよりも前記接点から遠い側に配置されていることを特徴とする請求項2に記載の電磁接触器。
【請求項6】
前記外部端子は、前記コイルの側方で、且つ軸方向の前記ヨークに近い側に配置されていることを特徴とする請求項5に記載の電磁接触器。
【請求項7】
前記密閉容器には、軸方向における前記接点から遠い側に、軸方向に沿った内周面よりも軸直角方向の外側に拡張された拡張部が形成され、
前記外部端子は、前記拡張部に配置されていることを特徴とする請求項6に記載の電磁接触器。
【請求項8】
前記切欠は、軸方向から見て前記内周面よりも軸直角方向の外側から前記内周面に向かって凹となる凹状に形成されていることを特徴とする請求項7に記載の電磁接触器。
【請求項9】
前記配線は、軸方向から見て前記内周面よりも軸直角方向の外側に配置されていることを特徴とする請求項8に記載の電磁接触器。
【請求項10】
前記配線は、絶縁被覆で覆われていることを特徴とする請求項1に記載の電磁接触器。
(【請求項11】以降は省略されています)
発明の詳細な説明
【技術分野】
【0001】
本発明は、電磁接触器に関するものである。
続きを表示(約 2,000 文字)
【背景技術】
【0002】
特許文献1に示される密閉型電磁接触器では、セラミックで蓋をした金属製の密閉容器内に接点を収容し、そこに水素等の加圧された遮断用ガスを封入することで、接点の遮断性能を高めている。
【先行技術文献】
【特許文献】
【0003】
特開2024-8697号公報
【発明の概要】
【発明が解決しようとする課題】
【0004】
密閉容器を金属製から樹脂製に代えて、密閉容器の全体をガスバリアコーティングすることが考えられる。樹脂製の密閉容器には、接点の他に電磁石も収容されるため、コイルとコイル端子とを接続する配線がアークガスに曝されるという問題があった。
本発明の目的は、電磁接触器において、電磁石に接続される配線をアークガスから保護することである。
【課題を解決するための手段】
【0005】
本発明の一態様に係る電磁接触器は、接点と、電磁石と、密閉容器と、を備えている。電磁石は、軸方向に沿って接点を開閉させる。樹脂製の密閉容器は、接点及び電磁石を密閉する。電磁石は、ヨークと、配線と、を備えている。ヨークは、面方向が軸方向に直交して密閉容器を仕切る板状であり、軸方向から見た一辺の中央に切欠が形成されている。配線は、切欠を通り、一端がヨークよりも接点から遠い側でコイルに接続され、他端がヨークよりも接点に近い側で制御回路に接続されている。
【発明の効果】
【0006】
本発明によれば、ヨークがアーク除けとなり、切欠が配線を退避させるための逃がし溝となる。したがって、電磁石に接続される配線をアークガスから保護することができる。
【図面の簡単な説明】
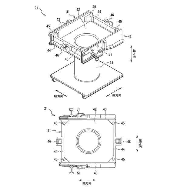
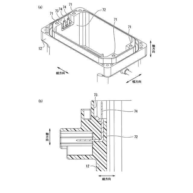
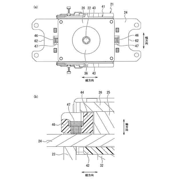
【0007】
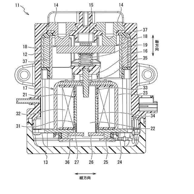
電磁接触器の外観を示す図である。
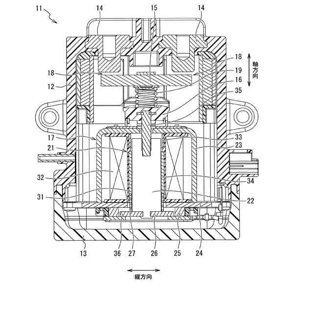
釈放状態にある電磁接触器の断面を示す図である。
投入状態にある電磁接触器の断面を示す図である。
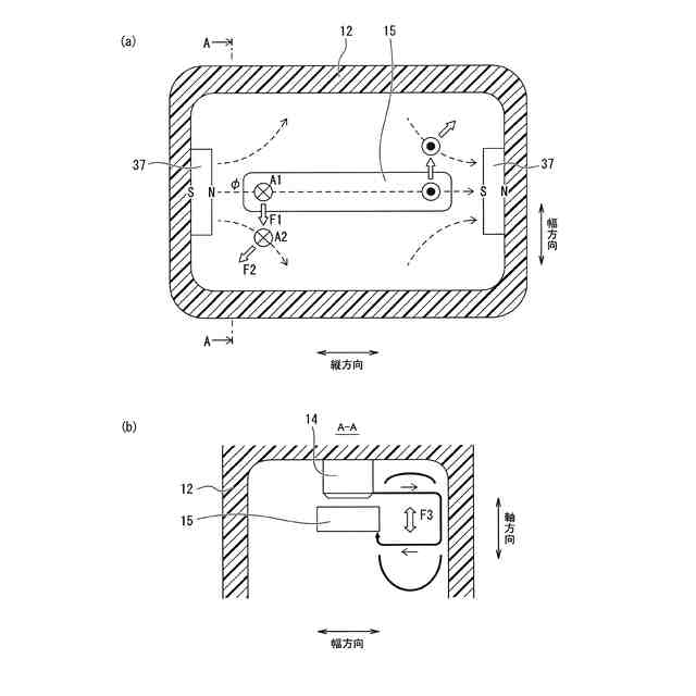
アークの駆動について説明した図である。
スプールを示す図である。
底面ヨーク、永久磁石、補助ヨークを示す図である。
電磁石を示す図である。
幅リブと底面ヨークとを固定した状態を示す図である。
コイル端子を示す図である。
リード線を示す図である。
リード線を接続した状態を示す図である。
比較例を示す図である。
【発明を実施するための形態】
【0008】
以下、本発明の実施形態を図面に基づいて説明する。なお、各図面は模式的なものであって、現実のものとは異なる場合がある。また、以下の実施形態は、本発明の技術的思想を具体化するための装置や方法を例示するものであり、構成を下記のものに特定するものでない。すなわち、本発明の技術的思想は、特許請求の範囲に記載された技術的範囲内において、種々の変更を加えることができる。
【0009】
《実施形態》
《構成》
以下の説明では、互いに直交する三方向を、便宜的に、縦方向、幅方向、及び軸方向とする。
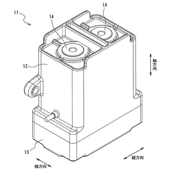
図1は、電磁接触器11の外観を示す図である。
ここでは、電磁接触器11を、縦方向の一方、幅方向の一方、及び軸方向の一方から見た状態を示している。電磁接触器11は、密閉容器として、ケース12と、カバー13と、を備えている。
ケース12は、絶縁性を有する樹脂製であり、縦方向の両側、幅方向の両側、及び軸方向の一方が閉塞され、軸方向の他方が開放された深型の容器状に形成されている。
カバー13は、絶縁性を有する樹脂製であり、縦方向の両側、幅方向の両側、及び軸方向の他方が閉塞され、軸方向の一方が開放された浅型の容器状に形成されている。カバー13は、ケース12における軸方向の他方に嵌め合わされ、例えばバインドタッピングねじによって締結され、密閉されている。
【0010】
ケース12及びカバー13の内部には、水素や窒素等の加圧された遮断用ガスが封入されている。そのため、ケース12とカバー13とをエポキシ系の接着剤で固定し、接着した箇所を含めた外周面の全てが粘土結晶の積層膜によってガスバリアコーティングされている。具体的には、精製したスメクタイトの層間イオンを置換し、PVA(ポリビニルアルコール)や水溶性ナイロン等の有機バインダーでつなぎ合わせることで、迷路効果を発現し、水素や窒素等のガス分子の透過を防いでいる。積層膜は厚み方向に積層されており、厚さは例えば2μmである。ガスバリアコーティングは、例えば塗液をミスト化してケース12及びカバー13に塗布するスプレー方式とし、例えば150℃以上の、層間イオンが粘土結晶内に取り込まれる温度で焼成されることで完成される。
(【0011】以降は省略されています)
この特許をJ-PlatPat(特許庁公式サイト)で参照する
関連特許
富士電機株式会社
搬送機構
29日前
富士電機株式会社
溶接装置
29日前
富士電機株式会社
冷却装置
1か月前
富士電機株式会社
半導体装置
11日前
富士電機株式会社
半導体装置
29日前
富士電機株式会社
回路遮断器
26日前
富士電機株式会社
エンコーダ
26日前
富士電機株式会社
電磁接触器
25日前
富士電機株式会社
電磁接触器
25日前
富士電機株式会社
電磁接触器
25日前
富士電機株式会社
電磁接触器
25日前
富士電機株式会社
電磁接触器
25日前
富士電機株式会社
半導体装置
25日前
富士電機株式会社
自動販売機
5日前
富士電機株式会社
半導体装置
1か月前
富士電機株式会社
半導体装置
1か月前
富士電機株式会社
商品収納装置
21日前
富士電機株式会社
自動販売装置
12日前
富士電機株式会社
飲料抽出装置
今日
富士電機株式会社
ショーケース
21日前
富士電機株式会社
学習システム
7日前
富士電機株式会社
冷却システム
1か月前
富士電機株式会社
金銭処理装置
6日前
富士電機株式会社
半導体モジュール
4日前
富士電機株式会社
ガス処理システム
1日前
富士電機株式会社
電力変換システム
25日前
富士電機株式会社
チャンネルベース
25日前
富士電機株式会社
半導体モジュール
14日前
富士電機株式会社
電力変換システム
29日前
富士電機株式会社
チャンネルベース
25日前
富士電機株式会社
集積回路、電源回路
11日前
富士電機株式会社
エレベータ制御装置
27日前
富士電機株式会社
エレベータ制御装置
27日前
富士電機株式会社
自動販売機の保護装置
1か月前
富士電機株式会社
冷却器及び半導体装置
25日前
富士電機株式会社
店舗情報設定システム
7日前
続きを見る
他の特許を見る