TOP
|
特許
|
意匠
|
商標
特許ウォッチ
Twitter
他の特許を見る
公開番号
2025145979
公報種別
公開特許公報(A)
公開日
2025-10-03
出願番号
2024046525
出願日
2024-03-22
発明の名称
半導体装置
出願人
富士電機株式会社
代理人
弁理士法人扶桑国際特許事務所
主分類
H01L
25/07 20060101AFI20250926BHJP(基本的電気素子)
要約
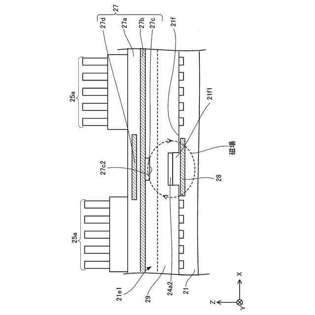
【課題】半導体装置の小型化を妨げずに検出素子が設けられる。
【解決手段】W相出力端子24aは、枠部21の一部からユニット収納部21e1に延伸する配線部24a2と配線部24a2の枠部21の反対側の端部に一体的に接続され、配線板に接続する内部接合部24a1とを含む。検出素子27cは、W相出力端子24aの配線部24a2の上面に隙間を空けて対向して設けられている。さらに、ケース20の上側から設けられ、ユニット収納部21e1を覆う収納蓋27をさらに有している。検出素子27cは、収納蓋27の蓋部材27aの内面27a2に設けられている。
【選択図】図6
特許請求の範囲
【請求項1】
導電板と、
前記導電板の主面が上側を向いて前記導電板を収納する収納領域を取り囲む枠部と、前記枠部に設けられた外部端子とを備え、前記外部端子は、前記枠部の一部から前記収納領域に延伸する配線部と前記配線部の前記枠部の反対側の端部に一体的に接続され、前記導電板に接合する内端部とを含むケースと、
前記外部端子の前記配線部の上面に隙間を空けて対向して設けられた検出素子と、
を含む半導体装置。
続きを表示(約 760 文字)
【請求項2】
前記ケースの上側から設けられ、前記収納領域を覆う収納蓋をさらに有し、
前記検出素子は前記収納蓋に設けられている、
請求項1に記載の半導体装置。
【請求項3】
前記収納蓋は、前記配線部に対向する配線基板を備え、
前記配線基板は前記配線部に対向する側に前記検出素子が設けられている、
請求項2に記載の半導体装置。
【請求項4】
前記配線基板は、前記収納蓋の前記配線部に対向する内面に設けられている、
請求項3に記載の半導体装置。
【請求項5】
前記配線基板は、前記検出素子を露出して前記収納蓋に包含されている、
請求項3に記載の半導体装置。
【請求項6】
前記収納蓋は、前記配線基板を挟んで、前記検出素子に対向する金属により構成された上側遮蔽板を含んでいる、
請求項3に記載の半導体装置。
【請求項7】
前記収納蓋は、前記収納蓋の前記収納領域に対向する内面の反対側の外面に設けられ、前記収納蓋を通って前記配線基板に電気的に接続された検出出力端子を含む、
請求項3に記載の半導体装置。
【請求項8】
前記ケースは、前記配線部を挟んで、前記検出素子に対向する金属により構成された下側遮蔽板を含んでいる、
請求項4に記載の半導体装置。
【請求項9】
前記検出素子は、導電層を含み、前記導電層の主面が前記外部端子の前記配線部の上面に対向している、
請求項1に記載の半導体装置。
【請求項10】
前記検出素子は、磁気抵抗センサである、
請求項9に記載の半導体装置。
(【請求項11】以降は省略されています)
発明の詳細な説明
【技術分野】
【0001】
本発明は、半導体装置に関する。
続きを表示(約 1,200 文字)
【背景技術】
【0002】
半導体装置では、様々な特性を検出するための各種センサを含んでいる(例えば、特許文献1を参照)。例えば、出力される電流を検出するセンサを含んでいる(例えば、特許文献2,3を参照)。
【先行技術文献】
【特許文献】
【0003】
国際公開第2021/151949号
特開2018-121418号公報
特開2017-168721号公報
【発明の概要】
【発明が解決しようとする課題】
【0004】
本発明は、小型化を妨げずに検出素子が設けられた半導体装置を提供することを目的とする。
【課題を解決するための手段】
【0005】
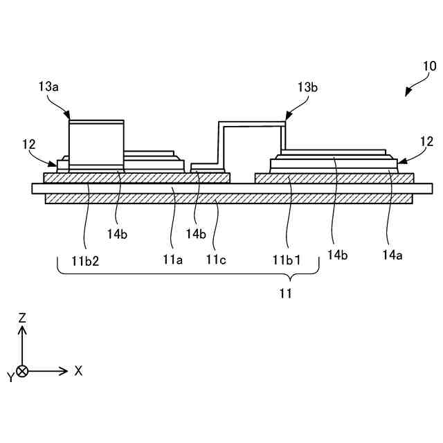
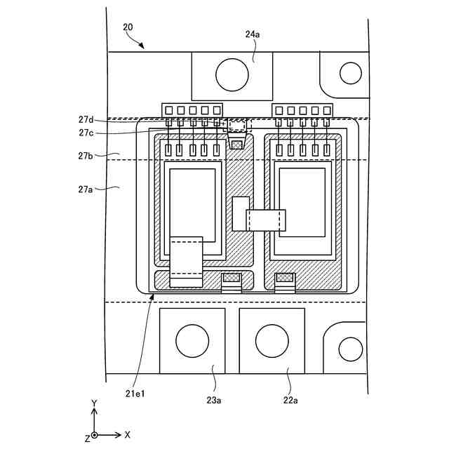
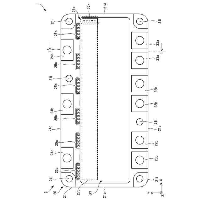
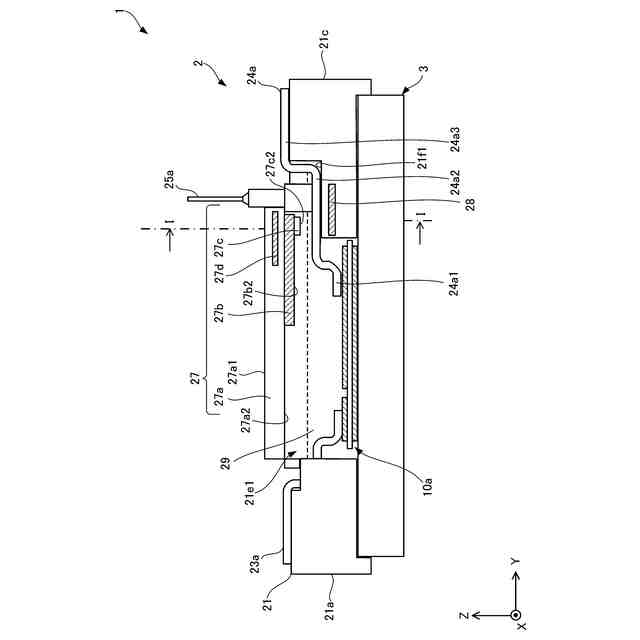
本発明の一観点によれば、導電板と、前記導電板の主面が上側を向いて前記導電板を収納する収納領域を取り囲む枠部と、前記枠部に設けられた外部端子とを備え、前記外部端子は、前記枠部の一部から前記収納領域に延伸する配線部と前記配線部の前記枠部の反対側の端部に一体的に接続され、前記導電板に接合する内端部とを含むケースと、前記外部端子の前記配線部の上面に隙間を空けて対向して設けられた検出素子と、を含む半導体装置を提供する。
【0006】
また、前記ケースの上側から設けられ、前記収納領域を覆う収納蓋をさらに有し、前記検出素子は前記収納蓋に設けられてよい。
また、前記収納蓋は、前記配線部に対向する配線基板を備え、前記配線基板は前記配線部に対向する側に前記検出素子が設けられてよい。
【0007】
また、前記配線基板は、前記収納蓋の前記配線部に対向する内面に設けられてよい。
また、前記配線基板は、前記検出素子を露出して前記収納蓋に包含されてよい。
また、前記収納蓋は、前記配線基板を挟んで、前記検出素子に対向する金属により構成された上側遮蔽板を含んでよい。
【0008】
また、前記収納蓋は、前記収納蓋の前記収納領域に対向する内面の反対側の外面に設けられ、前記収納蓋を通って前記配線基板に電気的に接続された検出出力端子を含んでよい。
【0009】
また、前記ケースは、前記配線部を挟んで、前記検出素子に対向する金属により構成された下側遮蔽板を含んでよい。
また、前記検出素子は、導電層を含み、前記導電層の主面が前記外部端子の前記配線部の上面に対向してよい。
【0010】
また、前記検出素子は、磁気抵抗センサであってよい。
また、前記検出素子は、巨大磁気抵抗センサであってよい。
また、前記収納領域に収納され、前記導電板を上部に含む絶縁回路基板と、前記絶縁回路基板の上部に設けられ、前記導電板に電気的に接続される主電極を含む半導体チップと、をさらに含んでよい。
(【0011】以降は省略されています)
この特許をJ-PlatPat(特許庁公式サイト)で参照する
関連特許
富士電機株式会社
集積回路
8日前
富士電機株式会社
駆動回路
1か月前
富士電機株式会社
冷却装置
8日前
富士電機株式会社
自動販売機
9日前
富士電機株式会社
半導体装置
22日前
富士電機株式会社
電磁接触器
16日前
富士電機株式会社
半導体装置
1日前
富士電機株式会社
半導体装置
9日前
富士電機株式会社
パネル構造
8日前
富士電機株式会社
パネル構造
8日前
富士電機株式会社
硬貨処理装置
1か月前
富士電機株式会社
飲料供給装置
8日前
富士電機株式会社
硬貨処理装置
1か月前
富士電機株式会社
電力変換装置
1日前
富士電機株式会社
紙幣処理装置
1日前
富士電機株式会社
電力変換装置
1日前
富士電機株式会社
半導体モジュール
1か月前
富士電機株式会社
制御装置、制御方法
1日前
富士電機株式会社
制御装置、制御方法
1か月前
富士電機株式会社
エレベータ用制御盤
1日前
富士電機株式会社
自動販売機システム
8日前
富士電機株式会社
自動販売機システム
9日前
富士電機株式会社
セーフリスト管理方法
1か月前
富士電機株式会社
制御回路および電源装置
1か月前
富士電機株式会社
窒化物半導体装置の製造方法
3日前
富士電機株式会社
換気システムおよび冷却装置
1か月前
富士電機株式会社
半導体装置及びその製造方法
16日前
富士電機株式会社
スイッチング制御回路、電源回路
1か月前
富士電機株式会社
鍵管理システムおよび鍵管理方法
3日前
富士電機株式会社
制御システムおよび電力システム
8日前
富士電機株式会社
太陽光発電システム及び制御装置
1日前
富士電機株式会社
予測装置、予測方法及びプログラム
8日前
富士電機株式会社
半導体モジュール、及び、半導体装置
1か月前
富士電機株式会社
運転支援装置、運転支援方法、及びプログラム
2日前
富士電機株式会社
運転支援装置、運転支援方法、及びプログラム
2日前
富士電機株式会社
直流電力供給システムおよび直流電力制御方法
8日前
続きを見る
他の特許を見る