TOP
|
特許
|
意匠
|
商標
特許ウォッチ
Twitter
他の特許を見る
10個以上の画像は省略されています。
公開番号
2025173700
公報種別
公開特許公報(A)
公開日
2025-11-28
出願番号
2024079387
出願日
2024-05-15
発明の名称
制御システムおよび電力システム
出願人
富士電機株式会社
代理人
弁理士法人旺知国際特許事務所
主分類
H02J
3/38 20060101AFI20251120BHJP(電力の発電,変換,配電)
要約
【課題】発電設備と蓄電設備とを利用して合成点に電力を供給する電力システムにおいて発電設備の発電電力を有効に利用する。
【解決手段】制御システム30は、再生可能エネルギーを利用して発電可能な第1発電設備21と、再生可能エネルギーを利用して発電可能な第2発電設備22と、電力の充電および放電が可能な蓄電設備23とにより合成点11に電力を供給する発電システム20を制御するシステムであって、合成点11における出力制限値Lと、第1発電設備21による発電電力の電力値P1と、蓄電設備23における動作制限値Cとに応じて、第1発電設備21と第2発電設備22と蓄電設備23とにより合成点11に供給される合計電力が出力制限値Lを超過しないように、第2発電設備22による発電電力の上限値Zを設定する。
【選択図】図1
特許請求の範囲
【請求項1】
再生可能エネルギーを利用して発電可能な第1発電設備と、
再生可能エネルギーを利用して発電可能な第2発電設備と、
電力の充電および放電が可能な蓄電設備と
により合成点に電力を供給する発電システムを制御するシステムであって、
前記合成点における出力制限値と、前記第1発電設備による発電電力の電力値と、前記蓄電設備における動作制限値とに応じて、前記第1発電設備と前記第2発電設備と前記蓄電設備とにより前記合成点に供給される合計電力が前記出力制限値を超過しないように、前記第2発電設備による発電電力の上限値を設定する設定処理部
を具備する制御システム。
続きを表示(約 800 文字)
【請求項2】
前記設定処理部は、前記出力制限値が第1値である場合における前記上限値が、前記出力制限値が前記第1値を上回る第2値である場合における前記上限値を下回るように、前記上限値を設定する
請求項1の制御システム。
【請求項3】
前記設定処理部は、前記第1発電設備による発電電力の電力値が第1値である場合における前記上限値が、前記第1発電設備による発電電力の電力値が前記第1値を上回る第2値である場合における前記上限値を上回るように、前記上限値を設定する
請求項1の制御システム。
【請求項4】
前記設定処理部は、前記動作制限値が示す充電容量が第1値である場合における前記上限値が、前記充電容量が前記第1値を上回る第2値である場合における前記上限値を下回るように、前記上限値を設定する
請求項1の制御システム。
【請求項5】
前記設定処理部は、前記第1発電設備による発電電力の電力値と、前記蓄電設備における動作制限値とを、前記出力制限値から差引くことで、前記上限値を設定する
請求項1から請求項4の何れかの制御システム。
【請求項6】
合成点に電力を供給する電力システムであって、
再生可能エネルギーを利用して発電可能な第1発電設備と、
再生可能エネルギーを利用して発電可能な第2発電設備と、
電力の充電および放電が可能な蓄電設備と、
前記合成点における出力制限値と、前記第1発電設備による発電電力の電力値と、前記蓄電設備における動作制限値とに応じて、前記第1発電設備と前記第2発電設備と前記蓄電設備とにより前記合成点に供給される合計電力が前記出力制限値を超過しないように、前記第2発電設備による発電電力の上限値を設定する制御システムと
を具備する電力システム。
発明の詳細な説明
【技術分野】
【0001】
本開示は、電力を制御する技術に関する
続きを表示(約 2,000 文字)
【背景技術】
【0002】
例えば太陽光エネルギーまたは風力エネルギー等の再生可能エネルギーを利用して電力系統の合成点(例えば連系点)に電力を供給する各種の技術が従来から提案されている(例えば特許文献1)。
【先行技術文献】
【特許文献】
【0003】
特許第6105138号公報
【発明の概要】
【発明が解決しようとする課題】
【0004】
合成点に対する電力の供給には、発電設備に加えて蓄電設備が利用される。発電設備に加えて蓄電設備を利用して合成点に電力を供給するシステムにおいては、合成点における電力の制限値の範囲内で充分な電力を供給することが要求される。以上の事情を考慮して、本開示のひとつの態様は、発電設備と蓄電設備とを利用して合成点に電力を供給する電力システムにおいて発電設備の発電電力を有効に利用することを目的とする。
【課題を解決するための手段】
【0005】
以上の課題を解決するために、本開示のひとつの態様に係る制御システムは、再生可能エネルギーを利用して発電可能な第1発電設備と、再生可能エネルギーを利用して発電可能な第2発電設備と、電力の充電および放電が可能な蓄電設備とにより合成点に電力を供給する発電システムを制御するシステムであって、前記合成点における出力制限値と、前記第1発電設備による発電電力の電力値と、前記蓄電設備における動作制限値とに応じて、前記第1発電設備と前記第2発電設備と前記蓄電設備とにより前記合成点に供給される合計電力が前記出力制限値を超過しないように、前記第2発電設備による発電電力の上限値を設定する設定処理部を具備する。
【0006】
本開示のひとつの態様に係る電力システムは、合成点に電力を供給する電力システムであって、再生可能エネルギーを利用して発電可能な第1発電設備と、再生可能エネルギーを利用して発電可能な第2発電設備と、電力の充電および放電が可能な蓄電設備と、前記合成点における出力制限値と、前記第1発電設備による発電電力の電力値と、前記蓄電設備における動作制限値とに応じて、前記第1発電設備と前記第2発電設備と前記蓄電設備とにより前記合成点に供給される合計電力が前記出力制限値を超過しないように、前記第2発電設備による発電電力の上限値を設定する制御システムとを具備する。
【図面の簡単な説明】
【0007】
実施形態における電力システムの構成を例示するブロック図である。
制御システムの構成を例示するブロック図である。
制御システムの機能的な構成を例示するブロック図である。
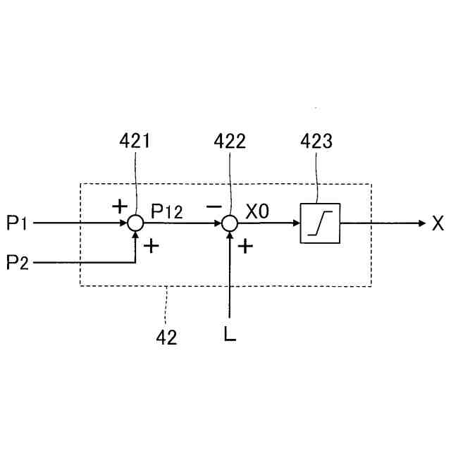
動作制御部の機能に関する説明図である。
設定処理部の機能に関する説明図である。
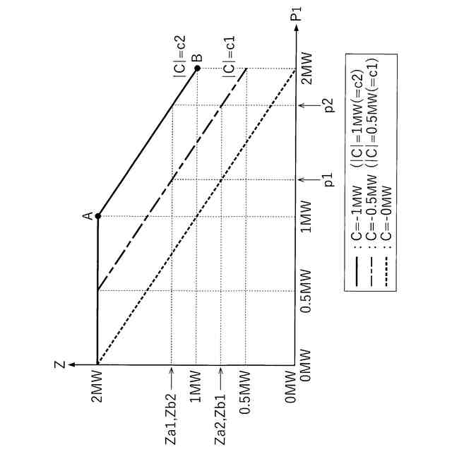
第1電力値と第2電力値と動作制限値との関係を表すグラフである。
出力制限値と発電上限値との関係に関する説明図である。
発電上限値が変化する状況の具体例である。
制御処理の具体的な手順を例示するフローチャートである。
実施形態の効果の説明図である。
実施形態の効果の説明図である。
変形例における動作制御部の機能に関する説明図である。
【発明を実施するための形態】
【0008】
本開示を実施するための形態について図面を参照して説明する。なお、以下に説明する形態は、本開示を実施する場合に想定される例示的な一形態である。したがって、本開示の範囲は、以下に例示する形態には限定されない。
【0009】
A:実施形態
図1は、本開示のひとつの実施形態に係る電力システム100の構成を例示するブロック図である。電力システム100は、電力系統10との間で電力(交流電力)を授受するシステムである。電力系統10は、例えば、火力発電所または原子力発電所等の発電設備(図示略)により生成された電力を、事業設備または一般家庭等の需要家に供給するための配電系統または送電系統である。
【0010】
図1に例示される通り、電力システム100は、発電システム20と制御システム30とを具備する。発電システム20は、電力系統10に対して電力を供給する設備であり、連系点11において電力系統10に接続される。なお、実際には電力システム100と連系点11との間に変圧器等の電力設備が設置されるが、図1においては便宜的に図示が省略されている。制御システム30は、発電システム20による電力の供給を制御するコンピュータシステムである。制御システム30は、例えば専用線等の通信網(図示略)を介して発電システム20と通信可能である。
(【0011】以降は省略されています)
この特許をJ-PlatPat(特許庁公式サイト)で参照する
関連特許
富士電機株式会社
集積回路
1日前
富士電機株式会社
駆動回路
1か月前
富士電機株式会社
冷却装置
1日前
富士電機株式会社
電磁接触器
1か月前
富士電機株式会社
パネル構造
1日前
富士電機株式会社
自動販売機
1か月前
富士電機株式会社
半導体装置
1か月前
富士電機株式会社
半導体装置
15日前
富士電機株式会社
電磁接触器
1か月前
富士電機株式会社
電磁接触器
9日前
富士電機株式会社
電磁接触器
1か月前
富士電機株式会社
電磁接触器
1か月前
富士電機株式会社
半導体装置
2日前
富士電機株式会社
自動販売機
2日前
富士電機株式会社
電磁接触器
1か月前
富士電機株式会社
パネル構造
1日前
富士電機株式会社
半導体装置
1か月前
富士電機株式会社
飲料抽出装置
1か月前
富士電機株式会社
金銭処理装置
1か月前
富士電機株式会社
学習システム
1か月前
富士電機株式会社
自動販売装置
1か月前
富士電機株式会社
ショーケース
1か月前
富士電機株式会社
商品収納装置
1か月前
富士電機株式会社
飲料供給装置
1日前
富士電機株式会社
硬貨処理装置
1か月前
富士電機株式会社
硬貨処理装置
1か月前
富士電機株式会社
半導体モジュール
1か月前
富士電機株式会社
チャンネルベース
1か月前
富士電機株式会社
電力変換システム
1か月前
富士電機株式会社
ガス処理システム
1か月前
富士電機株式会社
チャンネルベース
1か月前
富士電機株式会社
半導体モジュール
1か月前
富士電機株式会社
半導体モジュール
25日前
富士電機株式会社
制御装置、制御方法
1か月前
富士電機株式会社
自動販売機システム
1日前
富士電機株式会社
自動販売機システム
2日前
続きを見る
他の特許を見る