TOP
|
特許
|
意匠
|
商標
特許ウォッチ
Twitter
他の特許を見る
公開番号
2025171719
公報種別
公開特許公報(A)
公開日
2025-11-20
出願番号
2024077348
出願日
2024-05-10
発明の名称
電磁接触器
出願人
富士電機株式会社
代理人
個人
主分類
H01H
50/44 20060101AFI20251113BHJP(基本的電気素子)
要約
【課題】容易かつ確実に組み立てることができる電磁接触器を提供する。
【解決手段】本発明の一様態に関わる電磁接触器は、固定接点を有する固定端子と、固定接点に接離する可動接点を有する可動接触子と、可動接触子を連結軸を介して駆動する電磁石6と、を備え、電磁石6は、中央に空芯部を有する胴体部と、胴体部の両端に外側に突出したフランジ部と、一方のフランジ部から反胴体部側に突出した鍔部と、を備えたスプール25と、胴体部に巻き付けられたコイル26と、コイル26の引出線26aを絡げるからげ端子30と、空芯部と連通する貫通孔23d、が形成されコイル26を囲むように配置されたヨーク23、24と、を備え、からげ端子30は1つ以上の係合孔を有し、鍔部は係合孔と係合する突起である第1位置決め部と、からげ端子30の端部と接触する突起である第2位置決め部を備えている。
【選択図】図4
特許請求の範囲
【請求項1】
固定接点を有する固定端子と、
前記固定接点に接離する可動接点を有する可動接触子と、
前記可動接触子を連結軸を介して駆動する電磁石と、を備え、
前記電磁石は、
中央に空芯部を有する胴体部と、前記胴体部の両端に外側に突出したフランジ部と、一方の前記フランジ部から反胴体部側に突出した鍔部と、を備えたスプールと、
前記胴体部に巻き付けられたコイルと、
前記コイルの引出線を絡げるからげ端子と、
前記空芯部と連通する貫通孔が形成され、コイルを囲むように配置されたヨークと、を備え、
前記からげ端子は1つ以上の係合孔を有し、前記鍔部は前記係合孔と係合する突起である第1位置決め部と、前記からげ端子の端部と接触する突起である第2位置決め部を有することを特徴とする電磁接触器。
続きを表示(約 1,000 文字)
【請求項2】
前記一方のフランジ部は、前記胴体部の両端のうち、前記可動接点及び前記固定接点とは反対側に形成されていることを特徴とする請求項1に記載の電磁接触器。
【請求項3】
前記からげ端子の前記係合孔と前記鍔部の前記第1位置決め部とは熱カシメによって接合されることを特徴とする請求項1または2に記載の電磁接触器。
【請求項4】
前記第2位置決め部と接触する前記からげ端子の端部はR加工されていることを特徴とする請求項1ないし3のいずれか1項に記載の電磁接触器。
【請求項5】
前記からげ端子は、前記鍔部に固定する固定部と、前記固定部から前記胴体部側に突出して形成され、前記引出線を巻き付けられる引出線からげ部と、を有し、前記引出線からげ部は前記固定部よりも幅が小さいことを特徴とする請求項1ないし3のいずれか1項に記載の電磁接触器。
【請求項6】
前記引出線からげ部は円柱状であり、少なくとも一方の端部に引出線の抜け止め部をさらに備えていることを特徴とする請求項4に記載の電磁接触器。
【請求項7】
前記一方のフランジ部は前記引出線をからげ端子へ案内するガイド溝を備えていることを特徴とする請求項1ないし3のいずれか1項に記載の電磁接触器。
【請求項8】
前記一方のフランジ部は、前記ガイド溝と隣接しフランジ部の端部の延長線上に突出して形成される第1引出線保持部と、前記ガイド溝に向けて傾斜して前記第1引出線保持部と対向するまで延在する第2引出線保持部と、をさらに備えていることを特徴とする請求項7に記載の電磁接触器。
【請求項9】
前記からげ端子は電線接続部をさらに備え、前記電線接続部には可撓性を有し、外周が絶縁部材で覆われている電線の一端が接続され、前記電線の他端は電源を接続するコイル端子が接続されていることを特徴とする請求項1ないし8のいずれか1項に記載の電磁接触器。
【請求項10】
前記ヨークは、前記スプールの前記一方側に開口部を有するコ字状の第1ヨークと、前記上ヨークの開口部に接合された平板状の第2ヨークとからなり、前記下ヨークの両端は切欠部を有し、前記からげ端子は前記第2ヨークよりも前記一方側に配置され、前記コイル端子は前記第2ヨークよりも前記一方側とは他方側に配置され、前記電線は前記切欠部の内側を通って前記からげ端子と前記コイル端子を接続することを特徴とする請求項9に記載の電磁接触器。
発明の詳細な説明
【技術分野】
【0001】
本発明は、電流路の開閉を行う電磁接触器に関する。
続きを表示(約 1,900 文字)
【背景技術】
【0002】
従来、電磁石で駆動軸を駆動し、接点を接離する電磁接触器において、例えば、特許文献1には、ケースにカバーを組み付けて形成したハウジング内に収納された、セラミックプレート、金属製筒状フランジ、板状第1ヨーク及び有底筒体からなる消弧ガス密封空間内に組み込まれた接点機構部と、この接点機構部を密閉空間外から駆動する電磁石部と、が開示されている。
ここで、特許文献1に記載されている電磁石部は、コイルを巻回したスプールの鍔部に溝部を設け、この溝部にコイルからげ部を有するコイル端子を圧入し、固定している。
【先行技術文献】
【特許文献】
【0003】
WO2011/115054
【発明の概要】
【発明が解決しようとする課題】
【0004】
ところで、特許文献1に開示されているような従来の電磁石は、スプールの鍔部にコイルからげ部を有するコイル端子を圧入する際に、薄板状の金属部材のコイル端子が変形しないように注意しながら組み立てる必要があり、組立性に問題があった。 そこで、本発明の課題は、からげ部を有する端子をスプールに容易かつ確実に組み立てることができる電磁接触器を提供することにある。
【課題を解決するための手段】
【0005】
上記課題を解決するために、本発明の一様態に関わる電磁接触器は、固定接点を有する固定端子と、固定接点に接離する可動接点を有する可動接触子と、可動接触子を連結軸を介して駆動する電磁石と、を備え、電磁石は、中央に空芯部を有する胴体部と、胴体部の両端に外側に突出したフランジ部と、一方のフランジ部から反胴体部側に突出した鍔部と、を備えたスプールと、胴体部に巻き付けられたコイルと、コイルの引出線を絡げるからげ端子と、空芯部と連通する貫通孔が形成されコイルを囲むように配置されたヨークと、を備え、からげ端子は1つ以上の係合孔を有し、鍔部は係合孔と係合する突起である第1位置決め部と、からげ端子の端部と接触する突起である第2位置決め部を備えている。
【発明の効果】
【0006】
本発明の実施形態によれば、からげ部を有する端子をスプールに容易でかつ確実に組み立てることができる電磁接触器を提供することができる。
【図面の簡単な説明】
【0007】
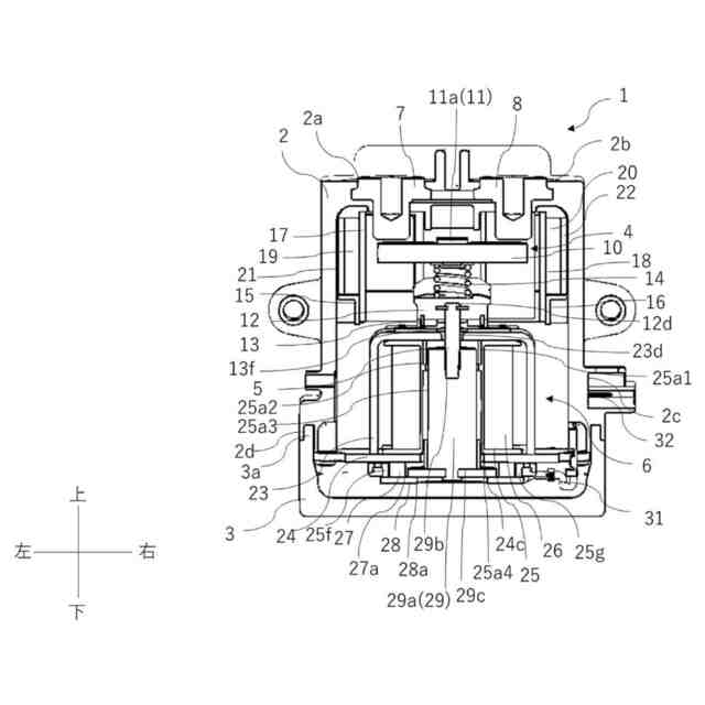
本実施形態の電磁接触器の構造を示す外観斜視図である。
本実施形態の電磁接触器の構造を示すA-A矢視断面図である。
本実施形態の電磁接触器の接点機構の構造を示す斜視図である。
本実施形態の電磁接触器の電磁石の構造を示す斜視図である。
本実施形態の電磁接触器のスプールの構造を示す斜視図である。
本実施形態の電磁接触器のからげ端子の構造を示す斜視図である。
本実施形態の電磁接触器のコイル端子の構造を示す斜視図である。
【発明を実施するための形態】
【0008】
以下、図1~図7に基づいて本発明の実施形態を説明する。以下の説明において、同一又は類似の部分には、同一又は類似の符号を付している。また、上下、左右、前後の各方向は、図2における上下、左右、前後の各方向を意味するものとする。上下方向とは、固定接点及び可動接点が接離する方向である。左右方向とは、2つの可動接点が並設されている方向である。前後方向とは、上下方向及び左右方向と直交する方向である。ただし、これらの方向は、説明の便宜上定義されるものであって、電磁接触器の配置方向を限定するものではない。
【0009】
図1は、本実施形態の電磁接触器1の構造を示す外観斜視図である。図2は、図1におけるA-A矢視図であり、本実施形態の電磁接触器1の構造を示す断面図である。
図1~図2に示すように、電磁接触器1は、第1ケース2と、第2ケース3とを組合せることで箱状の筐体を形成し、第1ケース2及び第2ケースの内部に接点機構4と、連結軸5と、電磁石6とが配置されている。
第1ケース2及び第2ケース3は樹脂製である。第1ケース2は下側に開口部を有する角型の有底筒状の部材であり、第2ケース3は上側に開口部を有する角型の有底筒状の部材である。
【0010】
第1ケース2の上部には左右方向に並んで貫通孔2a、2bが形成されており、右側の側面下部には貫通孔2cが形成されている。第1ケース2の開口部の端部には全周に亘って凹部2dが形成され、第2ケース3の端部には全周に亘って凹部2dに嵌合する凸部3aが形成されている。
(【0011】以降は省略されています)
この特許をJ-PlatPat(特許庁公式サイト)で参照する
関連特許
富士電機株式会社
駆動回路
1か月前
富士電機株式会社
集積回路
13日前
富士電機株式会社
冷却装置
13日前
富士電機株式会社
自動販売機
14日前
富士電機株式会社
電磁接触器
21日前
富士電機株式会社
パネル構造
13日前
富士電機株式会社
自動販売機
1か月前
富士電機株式会社
パネル構造
13日前
富士電機株式会社
半導体装置
27日前
富士電機株式会社
半導体装置
6日前
富士電機株式会社
半導体装置
1か月前
富士電機株式会社
半導体装置
14日前
富士電機株式会社
硬貨処理装置
1か月前
富士電機株式会社
ショーケース
2か月前
富士電機株式会社
硬貨処理装置
1か月前
富士電機株式会社
学習システム
1か月前
富士電機株式会社
電力変換装置
6日前
富士電機株式会社
収納搬出装置
今日
富士電機株式会社
飲料供給装置
13日前
富士電機株式会社
電力変換装置
6日前
富士電機株式会社
紙幣処理装置
6日前
富士電機株式会社
飲料抽出装置
1か月前
富士電機株式会社
自動販売装置
1か月前
富士電機株式会社
基板加工装置
1日前
富士電機株式会社
金銭処理装置
1か月前
富士電機株式会社
ガス処理システム
1か月前
富士電機株式会社
半導体モジュール
1日前
富士電機株式会社
半導体モジュール
1か月前
富士電機株式会社
半導体モジュール
1か月前
富士電機株式会社
半導体モジュール
1か月前
富士電機株式会社
自動販売機システム
13日前
富士電機株式会社
自動販売機システム
14日前
富士電機株式会社
集積回路、電源回路
1か月前
富士電機株式会社
制御装置、制御方法
1か月前
富士電機株式会社
エレベータ用制御盤
6日前
富士電機株式会社
制御装置、制御方法
6日前
続きを見る
他の特許を見る