TOP
|
特許
|
意匠
|
商標
特許ウォッチ
Twitter
他の特許を見る
10個以上の画像は省略されています。
公開番号
2025177263
公報種別
公開特許公報(A)
公開日
2025-12-05
出願番号
2024083915
出願日
2024-05-23
発明の名称
エレベータ用制御盤
出願人
富士電機株式会社
代理人
個人
,
個人
主分類
B66B
1/34 20060101AFI20251128BHJP(巻上装置;揚重装置;牽引装置)
要約
【課題】設置環境ごとに必要となる筐体の構造を設計するための手間および時間を低減することが可能なエレベータ用制御盤を提供する。
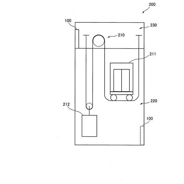
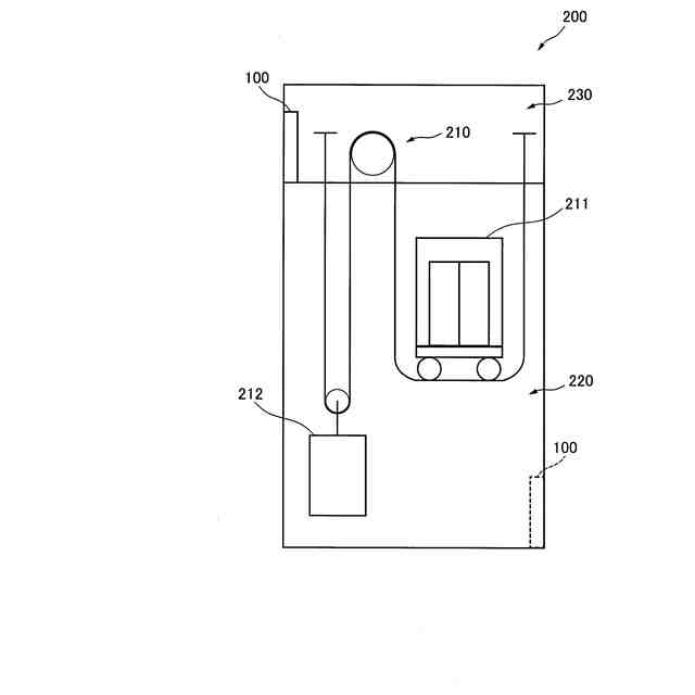
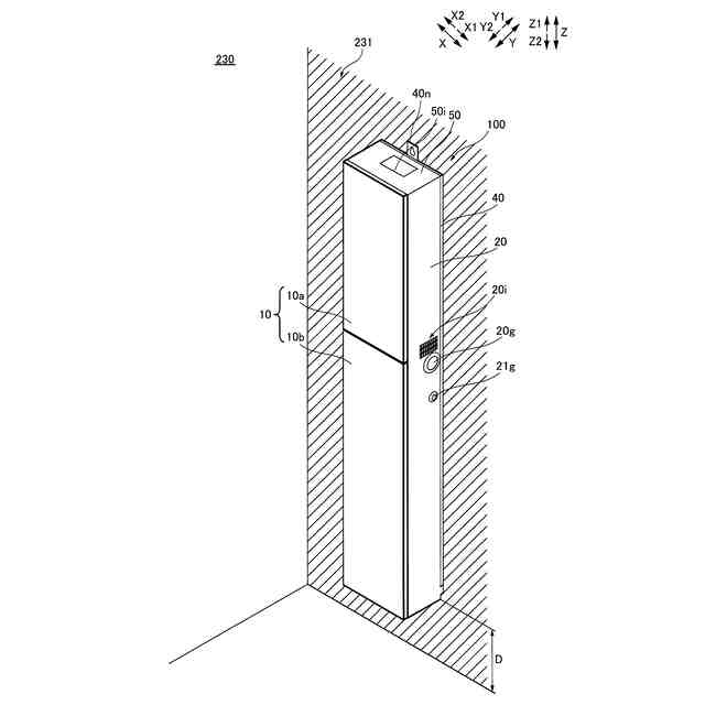
【解決手段】この制御盤100は、少なくとも昇降路220と機械室230とに設置されるエレベータ用制御盤であって、制御機器90を内部に配置する筐体を備え、筐体は、機械室230において、筐体の内部を冷却できる量の空気を導入可能な面積を有する右側面吸気口20iおよび左側面吸気口30iと、昇降路220において、筐体の内部を冷却できる量の空気を導入可能な面積を有する背面吸気口40iとを含む。
【選択図】図1
特許請求の範囲
【請求項1】
内部にエレベータの動作を制御する制御機器が配置され、少なくとも第1の設置環境と第2の設置環境とに設置されるエレベータ用制御盤であって、
前記制御機器を内部に配置する筐体を備え、
前記筐体は、前記第1の設置環境において、前記筐体の内部を冷却できる量の空気を導入可能な面積を有する第1吸気部と、前記第2の設置環境において、前記筐体の内部を冷却できる量の空気を導入可能な面積を有する第2吸気部とを含む、エレベータ用制御盤。
続きを表示(約 1,000 文字)
【請求項2】
前記筐体は、前記第1吸気部および前記第2吸気部のうちの少なくとも一方から導入された空気が流れる通風路を含み、
前記第1吸気部の有する面積、および、前記第2吸気部の有する面積は、前記通風路の断面が有する面積以上である、請求項1に記載のエレベータ用制御盤。
【請求項3】
前記筐体は、鉛直方向に長い直方体形状を有し、
前記第1吸気部および前記第2吸気部は、鉛直方向に延びる前記筐体の側面、前面および背面のうちの互いに異なる面に設けられている、請求項1に記載のエレベータ用制御盤。
【請求項4】
前記筐体は、前記筐体の天面に設けられ、前記筐体の外部に空気を排出する第1排気口を含むとともに、前記第1排気口を覆うように配置されることにより、前記第1排気口から排出された空気の流れる方向を変更する風洞部を含む、請求項1に記載のエレベータ用制御盤。
【請求項5】
前記風洞部は、前記第1排気口から排出された空気を排出する第2排気口を前記風洞部の背面および側面に設けるとともに、前記風洞部の天面に前記第2排気口を設けない、請求項4に記載のエレベータ用制御盤。
【請求項6】
前記筐体は、前記筐体の天面に設けられ、前記筐体の外部に空気を排出する第1排気口を含み、
前記制御機器は、鉛直方向の上方に冷却ファンを備えるインバータユニットを含み、
前記第1吸気部および前記第2吸気部は、鉛直方向において、前記インバータユニットの下方の位置に設けられている、請求項1に記載のエレベータ用制御盤。
【請求項7】
前記制御機器は、バッテリをさらに備え、
前記バッテリは、鉛直方向において、前記第1吸気部および前記第2吸気部の下方の位置に配置されている、請求項6に記載のエレベータ用制御盤。
【請求項8】
前記制御機器は、冷却フィンを有するインバータユニットを含み、
前記通風路の断面が有する面積は、前記冷却フィンの通風面積である、請求項2に記載のエレベータ用制御盤。
【請求項9】
前記第1の設置環境は、エレベータの昇降路内、および、エレベータの昇降路とは別に設置された機械室内のうちのいずれか一方であり、前記第2の設置環境は、エレベータの昇降路内、および、エレベータの昇降路とは別に設置された機械室内のうちのいずれか他方である、請求項1に記載のエレベータ用制御盤。
発明の詳細な説明
【技術分野】
【0001】
この発明は、エレベータ用制御盤に関し、特に、吸気口から導入された空気により内部を冷却するエレベータ用制御盤に関する。
続きを表示(約 1,800 文字)
【背景技術】
【0002】
従来、吸気口から導入された空気により内部を冷却するエレベータ用制御盤が知られている(たとえば、特許文献1参照)。
【0003】
上記特許文献1には、エレベータ装置の駆動モータ、および、エレベータ装置を構成する各機器の管理を行う制御盤が開示されている。上記特許文献1の制御盤は、吸気口を通じて外部の空気を取り込み、排気口から排出することによって、強制空冷機器および自然冷却機器(制御機器)を冷却する冷却流路を形成する。そして、上記特許文献1の制御盤は、エレベータ装置の昇降路の内部、または、昇降路とは別に設置された機械室の内部に配置される。
【先行技術文献】
【特許文献】
【0004】
国際公開第2017/141311号
【発明の概要】
【発明が解決しようとする課題】
【0005】
しかしながら、上記特許文献1に記載の制御盤は、昇降路の内部に配置されるか、または、機械室の内部に配置されるかによって、吸排気口の位置、および、据付方法などを異ならせる必要がある場合がある。つまり、上記特許文献1に記載の制御盤では、設置環境ごとに筐体の構造を個別に設計するための手間および時間が必要となる場合がある。ここで、設置環境ごとに必要となる筐体の構造を個別に設計するための手間および時間は、生産性を低下させる。そのため、設置環境ごとに必要となる筐体の構造を設計するための手間および時間を低減することが可能な制御盤(エレベータ用制御盤)が望まれている。
【0006】
この発明は、上記のような課題を解決するためになされたものであり、この発明の1つの目的は、設置環境ごとに必要となる筐体の構造を設計するための手間および時間を低減することが可能なエレベータ用制御盤を提供することである。
【課題を解決するための手段】
【0007】
上記目的を達成するために、この発明の一の局面によるエレベータ用制御盤は、内部にエレベータの動作を制御する制御機器が配置され、少なくとも第1の設置環境と第2の設置環境とに設置されるエレベータ用制御盤であって、制御機器を内部に配置する筐体を備え、筐体は、第1の設置環境において、筐体の内部を冷却できる量の空気を導入可能な面積を有する第1吸気部と、第2の設置環境において、筐体の内部を冷却できる量の空気を導入可能な面積を有する第2吸気部とを含む。
【0008】
この一の局面によるエレベータ用制御盤では、上記のように、筐体は、第1の設置環境において、筐体の内部を冷却できる量の空気を導入可能な面積を有する第1吸気部と、第2の設置環境において、筐体の内部を冷却できる量の空気を導入可能な面積を有する第2吸気部とを含む。これにより、少なくとも第1の設置環境および第2の設置環境の互いに異なる少なくとも2つの設置環境ごとに吸気口の位置を変更(個別に設計)する必要が無くなる。その結果、設置環境ごとに必要となる筐体の構造を設計するための手間および時間を低減することができる。
【0009】
上記一の局面によるエレベータ用制御盤において、好ましくは、筐体は、第1吸気部および第2吸気部のうちの少なくとも一方から導入された空気が流れる通風路を含み、第1吸気部の有する面積、および、第2吸気部の有する面積は、通風路の断面が有する面積以上である。このように構成すれば、第1吸気部と第2吸気部とが比較的大きな面積を有することができるので、設置環境に依らず、制御機器を十分に冷却できる量の空気を容易に導入することができる。
【0010】
上記一の局面によるエレベータ用制御盤において、好ましくは、筐体は、鉛直方向に長い直方体形状を有し、第1吸気部および第2吸気部は、鉛直方向に延びる筐体の側面、前面および背面のうちの互いに異なる面に設けられている。このように構成すれば、筐体の中で比較的大きい面積を有する側面、前面および背面を構成する部材を設計するための手間および時間を低減することができる。また、筐体の構成部品の種類を減少させることができるので、生産性を向上させることができる。
(【0011】以降は省略されています)
この特許をJ-PlatPat(特許庁公式サイト)で参照する
関連特許
富士電機株式会社
搬送機構
2か月前
富士電機株式会社
冷却装置
7日前
富士電機株式会社
溶接装置
2か月前
富士電機株式会社
駆動回路
1か月前
富士電機株式会社
冷却装置
2か月前
富士電機株式会社
集積回路
7日前
富士電機株式会社
半導体装置
1か月前
富士電機株式会社
回路遮断器
2か月前
富士電機株式会社
電磁接触器
15日前
富士電機株式会社
半導体装置
21日前
富士電機株式会社
自動販売機
1か月前
富士電機株式会社
半導体装置
2か月前
富士電機株式会社
自動販売機
8日前
富士電機株式会社
電磁接触器
2か月前
富士電機株式会社
電磁接触器
2か月前
富士電機株式会社
電磁接触器
2か月前
富士電機株式会社
電磁接触器
2か月前
富士電機株式会社
電磁接触器
2か月前
富士電機株式会社
半導体装置
8日前
富士電機株式会社
エンコーダ
2か月前
富士電機株式会社
パネル構造
7日前
富士電機株式会社
半導体装置
2か月前
富士電機株式会社
半導体装置
今日
富士電機株式会社
パネル構造
7日前
富士電機株式会社
紙幣処理装置
今日
富士電機株式会社
硬貨処理装置
1か月前
富士電機株式会社
硬貨処理装置
1か月前
富士電機株式会社
自動販売装置
1か月前
富士電機株式会社
電力変換装置
今日
富士電機株式会社
電力変換装置
今日
富士電機株式会社
金銭処理装置
1か月前
富士電機株式会社
飲料抽出装置
1か月前
富士電機株式会社
ショーケース
1か月前
富士電機株式会社
商品収納装置
1か月前
富士電機株式会社
学習システム
1か月前
富士電機株式会社
飲料供給装置
7日前
続きを見る
他の特許を見る