TOP
|
特許
|
意匠
|
商標
特許ウォッチ
Twitter
他の特許を見る
公開番号
2025177237
公報種別
公開特許公報(A)
公開日
2025-12-05
出願番号
2024083876
出願日
2024-05-23
発明の名称
紙幣処理装置
出願人
富士電機株式会社
代理人
弁理士法人酒井国際特許事務所
主分類
G07D
11/125 20190101AFI20251128BHJP(チェック装置)
要約
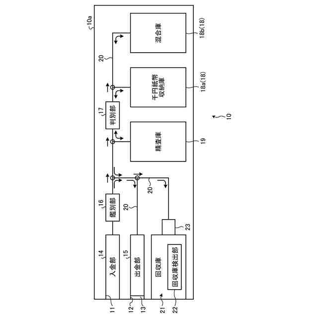
【課題】回収庫検出部による誤検出により違算障害の発生を防止すること。
【解決手段】金銭処理制御部2からの指示に応じて、収納庫18に収納する紙幣を回収庫21に搬送するユニット制御部30と、収納庫18から搬送される紙幣の金種及び姿勢を判別する判別部17と、判別部17で判別されて回収庫21に向けて通過する紙幣の有無を検出する回収庫通過検出部23と、回収庫21における紙幣の有無を検出する回収庫検出部22とを備えた紙幣処理装置10であって、ユニット制御部30は、判別部17により回収庫検出部22で誤検出するおそれのある特定姿勢で搬送される特定金種の紙幣が判別された場合に、該紙幣が回収庫通過検出部23で検出されたことを条件としてフラグを設定し、回収庫検出部22での検出結果に関わらず金銭処理制御部2に対して紙幣有り情報を送出する。
【選択図】図1
特許請求の範囲
【請求項1】
上位制御部からの指示に応じて、収納庫に収納する紙幣を回収庫に搬送するユニット制御部と、
前記収納庫から搬送される紙幣の金種及び姿勢を判別する判別部と、
前記判別部で判別されて前記回収庫に向けて通過する紙幣の有無を検出する回収庫通過検出部と、
前記回収庫における紙幣の有無を検出する回収庫検出部と
を備えた紙幣処理装置であって、
前記ユニット制御部は、前記判別部により前記回収庫検出部で誤検出するおそれのある特定姿勢で搬送される特定金種の紙幣が判別された場合に、該紙幣が前記回収庫通過検出部で検出されたことを条件としてフラグを設定し、前記回収庫検出部での検出結果に関わらず前記上位制御部に対して紙幣有り情報を送出することを特徴とする紙幣処理装置。
続きを表示(約 280 文字)
【請求項2】
前記ユニット制御部は、前記判別部により前記特定姿勢以外の姿勢で搬送される紙幣が判別された場合に、前記フラグを未設定にすることを特徴とする請求項1に記載の紙幣処理装置。
【請求項3】
前記ユニット制御部は、前記回収庫が紙幣処理装置本体から取り外された場合に、前記フラグを未設定にすることを特徴とする請求項1に記載の紙幣処理装置。
【請求項4】
前記ユニット制御部は、前記上位制御部との通信において、フラグの設定情報を該上位制御部に送出することを特徴とする請求項1~3のいずれか1つに記載の紙幣処理装置。
発明の詳細な説明
【技術分野】
【0001】
本発明は、紙幣処理装置に関するものである。
続きを表示(約 1,300 文字)
【背景技術】
【0002】
従来、例えば自動釣銭機等の金銭処理機に適用される紙幣処理装置が特許文献1に提案されている。かかる紙幣処理装置では、装置本体に対して回収庫が着脱可能に設けられており、回収指示が与えられた場合に、収納済みの紙幣を回収庫に搬送して回収するようにしている。
【先行技術文献】
【特許文献】
【0003】
特開2022-171617号公報
【発明の概要】
【発明が解決しようとする課題】
【0004】
上記紙幣処理装置においては、回収庫に紙幣の有無を検出する回収庫検出部が設けられている。この回収庫検出部は光センサにより構成されており、発光要素で発せられた光を受光要素で受光した場合に紙幣無しと検出する一方、発光要素で発せられた光を受光要素で受光できない場合に紙幣有りと検出するものである。
【0005】
ところで、近年、紙幣においても例えばホログラム等の感光材料が塗布されたものが知られており、そのような感光材料が塗布された紙幣が回収庫に回収された場合、発光要素から発せられた光が感光材料で反射して受光要素で受光し、紙幣が回収庫に回収されているにもかかわらず紙幣無しと誤検出してしまうことで、違算障害が発生するおそれがあった。
【0006】
本発明は、上記実情に鑑みて、回収庫検出部による誤検出により違算障害の発生を防止することができる紙幣処理装置を提供することを目的とする。
【課題を解決するための手段】
【0007】
上述した目的を達成するために、本発明に係る紙幣処理装置は、上位制御部からの指示に応じて、収納庫に収納する紙幣を回収庫に搬送するユニット制御部と、前記収納庫から搬送される紙幣の金種及び姿勢を判別する判別部と、前記判別部で判別されて前記回収庫に向けて通過する紙幣の有無を検出する回収庫通過検出部と、前記回収庫における紙幣の有無を検出する回収庫検出部とを備えた紙幣処理装置であって、前記ユニット制御部は、前記判別部により前記回収庫検出部で誤検出するおそれのある特定姿勢で搬送される特定金種の紙幣が判別された場合に、該紙幣が前記回収庫通過検出部で検出されたことを条件としてフラグを設定し、前記回収庫検出部での検出結果に関わらず前記上位制御部に対して紙幣有り情報を送出することを特徴とする。
【0008】
また本発明は、上記紙幣処理装置において、前記ユニット制御部は、前記判別部により前記特定姿勢以外の姿勢で搬送される紙幣が判別された場合に、前記フラグを未設定にすることを特徴とする。
【0009】
また本発明は、上記紙幣処理装置において、前記ユニット制御部は、前記回収庫が紙幣処理装置本体から取り外された場合に、前記フラグを未設定にすることを特徴とする。
【0010】
また本発明は、上記紙幣処理装置において、前記ユニット制御部は、前記上位制御部との通信において、フラグの設定情報を該上位制御部に送出することを特徴とする。
【発明の効果】
(【0011】以降は省略されています)
この特許をJ-PlatPat(特許庁公式サイト)で参照する
関連特許
富士電機株式会社
冷却装置
7日前
富士電機株式会社
集積回路
7日前
富士電機株式会社
駆動回路
1か月前
富士電機株式会社
パネル構造
7日前
富士電機株式会社
半導体装置
8日前
富士電機株式会社
自動販売機
8日前
富士電機株式会社
電磁接触器
2か月前
富士電機株式会社
半導体装置
21日前
富士電機株式会社
電磁接触器
2か月前
富士電機株式会社
電磁接触器
2か月前
富士電機株式会社
パネル構造
7日前
富士電機株式会社
電磁接触器
15日前
富士電機株式会社
電磁接触器
2か月前
富士電機株式会社
半導体装置
2か月前
富士電機株式会社
半導体装置
1か月前
富士電機株式会社
半導体装置
今日
富士電機株式会社
自動販売機
1か月前
富士電機株式会社
電磁接触器
2か月前
富士電機株式会社
自動販売装置
1か月前
富士電機株式会社
ショーケース
1か月前
富士電機株式会社
硬貨処理装置
1か月前
富士電機株式会社
商品収納装置
1か月前
富士電機株式会社
学習システム
1か月前
富士電機株式会社
飲料抽出装置
1か月前
富士電機株式会社
金銭処理装置
1か月前
富士電機株式会社
硬貨処理装置
1か月前
富士電機株式会社
紙幣処理装置
今日
富士電機株式会社
電力変換装置
今日
富士電機株式会社
飲料供給装置
7日前
富士電機株式会社
電力変換装置
今日
富士電機株式会社
半導体モジュール
1か月前
富士電機株式会社
半導体モジュール
1か月前
富士電機株式会社
チャンネルベース
2か月前
富士電機株式会社
ガス処理システム
1か月前
富士電機株式会社
半導体モジュール
1か月前
富士電機株式会社
チャンネルベース
2か月前
続きを見る
他の特許を見る