TOP
|
特許
|
意匠
|
商標
特許ウォッチ
Twitter
他の特許を見る
10個以上の画像は省略されています。
公開番号
2025181273
公報種別
公開特許公報(A)
公開日
2025-12-11
出願番号
2024089154
出願日
2024-05-31
発明の名称
収納搬出装置
出願人
富士電機株式会社
代理人
個人
,
個人
主分類
G07F
11/00 20060101AFI20251204BHJP(チェック装置)
要約
【課題】コラムに配置される商品数を増加させることが可能な収納搬出装置を提供する。
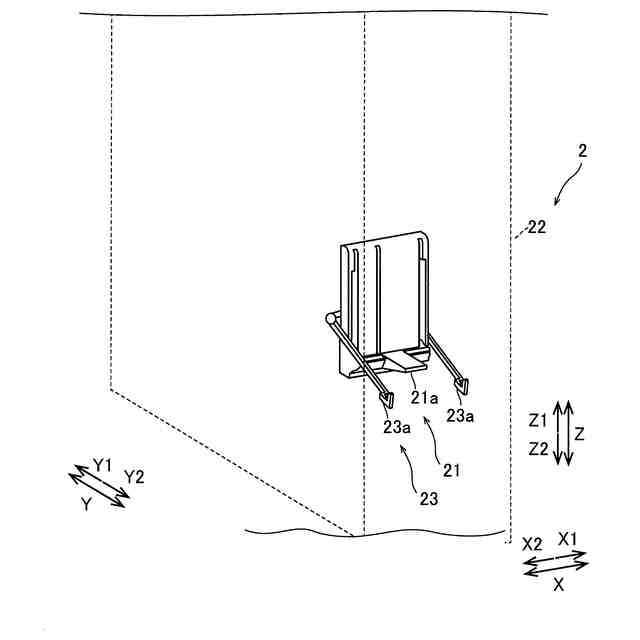
【解決手段】この収納搬出装置100では、複数の商品50の前後方向に対向する面を互いに接触させた状態で複数の商品50が前後方向に並べて配置されるコラム11を複数含む商品収納部1と、コラム11の最前部に配置された商品50を取り出す取出し部21を含み、商品50を搬出する搬出部2と、を備える。
【選択図】図1
特許請求の範囲
【請求項1】
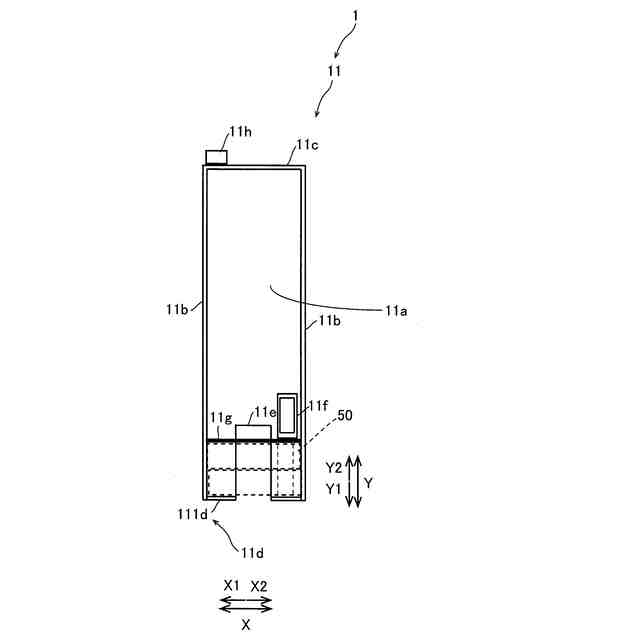
複数の商品の前後方向に対向する面を互いに接触させた状態で前記複数の商品が前後方向に並べて配置されるコラムを複数含む商品収納部と、
前記コラムの最前部に配置された商品を取り出す取出し部を含む、前記商品を搬出する搬出部と、を備える、収納搬出装置。
続きを表示(約 880 文字)
【請求項2】
前記取出し部は、前記コラムの最前部に配置された前記商品を上方に移動させて取り出すように構成されている、請求項1に記載の収納搬出装置。
【請求項3】
前記コラムは、底面の最前部側に開口部が形成されており、
前記取出し部は、前記開口部を介して最前部の前記商品を上方に移動させて取り出すように構成されている、請求項2に記載の収納搬出装置。
【請求項4】
前記開口部は、上下方向から見て、前方から後方に向かって窪む凹部を含む、請求項3に記載の収納搬出装置。
【請求項5】
前記取出し部は、前記開口部を介して前記コラムに配置された最前部の前記商品の下面に当接するとともに、前記商品を上方に移動させる第1爪部を有する、請求項3に記載の収納搬出装置。
【請求項6】
前記搬出部は、前記取出し部が設けられるとともに、取り出された商品を収容するバケットを含む、請求項1に記載の収納搬出装置。
【請求項7】
前記搬出部は、取出し対象の前記商品が配置された前記コラムを前方に引き出す引き出し部を含み、
前記取出し部は、前記引き出し部により引き出された前記コラムの最前部に配置された前記商品を取り出すように構成されている、請求項1に記載の収納搬出装置。
【請求項8】
前記引き出し部の前記コラムを引き出す引き出し量は、前記コラムの幅よりも小さい、請求項7に記載の収納搬出装置。
【請求項9】
前記引き出し部は、前記コラムの下面に当接するとともに、前記コラムの下面に当接した状態において前記コラムを前方に引き出す第2爪部を含む、請求項7に記載の収納搬出装置。
【請求項10】
前記商品には、識別情報が付されており、
前記搬出部は、取り出す前の前記コラムに配置されている状態において、取出し対象の商品の前記識別情報を取得する識別情報取得部を含む、請求項1に記載の収納搬出装置。
(【請求項11】以降は省略されています)
発明の詳細な説明
【技術分野】
【0001】
この発明は、収納搬出装置に関し、特にコラムを複数含む収納搬出装置に関する。
続きを表示(約 1,600 文字)
【背景技術】
【0002】
従来、コラムを複数含む収納搬出装置が知られている(たとえば、特許文献1参照)。
【0003】
上記特許文献1には、平板状のコラムと、コラムの延びる方向に沿ってコラムに螺旋状に巻回された棒状部材を含むとともに、駆動部により中心軸回りに螺旋状の棒状部材が回転するスパイラルと、商品を搬送する搬送トレイとを備える収納搬出装置が開示されている。特許文献1では、コラムの棒状部材が巻回されていない部分(棒状部材が円形に形成されていない部分)に商品が配置されている。また、スパイラルが回転することにより、コラムの棒状部材が巻回されていない部分に配置された商品が前方に向けて移動し、最前部の商品が搬送トレイに搬出されるように構成されている。
【先行技術文献】
【特許文献】
【0004】
特開2016-139314号公報
【発明の概要】
【発明が解決しようとする課題】
【0005】
上記特許文献1に開示されているように、スパイラルを用いる場合、棒状部材が巻回されている部分には商品が配置されないため、商品は、間隔を空けて配置される。これに起因して、コラムに配置することができる商品数が少なくなる。そのため、コラムに配置される商品数を増加させることが望まれている。
【0006】
この発明は、上記のような課題を解決するためになされたものであり、この発明の1つの目的は、コラムに配置される商品数を増加させることが可能な収納搬出装置を提供することである。
【課題を解決するための手段】
【0007】
上記目的を達成するために、この発明の一の局面による収納搬出装置は、複数の商品の前後方向に対向する面を互いに接触させた状態で複数の商品が前後方向に並べて配置されるコラムを複数含む商品収納部と、コラムの最前部に配置された商品を取り出す取出し部を含む、商品を搬出する搬出部と、を備える。
【0008】
この発明の一の局面による収納搬出装置では、上記のように、コラムの最前部に配置された商品を取り出す取出し部を含む、商品を搬出する搬出部を備えることにより、コラムにスパイラルのような商品を搬出する部材を設ける必要がない。これにより、コラムに商品を搬出する部材を設けない分、コラムにスペースができるため、配置される商品数を増加させることができる。また、複数の商品の前後方向に対向する面を互いに接触させた状態で複数の商品が前後方向に並べて配置されるコラムを複数含む商品収納部を備える。これにより、商品同士を接触させて配置することができるため、商品と商品との間に隙間が空くことを抑制することができる。この点でも、配置される商品数を増加することができる。これらの結果、コラムに配置される商品数を増加させることができる。
【0009】
上記一の局面による収納搬出装置において、好ましくは、取出し部は、コラムの最前部に配置された商品を上方に移動させて取り出すように構成されている。このように構成すれば、コラムの最前部に配置された商品を前方に移動させて取り出す場合と異なり、最前部の商品を取り出している間は最前部の商品の前後方向の位置が変わらないため、後方の商品が最前部の商品の移動に伴って前方に倒れることを抑制することができる。この結果、コラムに配置されている商品が前方に倒れることに起因して商品がコラムから誤って搬出されることを抑制することができる。
【0010】
この場合、好ましくは、コラムは、底面の最前部側に開口部が形成されており、取出し部は、開口部を介して最前部の商品を上方に移動させて取り出すように構成されている。このように構成すれば、取出し部は、開口部を介して商品の底面から押し上げることにより、最前部の商品を上方に移動させて、商品を容易に取り出すことができる。
(【0011】以降は省略されています)
この特許をJ-PlatPat(特許庁公式サイト)で参照する
関連特許
富士電機株式会社
冷却装置
14日前
富士電機株式会社
駆動回路
1か月前
富士電機株式会社
集積回路
14日前
富士電機株式会社
電磁接触器
2か月前
富士電機株式会社
半導体装置
7日前
富士電機株式会社
半導体装置
28日前
富士電機株式会社
電磁接触器
22日前
富士電機株式会社
自動販売機
1か月前
富士電機株式会社
半導体装置
15日前
富士電機株式会社
自動販売機
15日前
富士電機株式会社
パネル構造
14日前
富士電機株式会社
半導体装置
1か月前
富士電機株式会社
パネル構造
14日前
富士電機株式会社
電磁接触器
2か月前
富士電機株式会社
電力変換装置
7日前
富士電機株式会社
基板加工装置
2日前
富士電機株式会社
ショーケース
2か月前
富士電機株式会社
電力変換装置
7日前
富士電機株式会社
飲料供給装置
14日前
富士電機株式会社
金銭処理装置
1か月前
富士電機株式会社
学習システム
1か月前
富士電機株式会社
収納搬出装置
1日前
富士電機株式会社
飲料抽出装置
1か月前
富士電機株式会社
紙幣処理装置
7日前
富士電機株式会社
硬貨処理装置
1か月前
富士電機株式会社
自動販売装置
1か月前
富士電機株式会社
硬貨処理装置
1か月前
富士電機株式会社
商品収納装置
2か月前
富士電機株式会社
ガス処理システム
1か月前
富士電機株式会社
半導体モジュール
2日前
富士電機株式会社
半導体モジュール
1か月前
富士電機株式会社
半導体モジュール
1か月前
富士電機株式会社
半導体モジュール
1か月前
富士電機株式会社
自動販売機システム
14日前
富士電機株式会社
制御装置、制御方法
7日前
富士電機株式会社
エレベータ用制御盤
7日前
続きを見る
他の特許を見る