TOP
|
特許
|
意匠
|
商標
特許ウォッチ
Twitter
他の特許を見る
10個以上の画像は省略されています。
公開番号
2025166672
公報種別
公開特許公報(A)
公開日
2025-11-06
出願番号
2024070850
出願日
2024-04-24
発明の名称
スイッチング制御回路、電源回路
出願人
富士電機株式会社
代理人
弁理士法人一色国際特許事務所
主分類
H02M
3/155 20060101AFI20251029BHJP(電力の発電,変換,配電)
要約
【課題】複数の動作モードを切り替えてPFC回路の損失を低減するスイッチング制御回路を提供する。
【解決手段】交流電圧に応じた電圧が印加されるインダクタと、インダクタ電流を制御する第1トランジスタと、インダクタ及び第1トランジスタに接続される第2トランジスタと、を含み、交流電圧から目的レベルの出力電圧を生成するスイッチング制御回路であって、インダクタ電流が第1所定値となった後、第1トランジスタをオンし、出力電圧に応じたオン期間が経過すると、第1トランジスタをオフする第1駆動回路と、第1トランジスタのオン期間が第1期間より短い場合、第2トランジスタをオフし続けた状態で第1トランジスタをスイッチングする第1モードで駆動し、第1トランジスタのオン期間が第1期間より長い場合、第2トランジスタを第1トランジスタと相補的にスイッチングする第2モードで駆動する第2駆動回路と、を備える。
【選択図】図3
特許請求の範囲
【請求項1】
交流電圧に応じた電圧が印加されるインダクタと、前記インダクタに流れるインダクタ電流を制御する第1トランジスタと、前記インダクタ及び前記第1トランジスタに接続される第2トランジスタと、を含み、前記交流電圧から目的レベルの出力電圧を生成する電源回路の前記第1及び第2トランジスタのスイッチングを制御するスイッチング制御回路であって、
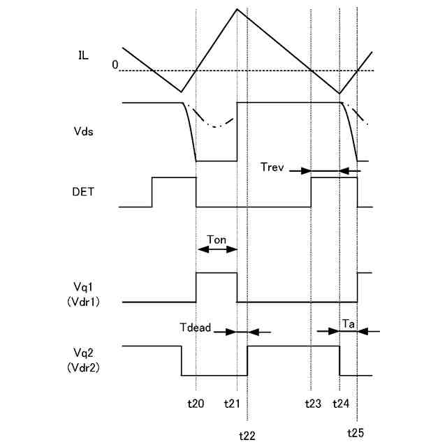
前記インダクタ電流が第1所定値となった後、前記第1トランジスタをオンし、前記出力電圧に応じたオン期間が経過すると、前記第1トランジスタをオフする第1駆動回路と、
前記第1トランジスタのオン期間が第1期間より短い場合、前記第2トランジスタをオフし続けた状態で前記第1トランジスタをスイッチングする第1モードで駆動し、前記第1トランジスタのオン期間が前記第1期間より長い場合、前記第2トランジスタを前記第1トランジスタと相補的にスイッチングする第2モードで駆動する第2駆動回路と、
を備えるスイッチング制御回路。
続きを表示(約 1,700 文字)
【請求項2】
請求項1に記載のスイッチング制御回路であって、
前記交流電圧の位相角を検出する検出回路を備え、
前記第2駆動回路は、
前記オン期間が前記第1期間より長くなり、前記交流電圧の位相角が第1範囲となると、前記第2トランジスタを前記第2モードで駆動する、
スイッチング制御回路。
【請求項3】
請求項2に記載のスイッチング制御回路であって、
前記第2駆動回路は、
前記交流電圧の位相角が前記第1範囲外となると、前記第2トランジスタを前記第1モードで駆動する、
スイッチング制御回路。
【請求項4】
請求項3に記載のスイッチング制御回路であって、
前記検出回路は、
前記第1トランジスタがオフしてから前記インダクタ電流が前記第1所定値となるまでの期間に基づいて前記位相角を検出する、
スイッチング制御回路。
【請求項5】
交流電圧に応じた電圧が印加されるインダクタと、前記インダクタに流れるインダクタ電流を制御する第1トランジスタと、前記インダクタ及び前記第1トランジスタに接続される第2トランジスタと、を含み、前記交流電圧から目的レベルの出力電圧を生成する電源回路の前記第1及び第2トランジスタのスイッチングを制御するスイッチング制御回路であって、
前記インダクタ電流が第1所定値となった後、前記第1トランジスタをオンし、前記出力電圧に応じたオン期間が経過すると、前記第1トランジスタをオフする第1駆動回路と、
前記交流電圧を全波整流した全波整流電圧の瞬時値が前記出力電圧に応じた所定レベルより低くなると、前記第2トランジスタを第1同期整流モードで駆動し、前記瞬時値が前記所定レベルより高くなると、前記第2トランジスタを第2同期整流モードで駆動する第2駆動回路と、
を備え、
前記第1同期整流モードは、前記第2トランジスタを前記第1トランジスタと相補的にスイッチングするモードであり、
前記第2同期整流モードは、前記第1トランジスタがオフしてから前記第2トランジスタをオンし、前記第1トランジスタがオンしている際に前記インダクタ電流が流れる第1方向とは反対の第2方向に前記インダクタ電流が流れてから所定期間経過すると、前記第2トランジスタをオフするモードである、
スイッチング制御回路。
【請求項6】
請求項5に記載のスイッチング制御回路であって、
前記第2駆動回路は、
前記交流電圧の位相角が90°を含む第2範囲内にある場合、前記第2トランジスタを前記第2同期整流モードで駆動する、
スイッチング制御回路。
【請求項7】
請求項6に記載のスイッチング制御回路であって、
前記第2駆動回路は、
前記オン期間が第1期間より長い場合、前記第2トランジスタを前記第2同期整流モードで駆動する、
スイッチング制御回路。
【請求項8】
請求項7に記載のスイッチング制御回路であって、
前記第2駆動回路は、
前記第1同期整流モードが第2期間継続した後、前記第2トランジスタを前記第2同期整流モードで駆動する、
スイッチング制御回路。
【請求項9】
請求項7に記載のスイッチング制御回路であって、
前記第2駆動回路は、
前記出力電圧に応じた帰還電圧が所定条件を満たすと、前記第2トランジスタを前記第2同期整流モードで駆動する、
スイッチング制御回路。
【請求項10】
請求項8又は9に記載のスイッチング制御回路であって、
前記第2駆動回路は、
前記第2同期整流モードでの動作を開始してから前記位相角が90°となるまでの第3期間が、前記位相角が90°となった後に経過すると、前記第2トランジスタを前記第1同期整流モードで駆動する、
スイッチング制御回路。
(【請求項11】以降は省略されています)
発明の詳細な説明
【技術分野】
【0001】
本発明は、スイッチング制御回路、及び電源回路に関する。
続きを表示(約 2,600 文字)
【背景技術】
【0002】
臨界モードで動作する一般的な力率改善回路(以下、PFC(Power Factor Correction)回路と称する。)は、インダクタに流れるインダクタ電流のピーク値の波形を、交流電圧を整流した整流電圧の波形と相似形にして、力率を改善する(例えば、特許文献1,2)。
【先行技術文献】
【特許文献】
【0003】
特開2021-052578号公報
国際公開第2023/048074号
【発明の概要】
【発明が解決しようとする課題】
【0004】
ところで、PFC回路は、必要とされる出力電力により、(電流)臨界モード又は(電流)連続モードで動作する。臨界モードは比較的省電力の装置に、連続モードは比較的第電力の装置に用いられる。本提案は、臨界モードに関するものである。
【0005】
しかしながら、臨界モードでPFC回路が動作する場合、トランジスタのスイッチング損失や、ダイオードの導通損失が問題となることがある。
【0006】
本発明は、上記のような従来の問題に鑑みてなされたものであって、複数の動作モードを切り替えてPFC回路の損失を低減することが可能なスイッチング制御回路を提供することを目的とする。
【課題を解決するための手段】
【0007】
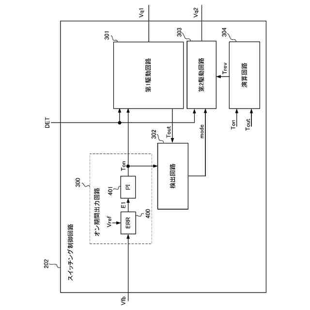
前述した課題を解決する本発明の第1の態様は、交流電圧に応じた電圧が印加されるインダクタと、前記インダクタに流れるインダクタ電流を制御する第1トランジスタと、前記インダクタ及び前記第1トランジスタに接続される第2トランジスタと、を含み、前記交流電圧から目的レベルの出力電圧を生成する電源回路の前記第1及び第2トランジスタのスイッチングを制御するスイッチング制御回路であって、前記インダクタ電流が第1所定値となった後、前記第1トランジスタをオンし、前記出力電圧に応じたオン期間が経過すると、前記第1トランジスタをオフする第1駆動回路と、前記第1トランジスタのオン期間が第1期間より短い場合、前記第2トランジスタをオフし続けた状態で前記第1トランジスタをスイッチングする第1モードで駆動し、前記第1トランジスタのオン期間が前記第1期間より長い場合、前記第2トランジスタを前記第1トランジスタと相補的にスイッチングする第2モードで駆動する第2駆動回路と、を備えるスイッチング制御回路である。
【0008】
また、前述した課題を解決する本発明の第2の態様は、交流電圧に応じた電圧が印加されるインダクタと、前記インダクタに流れるインダクタ電流を制御する第1トランジスタと、前記インダクタ及び前記第1トランジスタに接続される第2トランジスタと、を含み、前記交流電圧から目的レベルの出力電圧を生成する電源回路の前記第1及び第2トランジスタのスイッチングを制御するスイッチング制御回路であって、前記インダクタ電流が第1所定値となった後、前記第1トランジスタをオンし、前記出力電圧に応じたオン期間が経過すると、前記第1トランジスタをオフする第1駆動回路と、前記交流電圧を全波整流した全波整流電圧の瞬時値が前記出力電圧に応じた所定レベルより低くなると、前記第2トランジスタを第1同期整流モードで駆動し、前記瞬時値が前記所定レベルより高くなると、前記第2トランジスタを第2同期整流モードで駆動する第2駆動回路と、を備え、前記第1同期整流モードは、前記第2トランジスタを前記第1トランジスタと相補的にスイッチングするモードであり、前記第2同期整流モードは、前記第1トランジスタがオフしてから前記第2トランジスタをオンし、前記第1トランジスタがオンしている際に前記インダクタ電流が流れる第1方向とは反対の第2方向に前記インダクタ電流が流れてから所定期間経過すると、前記第2トランジスタをオフするモードである、スイッチング制御回路である。
【0009】
前述した課題を解決する本発明の第3の態様は、交流電圧に応じた電圧が印加されるインダクタと、前記インダクタに流れるインダクタ電流を制御する第1トランジスタと、前記インダクタ及び前記第1トランジスタに接続される第2トランジスタと、を含み、前記交流電圧から目的レベルの出力電圧を生成する電源回路の前記第1及び第2トランジスタのスイッチングを制御するスイッチング制御回路であって、前記インダクタ電流が第1所定値となった後、前記第1トランジスタをオンし、前記出力電圧に応じたオン期間が経過すると、前記第1トランジスタをオフする第1駆動回路と、前記第1トランジスタがオフしてから前記第2トランジスタをオンし、前記第1トランジスタがオンしている際に前記インダクタ電流が流れる第1方向とは反対の第2方向に前記インダクタ電流が流れてから所定期間経過すると、前記第2トランジスタをオフする第2駆動回路と、を備え、前記所定期間は、前記オン期間と、前記第1トランジスタがオフしてから前記インダクタ電流が前記第1所定値となるまでの期間とに基づいて演算される、スイッチング制御回路である。
【0010】
また、前述した課題を解決する本発明の第4の態様は、交流電圧から目的レベルの出力電圧を生成する電源回路であって、前記交流電圧に応じた電圧が印加されるインダクタと、前記インダクタに流れるインダクタ電流を制御する第1トランジスタと、前記インダクタ及び前記第1トランジスタに接続される第2トランジスタと、前記第1及び第2トランジスタのスイッチングを制御するスイッチング制御回路と、を含み、前記スイッチング制御回路は、前記インダクタ電流が第1所定値となった後、前記第1トランジスタをオンし、前記出力電圧に応じたオン期間が経過すると、前記第1トランジスタをオフする第1駆動回路と、前記第1トランジスタのオン期間が第1期間より短い場合、前記第2トランジスタをオフし続けた状態で前記第1トランジスタをスイッチングする第1モードで駆動し、前記第1トランジスタのオン期間が前記第1期間より長い場合、前記第2トランジスタを前記第1トランジスタと相補的にスイッチングする第2モードで駆動する第2駆動回路と、を備える電源回路である。
(【0011】以降は省略されています)
この特許をJ-PlatPat(特許庁公式サイト)で参照する
関連特許
富士電機株式会社
集積回路
1日前
富士電機株式会社
駆動回路
1か月前
富士電機株式会社
冷却装置
1日前
富士電機株式会社
半導体装置
1か月前
富士電機株式会社
電磁接触器
1か月前
富士電機株式会社
半導体装置
15日前
富士電機株式会社
電磁接触器
1か月前
富士電機株式会社
電磁接触器
1か月前
富士電機株式会社
電磁接触器
9日前
富士電機株式会社
電磁接触器
1か月前
富士電機株式会社
電磁接触器
1か月前
富士電機株式会社
半導体装置
2日前
富士電機株式会社
自動販売機
2日前
富士電機株式会社
パネル構造
1日前
富士電機株式会社
自動販売機
1か月前
富士電機株式会社
半導体装置
1か月前
富士電機株式会社
パネル構造
1日前
富士電機株式会社
学習システム
1か月前
富士電機株式会社
飲料抽出装置
1か月前
富士電機株式会社
金銭処理装置
1か月前
富士電機株式会社
硬貨処理装置
1か月前
富士電機株式会社
硬貨処理装置
1か月前
富士電機株式会社
ショーケース
1か月前
富士電機株式会社
自動販売装置
1か月前
富士電機株式会社
飲料供給装置
1日前
富士電機株式会社
商品収納装置
1か月前
富士電機株式会社
半導体モジュール
1か月前
富士電機株式会社
チャンネルベース
1か月前
富士電機株式会社
チャンネルベース
1か月前
富士電機株式会社
半導体モジュール
1か月前
富士電機株式会社
ガス処理システム
1か月前
富士電機株式会社
半導体モジュール
25日前
富士電機株式会社
制御装置、制御方法
1か月前
富士電機株式会社
集積回路、電源回路
1か月前
富士電機株式会社
自動販売機システム
2日前
富士電機株式会社
自動販売機システム
1日前
続きを見る
他の特許を見る