TOP
|
特許
|
意匠
|
商標
特許ウォッチ
Twitter
他の特許を見る
公開番号
2025164489
公報種別
公開特許公報(A)
公開日
2025-10-30
出願番号
2024068495
出願日
2024-04-19
発明の名称
セーフリスト管理方法
出願人
富士電機株式会社
代理人
インフォート弁理士法人
主分類
G06F
21/56 20130101AFI20251023BHJP(計算;計数)
要約
【課題】不正動作の検知と区別してセーフリストへの登録漏れを検出できるようにする。
【解決手段】アプリケーションプログラムからのアクセスに基づいて、許可すべき対象が登録されたセーフリストを管理する。アプリケーションプログラムは、所定の内容を記述した第1のアプリケーションおよび予め指定された管理システムへの通知を行う第2のアプリケーションを含む。アプリケーションプログラムに従って動作するシステム内に実装されるアクセス制御部は、第1のアプリケーションからのアクセスを受け付けたことに応じて、所定の指示がセーフリストに登録されているか否かを判定する。所定の内容がセーフリストに登録されていないときに、第1のアプリケーションは、第2のアプリケーションを呼び出す。第2のアプリケーションは、所定の内容がセーフリストに登録されてないことを表すエラー情報を管理システムに送信する。
【選択図】図5
特許請求の範囲
【請求項1】
アプリケーションプログラムからのアクセスに基づいて、許可すべき対象が登録されたセーフリストを管理するセーフリスト管理方法であって、
前記アプリケーションプログラムは、所定の内容を記述した第1のアプリケーションおよび予め指定された管理システムへの通知を行う第2のアプリケーションを含み、
前記アプリケーションプログラムに従って動作するシステム内に実装されるアクセス制御部は、前記第1のアプリケーションからのアクセスを受け付けたことに応じて、前記所定の内容が前記セーフリストに登録されているか否かを判定し、
前記所定の内容が前記セーフリストに登録されていないときに、前記第1のアプリケーションは、前記第2のアプリケーションを呼び出し、
前記第2のアプリケーションは、前記所定の内容が前記セーフリストに登録されてないことを表すエラー情報を前記管理システムに送信する
ことを特徴とするセーフリスト管理方法。
続きを表示(約 560 文字)
【請求項2】
前記所定の内容が前記セーフリストに登録されていないときに、前記第1のアプリケーションは、前記第2のアプリケーションの実行を要求し、
前記アクセス制御部は、前記第1のアプリケーションによる前記第2のアプリケーションの実行が前記セーフリストに登録されているか否かを判定し、
前記第1のアプリケーションによる前記第2のアプリケーションの実行が前記セーフリストに登録されているときは、前記第2のアプリケーションは、前記エラー情報を前記管理システムに送信する
ことを特徴とする請求項1に記載のセーフリスト管理方法。
【請求項3】
前記エラー情報は、前記第1のアプリケーションのソースコード内で前記所定の内容が記述されている箇所を表す情報を含む
ことを特徴とする請求項1に記載のセーフリスト管理方法。
【請求項4】
前記第2のアプリケーションは、
前記システムのログ情報を保存するログファイルから、前記所定の内容が許可されなかったときに記録されたログ情報を取得し、
前記エラー情報と共に、前記ログファイルから取得した前記ログ情報を、前記管理システムに送信する
ことを特徴とする請求項1に記載のセーフリスト管理方法。
発明の詳細な説明
【技術分野】
【0001】
本発明は、セーフリストを管理する方法に係わる。
続きを表示(約 1,900 文字)
【背景技術】
【0002】
情報漏洩または不正アクセスなどの脅威に対して、セーフリストを用いたセキュリティ対策が実施されている。セーフリストには許可すべき正当な対象が登録され、セーフリストに登録されていないアクセスは阻止される。よって、セーフリストには、必要な情報を漏れなく登録することが要求される。また、システムの稼働時の動作を学習してセーフリストを自動で作成する技術が知られている(例えば、特許文献1)。
【先行技術文献】
【特許文献】
【0003】
特開2018-106634号公報
【発明の概要】
【発明が解決しようとする課題】
【0004】
システムの稼働時の動作を学習してセーフリストを作成する場合、事前にすべての動作を網羅することは難しいので、登録漏れ(または、学習漏れ)が発生することがある。このため、システムの運用中に検知される異常に基づいてセーフリストを更新する作業が必要になる。ただし、従来の技術では、セーフリストに基づいて不正なアクセスが拒絶されるケースと、セーフリストへの登録漏れに起因して正規のアクセスが拒絶されるケースとの識別に手間と時間を要することがある。
【0005】
本発明の1つの側面に係わる目的は、不正なアクセスの検知と区別して、セーフリストへの登録漏れに起因して正規のアクセスが拒絶されるケースを検出できるようにする。
【課題を解決するための手段】
【0006】
本発明の1つの態様に係わるセーフリスト管理方法は、アプリケーションプログラムからのアクセスに基づいて、許可すべき対象が登録されたセーフリストを管理する。前記アプリケーションプログラムは、所定の内容を記述した第1のアプリケーションおよび予め指定された管理システムへの通知を行う第2のアプリケーションを含む。前記アプリケーションプログラムに従って動作するシステム内に実装されるアクセス制御部は、前記第1のアプリケーションからのアクセスを受け付けたことに応じて、前記所定の内容が前記セーフリストに登録されているか否かを判定する。前記所定の内容が前記セーフリストに登録されていないときに、前記第1のアプリケーションは、前記第2のアプリケーションを呼び出す。前記第2のアプリケーションは、前記所定の内容が前記セーフリストに登録されてないことを表すエラー情報を前記管理システムに送信する。
【発明の効果】
【0007】
上述の態様によれば、不正なアクセスの検知と区別して、セーフリストへの登録漏れに起因して正規のアクセスが拒絶されるケースを検出できる。
【図面の簡単な説明】
【0008】
本発明の実施形態に係わるセーフリスト管理方法が使用される環境の一例を示す図である。
メインアプリが通知アプリを呼び出すソースコードの一例を示す図である。
セーフリストの一例を示す図である。
正規のアプリケーションプログラムの全機能がセーフリストに登録されており、通知アプリが呼び出されないケースのシーケンスの一例を示す図である。
正規のアプリケーションプログラムの機能の一部がセーフリストに登録されておらず、通知アプリが呼び出されるケースのシーケンスの一例を示す図である。
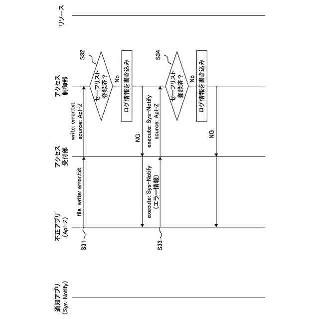
セーフリストに未登録の不正なアプリケーションプログラムからアクセスを受けたケースのシーケンスの一例を示す図である。
本発明の実施形態に係わるアプリケーションプログラムの処理の一例を示すフローチャートである。
システムのハードウェア構成の一例を示す図である。
【発明を実施するための形態】
【0009】
図1は、本発明の実施形態に係わるセーフリスト管理方法が使用される環境の一例を示す。この実施例では、アプリケーションプログラムに従って動作するシステムがセーフリストを備えている。そして、本発明の実施形態に係わるセーフリスト管理方法は、セーフリストの登録漏れを検知して管理システムに通知する。
【0010】
デバイス1は、システム10およびアプリ群20を備える。システム10は、ハードウェア11、リソース12、アクセス受付部13、セーフリスト14、およびアクセス制御部15を備える。なお、システム10は、図1に示していない他の要素または機能をさらに備えてもよい。
(【0011】以降は省略されています)
この特許をJ-PlatPat(特許庁公式サイト)で参照する
関連特許
富士電機株式会社
溶接装置
1か月前
富士電機株式会社
駆動回路
1日前
富士電機株式会社
自動販売機
8日前
富士電機株式会社
電磁接触器
28日前
富士電機株式会社
電磁接触器
28日前
富士電機株式会社
半導体装置
14日前
富士電機株式会社
電磁接触器
28日前
富士電機株式会社
電磁接触器
28日前
富士電機株式会社
電磁接触器
28日前
富士電機株式会社
半導体装置
28日前
富士電機株式会社
エンコーダ
29日前
富士電機株式会社
回路遮断器
29日前
富士電機株式会社
ショーケース
24日前
富士電機株式会社
商品収納装置
24日前
富士電機株式会社
硬貨処理装置
1日前
富士電機株式会社
硬貨処理装置
1日前
富士電機株式会社
学習システム
10日前
富士電機株式会社
金銭処理装置
9日前
富士電機株式会社
自動販売装置
15日前
富士電機株式会社
飲料抽出装置
3日前
富士電機株式会社
チャンネルベース
28日前
富士電機株式会社
チャンネルベース
28日前
富士電機株式会社
電力変換システム
28日前
富士電機株式会社
半導体モジュール
17日前
富士電機株式会社
半導体モジュール
7日前
富士電機株式会社
ガス処理システム
4日前
富士電機株式会社
エレベータ制御装置
1か月前
富士電機株式会社
エレベータ制御装置
1か月前
富士電機株式会社
制御装置、制御方法
1日前
富士電機株式会社
集積回路、電源回路
14日前
富士電機株式会社
冷却器及び半導体装置
28日前
富士電機株式会社
セーフリスト管理方法
1日前
富士電機株式会社
半導体装置の製造方法
16日前
富士電機株式会社
店舗情報設定システム
10日前
富士電機株式会社
測定装置および冷却システム
1か月前
富士電機株式会社
店舗内位置情報取得システム
29日前
続きを見る
他の特許を見る