TOP
|
特許
|
意匠
|
商標
特許ウォッチ
Twitter
他の特許を見る
公開番号
2025144388
公報種別
公開特許公報(A)
公開日
2025-10-02
出願番号
2024044139
出願日
2024-03-19
発明の名称
店舗内位置情報取得システム
出願人
富士電機株式会社
代理人
個人
,
個人
主分類
G06Q
30/06 20230101AFI20250925BHJP(計算;計数)
要約
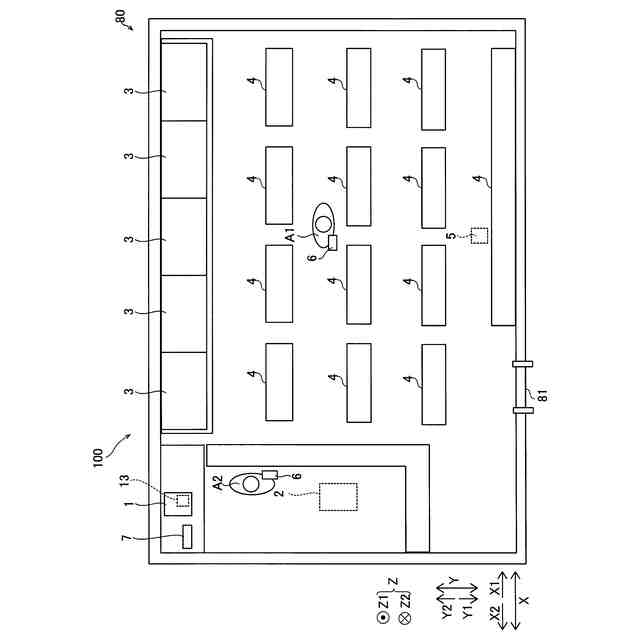
【課題】店員の位置を取得するための装置構成が複雑になるのを抑制しつつ、店員の位置を精度よく取得することが可能な店舗内位置情報取得システムを提供する。
【解決手段】この店舗内位置情報取得システム100は、店舗80内に設置され、店員A1、A2が保持する携帯情報端末6と通信可能な通信装置2と、携帯情報端末6と通信装置2との無線通信に基づいて、店舗80内に対する携帯情報端末6の位置を取得する制御を行う制御装置1と、を備える。
【選択図】図2
特許請求の範囲
【請求項1】
店舗内に設置され、店員が保持する無線通信機器と通信可能な通信装置と、
前記無線通信機器と前記通信装置との無線通信に基づいて、前記店舗内に対する前記無線通信機器の位置を取得する制御を行う制御装置と、を備える、店舗内位置情報取得システム。
続きを表示(約 690 文字)
【請求項2】
前記店舗内に設置される複数の機器を備え、
前記制御装置は、前記無線通信機器と前記通信装置との近距離無線通信に基づいて、前記通信装置に対する前記無線通信機器の位置を算出して、前記複数の機器に対する前記無線通信機器の位置を取得する、請求項1に記載の店舗内位置情報取得システム。
【請求項3】
表示装置をさらに備え、
前記制御装置は、前記無線通信機器の位置を、前記表示装置に表示する制御を行う、請求項1または2に記載の店舗内位置情報取得システム。
【請求項4】
前記制御装置は、前記機器に不具合が発生した場合に、不具合が発生した前記機器に対する前記無線通信機器の位置が所定の範囲内であることに基づいて、前記無線通信機器に前記機器の不具合を通知する、請求項2に記載の店舗内位置情報取得システム。
【請求項5】
前記制御装置は、前記機器に不具合が発生した場合に、不具合が発生した前記機器に対する前記無線通信機器の距離に応じて、通知態様を変更して、前記無線通信機器に前記機器の不具合を通知する、請求項4に記載の店舗内位置情報取得システム。
【請求項6】
店舗内に配置され、前記機器の不具合を報知する報知部をさらに備え、
前記制御装置は、前記機器に不具合が発生した場合に、不具合が発生した前記機器に対する前記無線通信機器の位置が所定の範囲内であることを一定時間経過しても検知できない場合に、前記報知部により前記機器の不具合を報知する、請求項4に記載の店舗内位置情報取得システム。
発明の詳細な説明
【技術分野】
【0001】
この発明は、店舗内位置情報取得システムに関する。
続きを表示(約 1,600 文字)
【背景技術】
【0002】
従来、店舗内位置情報取得システムが知られている(たとえば、特許文献1参照)。
【0003】
特許文献1には、店舗内に設置され、商品が配置される複数の陳列棚と、店員の作業状態を検知する作業検知部とを備える店員作業管理システム(店舗内位置情報取得システム)が開示されている。特許文献1の店員作業管理システムでは、作業検知部はカメラを含み、カメラにより店舗内を撮像することにより、店員の位置や作業を行っていることなどを検知している。
【先行技術文献】
【特許文献】
【0004】
特開2015-141722号公報
【発明の概要】
【発明が解決しようとする課題】
【0005】
しかしながら、特許文献1の店員作業管理システムでは、作業検知部のカメラにより店舗内を撮像することにより、店員の位置や作業を行っていることなどを検知している。このため、カメラの死角となる位置において、店員の位置を取得することが困難である。また、カメラの死角を減らすためには、カメラを多く設ける必要がある。このため、店員の位置を取得するための装置構成が複雑になるとともに、店員の位置を精度よく取得することが困難である。そこで、店員の位置を取得するための装置構成が複雑になるのを抑制しつつ、店員の位置を精度よく取得することが望まれている。
【0006】
この発明は、上記のような課題を解決するためになされたものであり、この発明の1つの目的は、店員の位置を取得するための装置構成が複雑になるのを抑制しつつ、店員の位置を精度よく取得することが可能な店舗内位置情報取得システムを提供することである。
【課題を解決するための手段】
【0007】
上記目的を達成するために、この発明の一の局面による店舗内位置情報取得システムは、店舗内に設置され、店員が保持する無線通信機器と通信可能な通信装置と、無線通信機器と通信装置との無線通信に基づいて、店舗内に対する無線通信機器の位置を取得する制御を行う制御装置と、を備える。
【0008】
上記一の局面による店舗内位置情報取得システムでは、上記のように、無線通信機器と通信装置との無線通信に基づいて、店舗内に対する無線通信機器の位置を取得する。これにより、無線通信を用いることにより、電波がショーケースなどの店舗内に設置された物体を回り込むことができるため、複数のショーケースなどの物体が配置されていても位置を検知することができなくなる死角が生じるのを抑制することができる。また、死角を少なくするために通信装置を多く設ける必要がない。これにより、無線通信機器を保持する店員の位置を簡易な構成により取得することができる。その結果、店員の位置を取得するための装置構成が複雑になるのを抑制しつつ、店員の位置を精度よく取得することができる。
【0009】
上記一の局面による店舗内位置情報取得システムにおいて、好ましくは、店舗内に設置される複数の機器を備え、制御装置は、無線通信機器と通信装置との近距離無線通信に基づいて、通信装置に対する無線通信機器の位置を算出して、複数の機器に対する無線通信機器の位置を取得する。このように構成すれば、無線通信機器と通信装置との近距離無線通信に基づいて、無線通信機器を保持する店員の店舗内の位置を精度よく取得することができるので、複数の機器に対する店員の位置を精度よく取得することができる。
【0010】
上記一の局面による店舗内位置情報取得システムにおいて、好ましくは、表示装置をさらに備え、制御装置は、無線通信機器の位置を、表示装置に表示する制御を行う。このように構成すれば、表示装置に店舗内の店員の位置を表示することができるので、表示装置の表示により店員の位置を容易に確認することができる。
(【0011】以降は省略されています)
この特許をJ-PlatPat(特許庁公式サイト)で参照する
関連特許
富士電機株式会社
駆動回路
10日前
富士電機株式会社
自動販売機
17日前
富士電機株式会社
半導体装置
23日前
富士電機株式会社
硬貨処理装置
10日前
富士電機株式会社
ショーケース
1か月前
富士電機株式会社
金銭処理装置
18日前
富士電機株式会社
飲料抽出装置
12日前
富士電機株式会社
学習システム
19日前
富士電機株式会社
自動販売装置
24日前
富士電機株式会社
硬貨処理装置
10日前
富士電機株式会社
ガス処理システム
13日前
富士電機株式会社
半導体モジュール
16日前
富士電機株式会社
半導体モジュール
5日前
富士電機株式会社
半導体モジュール
26日前
富士電機株式会社
制御装置、制御方法
10日前
富士電機株式会社
集積回路、電源回路
23日前
富士電機株式会社
セーフリスト管理方法
10日前
富士電機株式会社
半導体装置の製造方法
25日前
富士電機株式会社
店舗情報設定システム
19日前
富士電機株式会社
制御回路および電源装置
5日前
富士電機株式会社
制御回路および電力供給回路
24日前
富士電機株式会社
換気システムおよび冷却装置
3日前
富士電機株式会社
冷却器及び半導体モジュール
16日前
富士電機株式会社
電力変換装置及びその制御方法
1か月前
富士電機株式会社
店舗内ショーケース制御システム
17日前
富士電機株式会社
スイッチング制御回路、電源回路
3日前
富士電機株式会社
スイッチング制御回路、電源回路
13日前
富士電機株式会社
ガス回収システム及びガス回収方法
12日前
富士電機株式会社
半導体装置の製造方法及び治具セット
12日前
富士電機株式会社
電力変換装置、制御装置及び制御方法
12日前
富士電機株式会社
半導体モジュール、及び、半導体装置
4日前
富士電機株式会社
部分放電測定装置及び部分放電測定方法
23日前
富士電機株式会社
紙幣処理装置及び新紙幣搬送動作確認方法
18日前
富士電機株式会社
制御支援装置、制御支援方法、及びプログラム
23日前
富士電機株式会社
監視システム、監視装置、監視方法、プログラム
5日前
富士電機株式会社
半導体モジュールおよび半導体モジュールの製造方法
24日前
続きを見る
他の特許を見る