TOP
|
特許
|
意匠
|
商標
特許ウォッチ
Twitter
他の特許を見る
10個以上の画像は省略されています。
公開番号
2025123999
公報種別
公開特許公報(A)
公開日
2025-08-25
出願番号
2024019828
出願日
2024-02-13
発明の名称
電力変換装置
出願人
富士電機株式会社
代理人
個人
,
個人
主分類
H02M
3/28 20060101AFI20250818BHJP(電力の発電,変換,配電)
要約
【課題】冷却流路中の液体の温度を高精度に測定することが可能な電力変換装置を提供する。
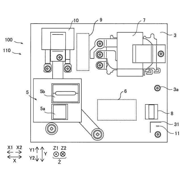
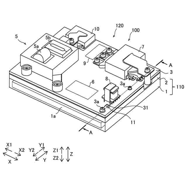
【解決手段】冷却流路1aを含む基台部110と、直流電源から入力される直流電力を変圧するコンバータ部120と、基台部110に形成された冷却流路1aに流れる液体の温度を検出する温度検出部11と、基台部110の冷却流路1aが形成されるZ2方向側とは反対のZ1方向側に積層して設けられた回路基板4とを備え、回路基板4において、基台部110とは反対のZ1側の面にはコンバータ部120が配置され、基台部110に対向するZ2側の面には温度検出部11が配置されている。
【選択図】図5
特許請求の範囲
【請求項1】
冷却流路を含む基台部と、
直流電源から入力される直流電力を変圧するコンバータ部と、
前記基台部に形成された前記冷却流路に流れる液体の温度を検出する温度検出部と、
前記基台部の前記冷却流路が形成される側とは反対側に積層して設けられた回路基板とを備え、
前記回路基板において、前記基台部とは反対側の面には、前記コンバータ部が配置され、前記基台部に対向する側の面には、前記温度検出部が配置されている、電力変換装置。
続きを表示(約 580 文字)
【請求項2】
前記基台部は、前記回路基板に配置された前記温度検出部に向かって突出する突出部を含む、請求項1に記載の電力変換装置。
【請求項3】
前記基台部の前記冷却流路は、前記突出部に向かって突出する突出流路を含む、請求項2に記載の電力変換装置。
【請求項4】
前記回路基板の前記基台部に対向する側の面に設けられ、前記突出部から前記温度検出部に熱を伝達するための伝熱部をさらに備え、
前記伝熱部は、前記突出部に対向する第1部分と、前記突出部が延びる方向に垂直な幅方向に、前記温度検出部の前記幅方向の幅以上の幅で延びて前記温度検出部と接触する第2部分とを含む、請求項2に記載の電力変換装置。
【請求項5】
前記温度検出部と前記突出部との間に設けられ、前記温度検出部と前記突出部との両方に接触する熱伝導部材をさらに備える、請求項2に記載の電力変換装置。
【請求項6】
前記温度検出部と前記コンバータ部との間に設けられ、前記コンバータ部から熱が伝達されることを抑制する熱伝達抑制部をさらに備える、請求項1に記載の電力変換装置。
【請求項7】
前記熱伝達抑制部は、前記回路基板において、前記温度検出部と前記コンバータ部との間に設けられる開口部である、請求項6に記載の電力変換装置。
発明の詳細な説明
【技術分野】
【0001】
この発明は、電力変換装置に関し、特に、冷却流路を含む基台部を備える電力変換装置に関する。
続きを表示(約 1,800 文字)
【背景技術】
【0002】
従来、冷却流路が形成された基台部を備える電力変換装置が知られている(たとえば、特許文献1参照)。
【0003】
上記特許文献1には、インバータ部と、DCDCコンバータ部と、昇圧コンバータ部と、平板上の基台部と、基台部に設けられる蓋部とを備える電力変換装置が開示されている。また、上記特許文献1の電力変換装置は、基台部の内部に形成された冷却流路を流れる冷却用液体によって、蓋部を介してインバータ部と、DCDCコンバータ部と、昇圧コンバータ部とが冷却されている。また、上記特許文献1の電力変換装置は、冷却流路中の冷媒間において温度差が生じないように、インバータ部とコンバータ部との配置位置を調整している。
【先行技術文献】
【特許文献】
【0004】
特開2023-53944号公報
【発明の概要】
【発明が解決しようとする課題】
【0005】
上記の通り、上記特許文献1では、冷却流路中の冷媒間に温度差が生じないように、インバータ部とコンバータ部との配置位置を調整しているが、冷却流路中の冷媒の温度を検出するための温度検出部を設ける配置位置について明記されていない。しかしながら、温度検出部と、コンバータ部等および冷却流路との配置位置によっては、冷却流路中の冷媒から温度検出部に伝達される熱が、温度検出部が配置される基板の熱容量の影響、および、コンバータ部等からの放熱の影響を大きく受ける場合がある。その場合、冷却流路中の液体の実際の温度と、温度検出部が検出した検出温度とが大きく異なる場合がある。そのため、冷却流路中の液体の温度を高精度に測定することが可能な電力変換装置が望まれている。
【0006】
この発明は、上記のような課題を解決するためになされたものであり、この発明の1つの目的は、冷却流路中の液体の温度を高精度に測定することが可能な電力変換装置を提供することである。
【課題を解決するための手段】
【0007】
上記目的を達成するために、この発明の一の局面による電力変換装置は、冷却流路を含む基台部と、直流電源から入力される直流電力を変圧するコンバータ部と、基台部に形成された冷却流路に流れる液体の温度を検出する温度検出部と、基台部の冷却流路が形成される側とは反対側に積層して設けられた回路基板とを備え、回路基板において、基台部とは反対側の面にはコンバータ部が配置され、基台部に対向する側の面には温度検出部が配置されている。
【0008】
この発明の一の局面による電力変換装置は、上記のように、回路基板において、基台部とは反対側の面にはコンバータ部が配置され、基台部に対向する側の面には温度検出部が配置されている。これにより、温度検出部は、回路基板の面のうち、コンバータ部が配置される側の面とは反対側の面に配置されるので、コンバータ部が放熱する熱の伝達の影響を受けにくくなる。また、温度検出部が、基台部に対向する側の面に配置されるので、基台部とは反対側の面に配置される場合に比べて、基台部に含まれる冷却流路を流れる液体の熱を、温度検出部に伝達しやすくすることができる。その結果、冷却流路中の液体の温度を高精度に測定することができる。
【0009】
上記一の局面による電力変換装置において、好ましくは、基台部は、回路基板に配置された温度検出部に向かって突出する突出部を含む。このように構成すれば、基台部が突出部を含まない場合に比べて、温度検出部と基台部との間の距離を小さくすることができる。したがって、基台部に含まれる冷却流路を流れる液体の熱を温度検出部により伝達しやすくすることができる。その結果、冷却流路中の液体の温度をより高精度に測定することができる。
【0010】
この場合、好ましくは、基台部の冷却流路は、突出部に向かって突出する突出流路を含む。このように構成すれば、基台部の冷却流路が突出流路を含まない場合に比べて、温度検出部と基台部の冷却流路を流れる液体との間の距離を小さくすることができる。その結果、冷却流路中の液体の温度をより一層高精度に測定することができる。
(【0011】以降は省略されています)
この特許をJ-PlatPat(特許庁公式サイト)で参照する
関連特許
富士電機株式会社
搬送機構
1か月前
富士電機株式会社
駆動回路
5日前
富士電機株式会社
溶接装置
1か月前
富士電機株式会社
冷却装置
1か月前
富士電機株式会社
電磁接触器
1か月前
富士電機株式会社
電磁接触器
1か月前
富士電機株式会社
電磁接触器
1か月前
富士電機株式会社
電磁接触器
1か月前
富士電機株式会社
半導体装置
1か月前
富士電機株式会社
エンコーダ
1か月前
富士電機株式会社
半導体装置
18日前
富士電機株式会社
回路遮断器
1か月前
富士電機株式会社
自動販売機
12日前
富士電機株式会社
半導体装置
1か月前
富士電機株式会社
電磁接触器
1か月前
富士電機株式会社
半導体装置
1か月前
富士電機株式会社
半導体装置
1か月前
富士電機株式会社
自動販売装置
19日前
富士電機株式会社
冷却システム
1か月前
富士電機株式会社
飲料抽出装置
7日前
富士電機株式会社
商品収納装置
28日前
富士電機株式会社
ショーケース
28日前
富士電機株式会社
金銭処理装置
13日前
富士電機株式会社
学習システム
14日前
富士電機株式会社
硬貨処理装置
5日前
富士電機株式会社
硬貨処理装置
5日前
富士電機株式会社
電力変換システム
1か月前
富士電機株式会社
チャンネルベース
1か月前
富士電機株式会社
半導体モジュール
21日前
富士電機株式会社
チャンネルベース
1か月前
富士電機株式会社
電力変換システム
1か月前
富士電機株式会社
半導体モジュール
今日
富士電機株式会社
ガス処理システム
8日前
富士電機株式会社
半導体モジュール
11日前
富士電機株式会社
制御装置、制御方法
5日前
富士電機株式会社
集積回路、電源回路
18日前
続きを見る
他の特許を見る