TOP
|
特許
|
意匠
|
商標
特許ウォッチ
Twitter
他の特許を見る
10個以上の画像は省略されています。
公開番号
2025156756
公報種別
公開特許公報(A)
公開日
2025-10-15
出願番号
2024059377
出願日
2024-04-02
発明の名称
半導体装置の製造方法
出願人
富士電機株式会社
代理人
個人
主分類
H10D
64/01 20250101AFI20251007BHJP()
要約
【課題】良品率を向上させることができる半導体装置の製造方法を提供すること。
【解決手段】表面電極14を異なるタイミングで成膜した第1,2電極膜31,32の2層構造とする。第1電極膜31を表面電極14の製品厚さt10よりも薄い厚さt1で成膜して、第1電極膜31の表面に比較的サイズの大きい異物1aを起因とする凸欠陥を生じさせた後、第1電極膜31の表面の全面をレジスト膜で覆う。このレジスト膜には、第1電極膜31の表面の凸欠陥に起因するレジスト欠損部を意図的に生じさせる。そして、レジスト欠損部に露出する凸欠陥をエッチングして凹欠陥4aまたは比較的高さを低い凸部に変化させてから第2電極膜32を成膜する。凹欠陥4a内に異物1aが残存しても、異物1aの見かけ上の高さh3が低くなるため、第1電極膜31および異物1aは第2電極膜32で完全に覆われ、表面電極14の表面(第2電極膜32の表面)に凸欠陥は生じない。
【選択図】図8
特許請求の範囲
【請求項1】
半導体ウエハの表面に第1電極膜を形成する第1工程と、
前記第1電極膜の表面をレジスト膜で覆い、前記第1電極膜の表面の凸欠陥に対応する部分で前記レジスト膜を途切れさせてレジスト欠損部を生じさせる第2工程と、
前記レジスト欠損部に露出する前記凸欠陥をエッチングする第3工程と、
前記第3工程の後、前記レジスト膜を除去する第4工程と、
前記第4工程の後、前記第1電極膜の表面に第2電極膜を形成して、前記第1電極膜および前記第2電極膜からなる表面電極を形成する第5工程と、
前記表面電極をパターニングする第6工程と、
を含むことを特徴とする半導体装置の製造方法。
続きを表示(約 660 文字)
【請求項2】
前記第3工程では、前記凸欠陥を凹欠陥に変化させることを特徴とする請求項1に記載の半導体装置の製造方法。
【請求項3】
前記第3工程では、前記凸欠陥を前記凸欠陥よりも高さの低い凸部に変化させることを特徴とする請求項1に記載の半導体装置の製造方法。
【請求項4】
前記レジスト膜の厚さは、2.6μm以上3.2μm以下であることを特徴とする請求項1に記載の半導体装置の製造方法。
【請求項5】
前記レジスト膜の厚さは、3.0μm以下であることを特徴とする請求項4に記載の半導体装置の製造方法。
【請求項6】
前記第1電極膜の平坦な表面から前記凸欠陥の頂部までの高さは、4μm以上であることを特徴とする請求項1に記載の半導体装置の製造方法。
【請求項7】
前記第1電極膜の厚さは、前記表面電極の厚さの10%以上90%以下であることを特徴とする請求項1に記載の半導体装置の製造方法。
【請求項8】
前記第1電極膜の厚さは、前記表面電極の厚さの50%であることを特徴とする請求項7に記載の半導体装置の製造方法。
【請求項9】
前記表面電極の厚さは、4μm以上6μm以下であることを特徴とする請求項1に記載の半導体装置の製造方法。
【請求項10】
前記表面電極はアルミニウムを主成分とすることを特徴とする請求項1に記載の半導体装置の製造方法。
(【請求項11】以降は省略されています)
発明の詳細な説明
【技術分野】
【0001】
この開示は、半導体装置の製造方法に関する。
続きを表示(約 2,800 文字)
【背景技術】
【0002】
従来、半導体装置の電極を、アルミニウム(Al)膜と、このアルミニウム膜を覆うはんだ接合用のニッケル(Ni)膜と、で形成することが公知である(例えば、下記特許文献1参照)。
【先行技術文献】
【特許文献】
【0003】
特開2018-060885号公報
【発明の概要】
【発明が解決しようとする課題】
【0004】
しかしながら、半導体基板の表面に異物が付着していると、アルミニウム膜が異物を覆うように形成され、アルミニウム膜に異物起因の凸欠陥が生じる。この凸欠陥近傍でアルミニウム膜の被覆性が悪くなり、アルミニウム膜にスリット(切れ目)が生じる。また、アルミニウム膜のパターニング時に用いるレジストマスクが凸欠陥で途切れ(段切れ)、レジスト欠損部に深さ方向にアルミニウム膜を貫通する凹欠陥が生じる。これらアルミニウム膜の金属欠損(スリット、凹欠陥)は半導体装置の不良の原因となる。
【0005】
この開示は、良品率を向上させることができる半導体装置の製造方法を提供することを目的とする。
【課題を解決するための手段】
【0006】
この開示の一態様にかかる半導体装置の製造方法は、以下の通りである。半導体ウエハの表面に第1電極膜を形成する第1工程を行う。前記第1電極膜の表面をレジスト膜で覆い、前記第1電極膜の表面の凸欠陥に対応する部分で前記レジスト膜を途切れさせてレジスト欠損部を生じさせる第2工程を行う。前記レジスト欠損部に露出する前記凸欠陥をエッチングする第3工程を行う。前記第3工程の後、前記レジスト膜を除去する第4工程を行う。前記第4工程の後、前記第1電極膜の表面に第2電極膜を形成して、前記第1電極膜および前記第2電極膜からなる表面電極を形成する第5工程を行う。前記表面電極をパターニングする第6工程を行う。
【発明の効果】
【0007】
本開示にかかる半導体装置の製造方法によれば、良品率を向上させることができるという効果を奏する。
【図面の簡単な説明】
【0008】
実施の形態にかかる半導体装置の製造方法の概要を示すフローチャートである。
半導体ウエハをおもて面側から見た状態を示す平面図である。
実施の形態にかかる半導体装置の製造途中の状態を示す断面図である(その1)。
実施の形態にかかる半導体装置の製造途中の状態を示す断面図である(その2)。
実施の形態にかかる半導体装置の製造途中の状態を示す断面図である(その3)。
実施の形態にかかる半導体装置の製造途中の状態を示す断面図である(その4)。
実施の形態にかかる半導体装置の製造途中の状態を示す断面図である(その5)。
実施の形態にかかる半導体装置の製造途中の状態を示す断面図である(その6)。
実施の形態にかかる半導体装置の製造途中の別の状態を示す断面図である(その1)。
実施の形態にかかる半導体装置の製造途中の別の状態を示す断面図である(その2)。
実施の形態にかかる半導体装置の製造途中の別の状態を示す断面図である(その3)。
実施の形態にかかる半導体装置の製造途中の別の状態を示す断面図である(その4)。
実施の形態にかかる半導体装置の製造途中の別の状態を示す断面図である(その5)。
実施の形態にかかる半導体装置の製造途中の別の状態を示す断面図である(その6)。
実施の形態にかかる半導体装置の製造途中の状態を示す断面図である(その7)。
実施の形態にかかる半導体装置の製造途中の状態を示す断面図である(その8)。
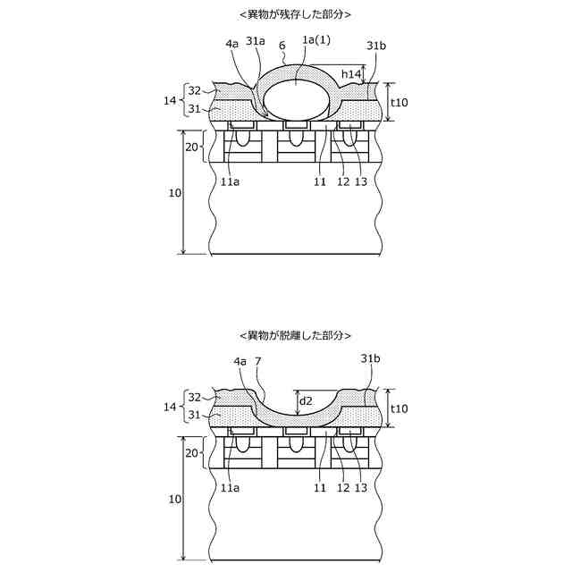
参考例の半導体装置の製造途中の状態を模式的に示す断面図である(その1)。
参考例の半導体装置の製造途中の状態を模式的に示す断面図である(その2)。
実施例および比較例の表面電極の形成途中の状態を模式的に示す断面図である。
実施の形態にかかる半導体装置の製造方法を適用して製造される半導体装置の構造例を示す断面図である。
レジスト膜の厚さと第1電極膜の表面の凸欠陥の凹欠陥変化率との関係を実験した結果を示す特性図である。
レジスト膜の厚さと第1電極膜の表面の凸欠陥の凹欠陥変化率との関係を実験した結果を示す特性図である。
レジスト膜の厚さと第1電極膜の表面の凸欠陥の凹欠陥変化率との関係を実験した結果を示す特性図である。
参考例の半導体装置の製造途中の状態を模式的に示す断面図である(その1)。
参考例の半導体装置の製造途中の状態を模式的に示す断面図である(その2)。
参考例の半導体装置の製造途中の状態を模式的に示す断面図である(その3)。
参考例の半導体装置の製造途中の状態を模式的に示す断面図である(その4)。
参考例の半導体装置の製造途中の別の状態を模式的に示す断面図である(その1)。
参考例の半導体装置の製造途中の別の状態を模式的に示す断面図である(その2)。
参考例の半導体装置の製造途中の別の状態を模式的に示す断面図である(その3)。
参考例の半導体装置の製造途中の別の状態を模式的に示す断面図である(その4)。
【発明を実施するための形態】
【0009】
<本開示の実施形態の概要>
(1)この開示の一態様にかかる半導体装置の製造方法は、以下の通りである。半導体ウエハの表面に第1電極膜を形成する第1工程を行う。前記第1電極膜の表面をレジスト膜で覆い、前記第1電極膜の表面の凸欠陥に対応する部分で前記レジスト膜を途切れさせてレジスト欠損部を生じさせる第2工程を行う。前記レジスト欠損部に露出する前記凸欠陥をエッチングする第3工程を行う。前記第3工程の後、前記レジスト膜を除去する第4工程を行う。前記第4工程の後、前記第1電極膜の表面に第2電極膜を形成して、前記第1電極膜および前記第2電極膜からなる表面電極を形成する第5工程を行う。前記表面電極をパターニングする第6工程を行う。
【0010】
上述した開示によれば、第3工程時に第1電極膜のレジスト欠損部に露出した部分の表面の高さ位置を低くすることができるため、第2電極膜の表面(表面電極の表面)に凸欠陥は生じない。第1電極膜に生じた凹欠陥(金属欠損)は第2電極膜で覆うことができる。表面電極の表面に凸欠陥が生じないことで、表面電極のパターニング時に表面電極に凹欠陥が生じることを低減することができ、半導体装置の良品率を向上させることができる。
(【0011】以降は省略されています)
この特許をJ-PlatPat(特許庁公式サイト)で参照する
関連特許
富士電機株式会社
冷却装置
19日前
富士電機株式会社
溶接装置
16日前
富士電機株式会社
搬送機構
16日前
富士電機株式会社
エンコーダ
13日前
富士電機株式会社
回路遮断器
13日前
富士電機株式会社
半導体装置
12日前
富士電機株式会社
半導体装置
16日前
富士電機株式会社
電磁接触器
12日前
富士電機株式会社
電磁接触器
12日前
富士電機株式会社
電磁接触器
12日前
富士電機株式会社
電磁接触器
12日前
富士電機株式会社
電磁接触器
12日前
富士電機株式会社
商品収納装置
8日前
富士電機株式会社
ショーケース
8日前
富士電機株式会社
チャンネルベース
12日前
富士電機株式会社
チャンネルベース
12日前
富士電機株式会社
電力変換システム
16日前
富士電機株式会社
半導体モジュール
1日前
富士電機株式会社
電力変換システム
12日前
富士電機株式会社
エレベータ制御装置
14日前
富士電機株式会社
エレベータ制御装置
14日前
富士電機株式会社
半導体装置の製造方法
今日
富士電機株式会社
冷却器及び半導体装置
12日前
富士電機株式会社
店舗内位置情報取得システム
13日前
富士電機株式会社
窒化物半導体装置の製造方法
12日前
富士電機株式会社
冷却器及び半導体モジュール
12日前
富士電機株式会社
測定装置および冷却システム
14日前
富士電機株式会社
半導体装置及びその製造方法
12日前
富士電機株式会社
炭化珪素半導体装置の製造方法
12日前
富士電機株式会社
電力変換装置及びその制御方法
8日前
富士電機株式会社
最適制御方法、及び最適制御装置
16日前
富士電機株式会社
半導体装置及び半導体装置の製造方法
12日前
富士電機株式会社
スイッチング制御回路、及び電源回路
19日前
富士電機株式会社
トリミングシステムおよび半導体モジュール
13日前
富士電機株式会社
認証用鍵管理システムおよび認証用鍵管理方法
14日前
富士電機株式会社
異常種類提示装置、異常種類提示方法及びプログラム
12日前
続きを見る
他の特許を見る