TOP
|
特許
|
意匠
|
商標
特許ウォッチ
Twitter
他の特許を見る
10個以上の画像は省略されています。
公開番号
2025155626
公報種別
公開特許公報(A)
公開日
2025-10-14
出願番号
2024176292
出願日
2024-10-08
発明の名称
縦型ホール素子
出願人
エイブリック株式会社
代理人
主分類
H10N
52/00 20230101AFI20251002BHJP()
要約
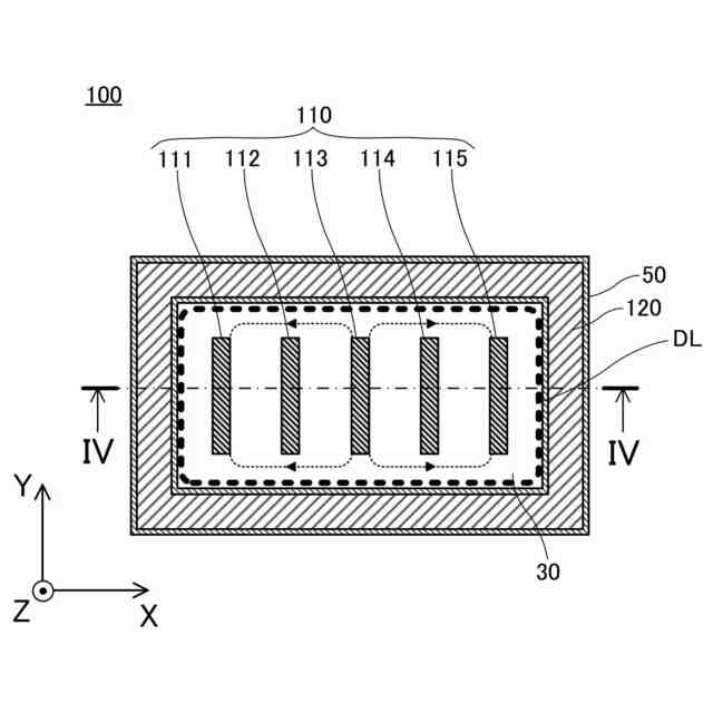
【課題】オフセット電圧を高い精度で除去することができる縦型ホール素子の提供。
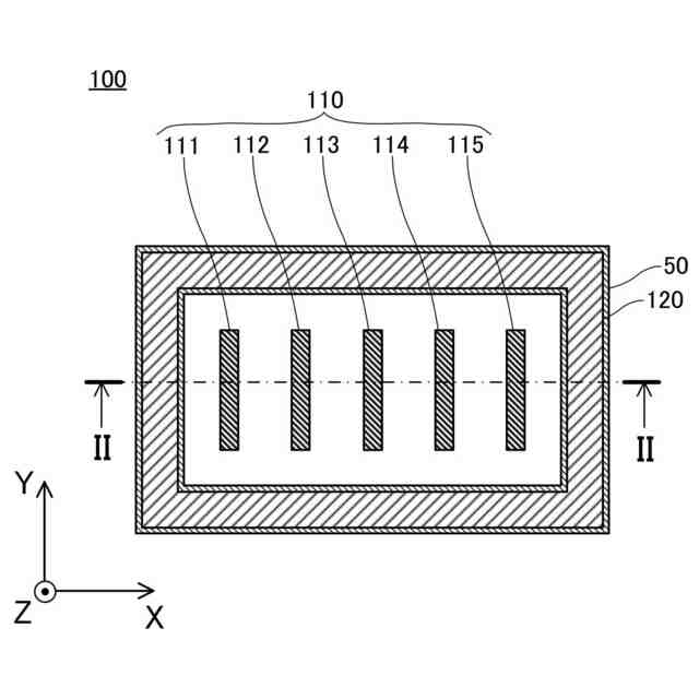
【解決手段】P型半導体基板10の表面に形成されている縦型ホール素子100は、P型半導体基板10の表面に形成されているN型エピタキシャル層30と、N型エピタキシャル層30の表面に配置され、電極111~115で形成されている電極群110と、N型エピタキシャル層30に配置され、電極群110から離間した外周にリング状に配置されているP型ウェル層50と、P型ウェル層50の上面に沿って絶縁膜60を介して形成されている外周電極120と、を有する。
【選択図】図1
特許請求の範囲
【請求項1】
第1導電型の半導体基板の表面に形成されている縦型ホール素子であって、
前記半導体基板の表面に形成されている第2導電型の不純物拡散層と、
前記不純物拡散層の表面に配置され、3つ以上の電極で形成されている電極群と、
前記不純物拡散層に配置され、前記電極群から離間した外周にリング状に配置されている第1導電型のウェル層と、
前記ウェル層の上面に沿って絶縁膜を介して形成されている外周電極と、
を有することを特徴とする縦型ホール素子。
続きを表示(約 370 文字)
【請求項2】
前記外周電極は、所定の電圧が印加可能である請求項1に記載の縦型ホール素子。
【請求項3】
前記外周電極は、前記ウェル層の内周部側の前記不純物拡散層の上方に覆うように形成されている請求項1に記載の縦型ホール素子。
【請求項4】
前記外周電極は、前記絶縁膜の溝部に形成されている請求項1に記載の縦型ホール素子。
【請求項5】
前記ウェル層の内周部が前記電極群の外周部から一定の距離に位置する請求項1に記載の縦型ホール素子。
【請求項6】
前記不純物拡散層は、深くなるにつれて不純物濃度が高くなる請求項1に記載の縦型ホール素子。
【請求項7】
平面視すると、前記電極群が直線上に配置されている請求項1から6のいずれかに記載の縦型ホール素子。
発明の詳細な説明
【技術分野】
【0001】
本発明は、縦型ホール素子に関する。
続きを表示(約 2,100 文字)
【背景技術】
【0002】
ホール素子は、半導体基板の表面に容易に形成でき、磁気センサとして非接触での位置検知、角度検知が可能であることから様々な用途に用いられている。
ホール素子のなかでも、半導体基板の表面に対して垂直な磁界成分を検出する横型ホール素子が一般的に良く知られているが、半導体基板の表面に対して平行な磁界成分を検出する縦型ホール素子についても各種提案されている。
【0003】
たとえば、基板内部を電気的に区画する拡散層のpn接合側に近接する基板表面において選択的に高濃度の領域を形成することにより、素子感度のばらつきを抑制しつつ、検出精度を高く維持できる縦型ホール素子が提案されている(特許文献1参照)。
【先行技術文献】
【特許文献】
【0004】
特開2006-147710号公報
【発明の概要】
【発明が解決しようとする課題】
【0005】
本発明の一つの側面では、オフセット電圧を高い精度で除去することができる縦型ホール素子を提供することを目的とする。
【課題を解決するための手段】
【0006】
本発明の一実施形態における縦型ホール素子は、
第1導電型の半導体基板の表面に形成されている縦型ホール素子であって、
前記半導体基板の表面に形成されている第2導電型の不純物拡散層と、
前記不純物拡散層の表面に配置され、3つ以上の電極で形成されている電極群と、
前記不純物拡散層に配置され、前記電極群から離間した外周にリング状に配置されている第1導電型のウェル層と、
前記ウェル層の上面に沿って絶縁膜を介して形成されている外周電極と、
を有する。
【発明の効果】
【0007】
本発明の一つの側面によれば、オフセット電圧を高い精度で除去することができる縦型ホール素子を提供することができる。
【図面の簡単な説明】
【0008】
図1は、本発明の第1の実施形態における縦型ホール素子を示す概略平面図である。
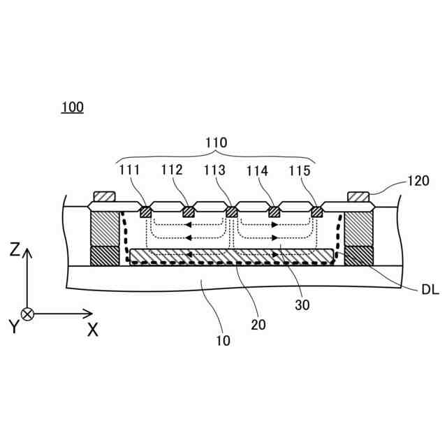
図2は、図1のII-II線に沿った概略断面図である。
図3は、第1の実施形態における縦型ホール素子の動作を示す説明図である。
図4は、第1の実施形態における縦型ホール素子の動作を示す説明図である。
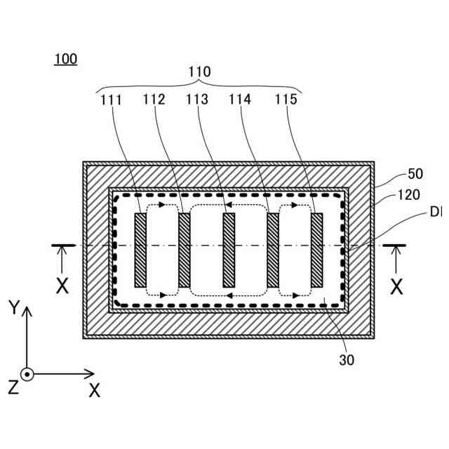
図5は、本実施形態の縦型ホール素子においてスピニングカレント法のフェーズ2で発生する空乏層及び電流経路を示す概略平面図である。
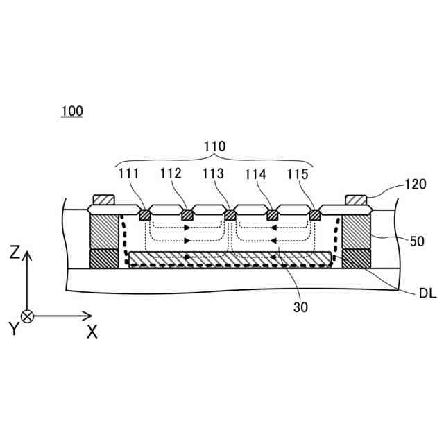
図6は、図5のVI-VI線に沿った概略断面図である。
図7は、本実施形態の縦型ホール素子においてスピニングカレント法のフェーズ3で発生する空乏層及び電流経路を示す概略平面図である。
図8は、図7のVIII-VIII線に沿った概略断面図である。
図9は、本実施形態の縦型ホール素子においてスピニングカレント法のフェーズ4で発生する空乏層及び電流経路を示す概略平面図である。
図10は、図9のIX-IX線に沿った概略断面図である。
図11は、従来の縦型ホール素子においてスピニングカレント法のフェーズ1で発生する空乏層及び電流経路を示す概略平面図である。
図12は、従来の縦型ホール素子においてスピニングカレント法のフェーズ2で発生する空乏層及び電流経路を示す概略平面図である。
図13は、従来の縦型ホール素子においてスピニングカレント法のフェーズ3で発生する空乏層及び電流経路を示す概略平面図である。
図14は、従来の縦型ホール素子においてスピニングカレント法のフェーズ4で発生する空乏層及び電流経路を示す概略平面図である。
図15は、本発明の第2の実施形態における縦型ホール素子を示す概略断面図である。
図16は、本発明の第3の実施形態における縦型ホール素子を示す概略断面図である。
図17は、本発明の第4の実施形態における縦型ホール素子を示す概略断面図である。
【発明を実施するための形態】
【0009】
本発明は、縦型ホール素子では、オフセット電圧が横型ホール素子よりも発生しやすく、一般によく知られているスピニングカレント法を用いてもオフセット電圧を高い精度で除去することが難しい、という知見に基づくものである。
【0010】
具体的には、縦型ホール素子は、駆動電流を供給しホール電圧を検出する電極群が半導体基板に形成されている構造を有する。この縦型ホール素子は、半導体基板の垂直方向の構造が重要であるが半導体プロセスで幾何学的な対称性の高い構造を形成することが難しいこともあり、オフセット電圧が横型ホール素子よりも発生しやすい。オフセット電圧を除去する方法としてスピニングカレント法が知られており、各電極間での電流の流し方を4つのフェーズで変化させたときの出力電圧から補正値を算出することで、製造上のばらつき等による構造の非対称性に起因するオフセット電圧を除去できる。
(【0011】以降は省略されています)
この特許をJ-PlatPat(特許庁公式サイト)で参照する
関連特許
個人
積和演算用集積回路
24日前
サンケン電気株式会社
半導体装置
23日前
エイブリック株式会社
縦型ホール素子
1か月前
旭化成株式会社
発光素子
1か月前
エイブリック株式会社
縦型ホール素子
1か月前
日機装株式会社
半導体発光装置
18日前
ローム株式会社
抵抗チップ
1か月前
ローム株式会社
半導体装置
2日前
三菱電機株式会社
半導体装置
1か月前
富士電機株式会社
半導体装置
1か月前
株式会社半導体エネルギー研究所
表示装置
1か月前
三菱電機株式会社
半導体装置
10日前
株式会社東芝
半導体装置
10日前
株式会社半導体エネルギー研究所
表示装置
2日前
ローム株式会社
半導体集積回路
1か月前
日亜化学工業株式会社
発光装置
1か月前
ローム株式会社
半導体装置
1か月前
株式会社半導体エネルギー研究所
発光デバイス
18日前
ローム株式会社
半導体装置
1か月前
ローム株式会社
窒化物半導体装置
1か月前
株式会社半導体エネルギー研究所
発光デバイス
1か月前
ローム株式会社
半導体装置
23日前
富士電機株式会社
半導体装置の製造方法
1か月前
ローム株式会社
窒化物半導体装置
1か月前
サンケン電気株式会社
半導体装置
10日前
日亜化学工業株式会社
発光素子
23日前
大日本印刷株式会社
太陽電池
1か月前
ローム株式会社
半導体装置
10日前
日亜化学工業株式会社
発光装置
25日前
今泉工業株式会社
光発電装置及びその製造方法
1か月前
日亜化学工業株式会社
発光装置
1か月前
日本ゼオン株式会社
構造体
25日前
日亜化学工業株式会社
発光素子
23日前
ローム株式会社
光センサ
1か月前
住友電気工業株式会社
炭化珪素半導体装置
1か月前
住友電気工業株式会社
炭化珪素半導体装置
1か月前
続きを見る
他の特許を見る