TOP
|
特許
|
意匠
|
商標
特許ウォッチ
Twitter
他の特許を見る
10個以上の画像は省略されています。
公開番号
2025161448
公報種別
公開特許公報(A)
公開日
2025-10-24
出願番号
2024064631
出願日
2024-04-12
発明の名称
半導体装置
出願人
ローム株式会社
代理人
個人
,
個人
,
個人
主分類
H10D
30/65 20250101AFI20251017BHJP()
要約
【課題】オン抵抗を低減可能な半導体装置を提供する。
【解決手段】一実施形態に係る半導体装置1は、第1導電型の半導体基板11と第1電型の半導体層12とを備え、半導体層は、トレンチゲート14と、第1導電型のソース領域15と、第2導電型のコンタクト領域16と、第2導電型のカラム領域17とを含み、半導体層には、複数のトレンチゲート14が、第1方向Xおよび第2方向Yそれぞれに沿って離散的に形成されており、ソース領域15は、トレンチゲート14に接しているとともに、トレンチゲート14を囲んでおり、コンタクト領域16は、第2方向Yに隣接するソース領域の間に位置しており、カラム領域17は、コンタクト領域16の半導体基板寄りの端部16aから半導体基板11に向けて延びている。
【選択図】図3
特許請求の範囲
【請求項1】
第1導電型の半導体基板と、
前記半導体基板上に位置しており前記半導体基板と反対に位置する主面を有する第1導電型の半導体層と、
を備え、
前記半導体層は、
前記主面から前記半導体基板に向けて延びるトレンチ、前記トレンチの内面に形成されたゲート絶縁膜、および、前記ゲート絶縁膜を介して前記トレンチ内に充填されたゲート電極を有するトレンチゲートと、
前記主面に形成された第1導電型のソース領域と、
前記主面に形成された第2導電型のコンタクト領域と、
第2導電型のカラム領域と、
を含み、
前記半導体層には、複数の前記トレンチゲートが、前記半導体層の厚さ方向からみて互いに交差する第1方向および第2方向それぞれに沿って離散的に形成されており、
前記ソース領域は、前記トレンチゲートに接しているとともに、前記厚さ方向からみて前記トレンチゲートを囲んでおり、
前記コンタクト領域は、前記第2方向に隣接する前記ソース領域の間に位置しており、
前記カラム領域は、前記コンタクト領域の前記半導体基板寄りの端部から前記半導体基板に向けて延びている、
半導体装置。
続きを表示(約 330 文字)
【請求項2】
前記ゲート電極は、第2導電型の半導体によって形成されている、
請求項1に記載の半導体装置。
【請求項3】
前記第1方向において隣接する前記トレンチゲートの間は前記ソース領域で埋められている、
請求項1又2に記載の半導体装置。
【請求項4】
前記第1方向において隣接する前記トレンチゲートの間に位置する前記ソース領域の前記半導体基板寄りの端部は、前記半導体層に接している、
請求項1又は2に記載の半導体装置。
【請求項5】
前記第1方向に隣接する前記トレンチゲートの間隔は、0.1μm以上且つ0.6μm以下である、
請求項1又は2に記載の半導体装置。
発明の詳細な説明
【技術分野】
【0001】
本開示は、半導体装置に関する。
続きを表示(約 2,100 文字)
【背景技術】
【0002】
特許文献1には、半導体装置として、スーパージャンクション構造を有しておりnチャネル型MOSFET(Metal Oxide Semiconductor Field Effect Transistor)が開示されている。特許文献1に開示された半導体装置の一形態のセルの構造は、トレンチゲート構造である。特許文献2には、スーパージャンクションが形成されている、トレンチゲート型MISFET(Metal Insulator Semiconductor Field Effect Transistor)を含む半導体装置が開示されている。
【先行技術文献】
【特許文献】
【0003】
特開2014-222710号公報
特開2013-115385号公報
【0004】
[概要]
本開示の一実施形態は、オン抵抗を低減可能な半導体装置に関する。
【0005】
本開示に係る半導体装置は、第1導電型の半導体基板と、前記半導体基板上に位置しており前記半導体基板と反対に位置する主面を有する第1電型の半導体層と、を備え、前記半導体層は、前記主面から前記半導体基板に向けて延びるトレンチ、前記トレンチの内面に形成されたゲート絶縁膜、および、前記ゲート絶縁膜を介して前記トレンチ内に充填されたゲート電極を有するトレンチゲートと、前記主面に形成された第1導電型のソース領域と、前記主面に形成された第2導電型のコンタクト領域と、第2導電型のカラム領域と、を含み、前記半導体層には、複数の前記トレンチゲートが、前記半導体層の厚さ方向からみて互いに交差する第1方向および第2方向それぞれに沿って離散的に形成されており、 前記ソース領域は、前記トレンチゲートに接しているとともに、前記厚さ方向からみて前記トレンチゲートを囲んでおり、前記コンタクト領域は、前記第2方向に隣接する前記ソース領域の間に位置しており、前記カラム領域は、前記コンタクト領域の前記半導体基板寄りの端部から前記半導体基板に向けて延びている。
【図面の簡単な説明】
【0006】
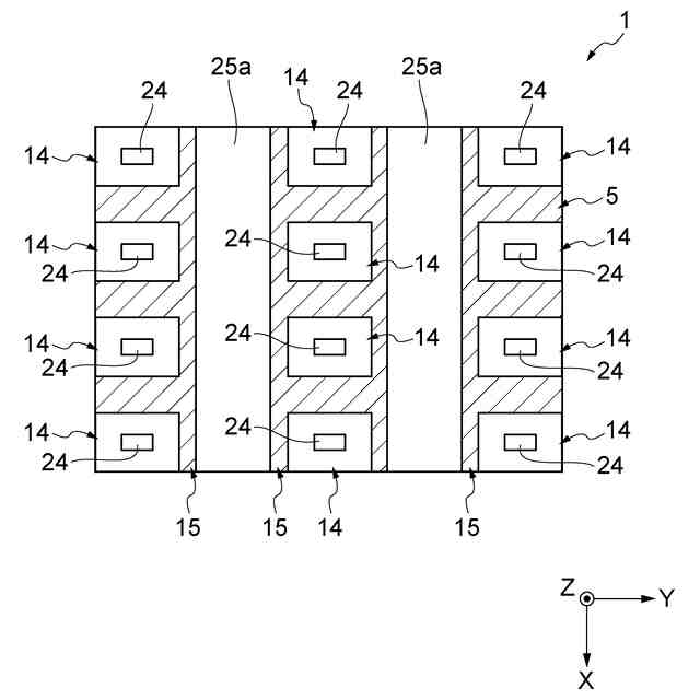
図1は、第1実施形態に係る半導体装置の一例の平面図である。
図2は、図1に示した半導体装置の内部構造を説明するための図面である。
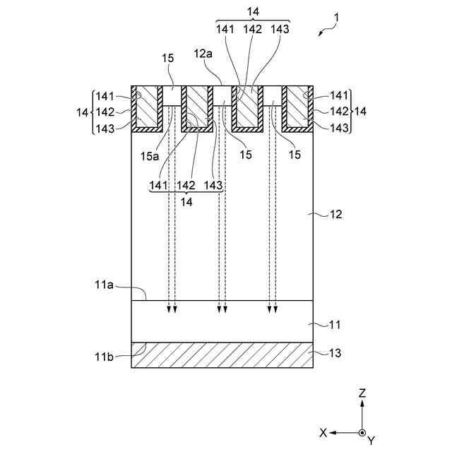
図3は、図2のIII-III線に沿った断面構成の一例を説明するための模式図である。
図4は、図2のIV―IV線に沿った断面構成の一例を説明するための模式図である。
図5は、図2のV―V線に沿った断面構成の一例を説明するための模式図である。
図6は、第1実施形態に係る半導体装置においてエピタキシャル層(半導体層)の主面上の構造の一例を説明するための図面である。
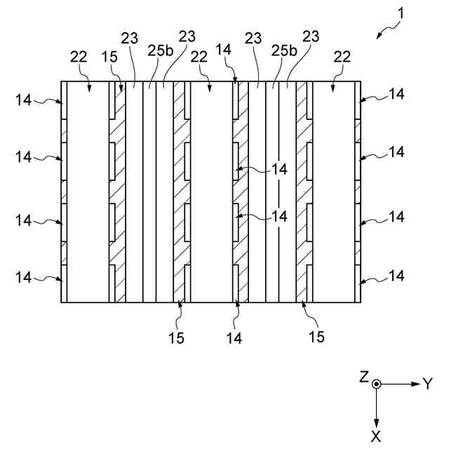
図7は、図6のVII-VII線の位置からエピタキシャル層(半導体層)側をみた場合の平面図である。
図8は、図6のVIII-VIII線の位置からエピタキシャル層(半導体層)側をみた場合の平面図である。
図9は、第2実施形態に係る半導体装置の一例の平面図である。
図10は、半導体装置におけるエピタキシャル層(半導体層)の主面上の構造の他の例を説明するための図面である。
図11は、図10のXI-XI線の位置からエピタキシャル層(半導体層)側をみた場合の平面図である。
【0007】
[詳細な説明]
以下、図面を利用して、本開示に係る実施形態を説明する。各図面において同一又は相当の部分に対しては同一の符号を附することとし、重複する説明は省略する。図面の寸法比率は、説明のものと必ずしも一致していない。
【0008】
(第1実施形態)
図1は、第1実施形態に係る半導体装置の平面図である。半導体装置1は、MISFET(Metal Insulator Semiconductor Field Effect Transistor)を含む。以下の説明では、半導体装置1が、MISFETの一形態であるMOSFET(Metal Oxide Semiconductor Field Effect Transistor)を含む場合を説明する。
【0009】
半導体装置1は、例えば半導体スイッチングデバイスである。半導体装置1の外形は、例えば、図1に示すように、平面視略正方形のチップ状である。チップ状の半導体装置1のサイズは、厚さ方向およびそれに直交する2つの方向それぞれの長さが数mm程度のサイズである。半導体装置1の形状は、例示した形状に限定されない。
【0010】
半導体装置1は、アクティブ領域2と、アクティブ領域2を取り囲む周辺領域3を有する。アクティブ領域2は、例えば、平面視において半導体装置1の中央部に配置されている。周辺領域3には、ガードリングが形成されていてもよい。
(【0011】以降は省略されています)
この特許をJ-PlatPat(特許庁公式サイト)で参照する
関連特許
ローム株式会社
半導体装置
11日前
ローム株式会社
半導体装置
19日前
ローム株式会社
半導体装置
11日前
ローム株式会社
半導体装置
11日前
ローム株式会社
半導体装置
4日前
ローム株式会社
半導体集積回路
11日前
ローム株式会社
半導体集積回路
12日前
ローム株式会社
定電圧生成回路
11日前
ローム株式会社
定電圧生成回路
11日前
ローム株式会社
半導体モジュール
20日前
ローム株式会社
モータドライバ回路
27日前
ローム株式会社
比較回路、半導体装置
11日前
ローム株式会社
サーマルプリントヘッド
11日前
ローム株式会社
逐次比較型AD変換回路
19日前
ローム株式会社
電源制御装置及び電源装置
4日前
ローム株式会社
半導体装置およびシステム
19日前
ローム株式会社
監視回路及びレジスタ制御装置
11日前
ローム株式会社
信号受信装置、IC及び電気機器
25日前
ローム株式会社
電源制御装置、スイッチング電源
4日前
ローム株式会社
昇圧型スイッチングレギュレータ
13日前
ローム株式会社
電圧調整装置及び電荷蓄積システム
13日前
ローム株式会社
モータドライバ回路および駆動方法
12日前
ローム株式会社
整流回路およびAC/DCコンバータ
今日
ローム株式会社
整流回路およびAC/DCコンバータ
今日
ローム株式会社
整流回路およびAC/DCコンバータ
今日
ローム株式会社
イグナイタおよび内燃機関点火システム
今日
ローム株式会社
半導体装置および半導体装置の製造方法
12日前
ローム株式会社
サーマルプリントヘッド及びその製造方法
11日前
ローム株式会社
半導体装置、および半導体装置の製造方法
25日前
ローム株式会社
半導体装置、および半導体装置の製造方法
11日前
ローム株式会社
ドライバ、信号伝達装置、電子機器、車両
4日前
ローム株式会社
検出回路、信号伝達装置、電子機器、車両
11日前
ローム株式会社
コントローラ、ターゲット、及び通信システム
11日前
ローム株式会社
電源回路、電子コントロールユニット、自動車
19日前
ローム株式会社
雨検出装置、雨検出システム、および、雨検出方法
13日前
ローム株式会社
窒化物半導体装置および窒化物半導体装置の製造方法
11日前
続きを見る
他の特許を見る