TOP
|
特許
|
意匠
|
商標
特許ウォッチ
Twitter
他の特許を見る
公開番号
2025168969
公報種別
公開特許公報(A)
公開日
2025-11-12
出願番号
2024073885
出願日
2024-04-30
発明の名称
半導体発光装置
出願人
日機装株式会社
代理人
個人
主分類
H10H
20/853 20250101AFI20251105BHJP()
要約
【課題】半導体発光装置の光出力の低下を抑制させる。
【解決手段】半導体発光装置10は、パッケージ基板14と、パッケージ基板14上に接合される半導体発光素子12と、パッケージ基板14上の半導体発光素子12を被覆し、半導体発光素子12の発光波長において透光性を有し、半導体発光素子12の動作温度において固形であり、樹脂を含む第1封止部材16と、第1封止部材を被覆し、半導体発光素子12の発光波長において透光性を有し、半導体発光素子12の動作温度において液状であり、樹脂を含む第2封止部材18と、を備える。
【選択図】図1
特許請求の範囲
【請求項1】
パッケージ基板と、
前記パッケージ基板上に接合される半導体発光素子と、
前記パッケージ基板上の前記半導体発光素子を被覆し、前記半導体発光素子の発光波長において透光性を有し、前記半導体発光素子の動作温度において固形であり、樹脂を含む第1封止部材と、
前記第1封止部材を被覆し、前記発光波長において透光性を有し、前記動作温度において液状であり、樹脂を含む第2封止部材と、を備える、
半導体発光装置。
続きを表示(約 470 文字)
【請求項2】
前記第2封止部材は、未硬化シリコーン系樹脂を含む、
請求項1に記載の半導体発光装置。
【請求項3】
前記第2封止部材は、シリコーン系樹脂および溶剤を含む、
請求項1に記載の半導体発光装置。
【請求項4】
前記第2封止部材の粘度は、1Pa・s以上1000Pa・s以下である、
請求項1から3のいずれか一項に記載の半導体発光装置。
【請求項5】
前記第1封止部材は、熱硬化性シリコーン系樹脂を含む、
請求項1から3のいずれか一項に記載の半導体発光装置。
【請求項6】
前記第1封止部材は、熱可塑性シリコーン系樹脂を含む、
請求項1から3のいずれか一項に記載の半導体発光装置。
【請求項7】
前記パッケージ基板上の前記半導体発光素子の周囲に設けられる枠体をさらに備え、
前記第1封止部材および前記第2封止部材は、前記枠体の内側に設けられる、
請求項1から3のいずれか一項に記載の半導体発光装置。
発明の詳細な説明
【技術分野】
【0001】
本発明は、半導体発光装置に関する。
続きを表示(約 1,000 文字)
【背景技術】
【0002】
パッケージ基板上に接合される半導体発光素子をシリコーン樹脂で封止した半導体発光装置が知られている(例えば、特許文献1参照)。
【先行技術文献】
【特許文献】
【0003】
特開2020-17427号公報
【発明の概要】
【発明が解決しようとする課題】
【0004】
シリコーン樹脂の劣化によってクラックが発生すると、光出力が低下する。
【0005】
本発明はこうした課題に鑑みてなされたものであり、半導体発光装置の光出力の低下を抑制させる技術を提供することを目的とする。
【課題を解決するための手段】
【0006】
本発明のある態様の半導体発光装置は、パッケージ基板と、パッケージ基板上に接合される半導体発光素子と、パッケージ基板上の半導体発光素子を被覆し、半導体発光素子の発光波長において透光性を有し、半導体発光素子の動作温度において固形であり、樹脂を含む第1封止部材と、第1封止部材を被覆し、半導体発光素子の発光波長において透光性を有し、半導体発光素子の動作温度において液状であり、樹脂を含む第2封止部材と、を備える。
【0007】
本発明によれば、半導体発光装置の光出力の低下を抑制できる。
【図面の簡単な説明】
【0008】
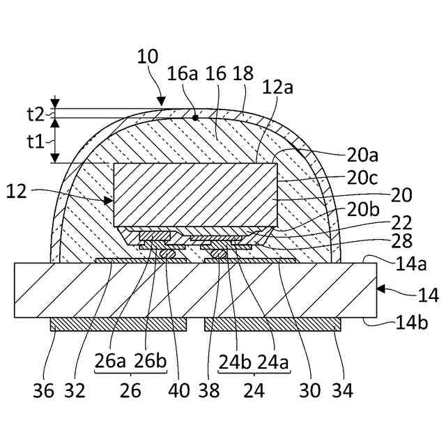
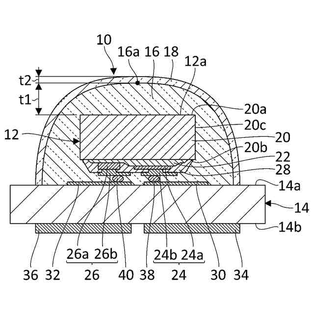
第1実施形態に係る半導体発光装置の構成を概略的に示す断面図である。
実施例および比較例に係る半導体発光装置の光出力強度の時系列の一例を示すグラフである。
第1実施形態に係る半導体発光装置の製造方法の一例を示すフローチャートである。
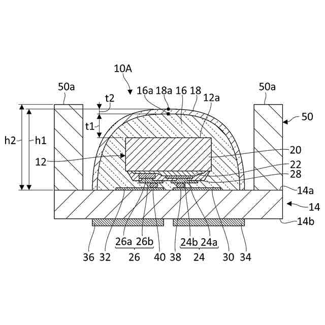
第2実施形態に係る半導体発光装置の構成を概略的に示す断面図である。
【発明を実施するための形態】
【0009】
以下、図面を参照しながら、本発明を実施するための形態について詳細に説明する。なお、説明において同一の要素には同一の符号を付し、重複する説明を適宜省略する。また、説明の理解を助けるため、各図面における各構成要素の寸法比は、必ずしも実際の発光素子の寸法比と一致しない。
【0010】
(第1実施形態)
図1は、第1実施形態に係る半導体発光装置10の構成を概略的に示す断面図である。半導体発光装置10は、半導体発光素子12と、パッケージ基板14と、第1封止部材16と、第2封止部材18と、を備える。
(【0011】以降は省略されています)
この特許をJ-PlatPat(特許庁公式サイト)で参照する
関連特許
日機装株式会社
加圧装置
1か月前
日機装株式会社
遠心ポンプ
1か月前
日機装株式会社
半導体発光装置
21日前
日機装株式会社
キャップ、コネクタおよび装置
2か月前
日機装株式会社
発光素子の製造方法及び発光素子
6日前
日機装株式会社
発光素子及び発光素子の製造方法
6日前
日機装株式会社
窒化物半導体発光素子の製造方法
14日前
日機装株式会社
乳酸吸着剤、乳酸除去装置および乳酸除去方法
1か月前
日機装株式会社
半導体発光素子および半導体発光素子の製造方法
19日前
日機装株式会社
血液浄化装置、血液浄化システム、及び情報移行方法
1か月前
日機装株式会社
血液浄化装置
今日
個人
積和演算用集積回路
27日前
サンケン電気株式会社
半導体装置
26日前
エイブリック株式会社
縦型ホール素子
1か月前
エイブリック株式会社
縦型ホール素子
1か月前
日機装株式会社
半導体発光装置
21日前
旭化成株式会社
発光素子
1か月前
ローム株式会社
半導体装置
5日前
ローム株式会社
抵抗チップ
1か月前
三菱電機株式会社
半導体装置
1か月前
富士電機株式会社
半導体装置
1か月前
株式会社半導体エネルギー研究所
表示装置
5日前
株式会社半導体エネルギー研究所
表示装置
1か月前
三菱電機株式会社
半導体装置
今日
株式会社東芝
半導体装置
13日前
三菱電機株式会社
半導体装置
13日前
日亜化学工業株式会社
発光装置
1か月前
日亜化学工業株式会社
発光装置
1か月前
ローム株式会社
半導体集積回路
1か月前
株式会社半導体エネルギー研究所
発光デバイス
21日前
株式会社半導体エネルギー研究所
発光デバイス
1か月前
ローム株式会社
半導体装置
26日前
ローム株式会社
半導体装置
1か月前
富士電機株式会社
半導体装置の製造方法
1か月前
ローム株式会社
窒化物半導体装置
1か月前
ローム株式会社
窒化物半導体装置
1か月前
続きを見る
他の特許を見る