TOP
|
特許
|
意匠
|
商標
特許ウォッチ
Twitter
他の特許を見る
10個以上の画像は省略されています。
公開番号
2025151877
公報種別
公開特許公報(A)
公開日
2025-10-09
出願番号
2024053498
出願日
2024-03-28
発明の名称
血液浄化装置、血液浄化システム、及び情報移行方法
出願人
日機装株式会社
代理人
弁理士法人MSウィード
主分類
A61M
1/14 20060101AFI20251002BHJP(医学または獣医学;衛生学)
要約
【課題】
情報移行を容易且つ精確に行えるとともに、治療再開までのリードタイムを短縮することができること。
【解決手段】
患者の血液を浄化する血液浄化装置であって、前記患者の固有データ及び治療データを含む患者情報を記憶する記憶部と、前記血液浄化装置の操作者が使用する情報取得装置を介して前記患者情報を外部に出力する出力部と、通信回線を使用して前記患者情報を外部に送信する通信部と、前記出力部及び前記通信部のいずれか一方を制御して前記患者情報の移行を行う制御部と、を有する血液浄化装置。
【選択図】 図4
特許請求の範囲
【請求項1】
患者の血液を浄化する血液浄化装置であって、
前記患者の固有データ及び治療データを含む患者情報を記憶する記憶部と、
前記血液浄化装置の操作者が使用する情報取得装置を介して前記患者情報を外部に出力する出力部と、
通信回線を使用して前記患者情報を外部に送信する通信部と、
前記出力部及び前記通信部のいずれか一方を制御して前記患者情報の移行を行う制御部と、を有する血液浄化装置。
続きを表示(約 1,400 文字)
【請求項2】
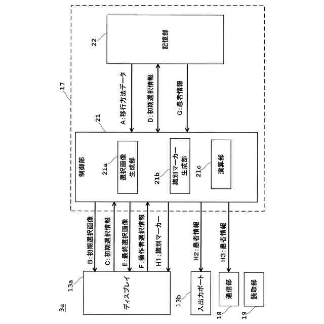
前記出力部は、前記患者情報を識別マーカーとして表示するディスプレイ、及び前記情報取得装置が接続される出力ポートを備え、前記ディスプレイ及び前記出力ボートのいずれか一方を介して前記患者情報を出力し、
前記通信部は、前記血液浄化装置が設置された施設に設けられた施設内サーバ、又は前記施設の外部に設けられた施設外サーバに前記通信回線を介して前記患者情報を送信する、
請求項1に記載の血液浄化装置。
【請求項3】
前記情報取得装置は、前記識別マーカーを読取る読取装置又は前記出力ポートに接続される外部記憶装置であり、
前記制御部は、
前記識別マーカーを生成して前記ディスプレイに表示し、前記読取装置の読取によって情報移行を行う第1移行方法、
前記出力部を介して前記外部記憶装置に前記患者情報を記憶させて情報移行を行う第2移行方法、
前記通信部を介して前記施設内サーバに前記患者情報を送信して情報移行を行う第3移行方法、及び
前記通信部を介して前記施設外サーバに前記患者情報を送信して情報移行を行う第4移行方法のいずれか1つの方法を最終選択情報に基づいて決定する、
請求項2に記載の血液浄化装置。
【請求項4】
前記最終選択情報は、前記操作者が選択した操作者選択情報、及び前記制御部が選択した制御部選択情報のいずれか一方である、
請求項3に記載の血液浄化装置。
【請求項5】
前記記憶部は、前記操作者によって初期選択された前記第1乃至第4移行方法の少なくとも1つを含む初期選択情報を記憶し、
前記制御部は、前記患者情報の移行前に、前記初期選択情報に基づいて移行方法の最終選択画像を前記ディスプレイに表示し、前記操作者選択情報を取得する、
請求項4に記載の血液浄化装置。
【請求項6】
前記記憶部は、前記操作者によって初期選択された前記第1乃至第4移行方法の少なくとも1つを含む初期選択情報を記憶し、
前記制御部は、前記初期選択情報、前記血液浄化装置の設置環境情報、前記血液浄化装置の状態情報、及び前記操作者の対応情報に基づいて、前記制御部選択情報を生成する、
請求項4に記載の血液浄化装置。
【請求項7】
前記制御部は、前記血液浄化装置の設置環境情報に基づいて、前記第1乃至第4移行方法の少なくとも1つを含む初期選択情報を生成して前記記憶部に記憶させ、
前記患者情報の移行前に、前記初期選択情報に基づいて移行方法の最終選択画像を前記ディスプレイに表示し、前記操作者選択情報を取得する、
請求項4に記載の血液浄化装置。
【請求項8】
前記制御部は、他の血液浄化装置から移行された他の患者情報を前記ディスプレイに表示する、
請求項2に記載の血液浄化装置。
【請求項9】
前記制御部は、前記他の患者情報に基づいて、前記患者の治療を再開するための移行手順情報を生成し、前記ディスプレイに表示する、
請求項8に記載の血液浄化装置。
【請求項10】
前記制御部は、前記記憶部に記憶された前記患者情報と、前記他の血液浄化装置から移行された前記他の患者情報とを比較して差分情報を抽出し、前記ディスプレイに表示する、
請求項8又は9に記載の血液浄化装置。
(【請求項11】以降は省略されています)
発明の詳細な説明
【技術分野】
【0001】
本開示は、患者の血液を浄化する血液浄化装置、血液浄化システム、及び患者情報を移行する情報移行方法であって、特に血液浄化装置から他の血液浄化装置に患者情報を移行するための技術に関する。
続きを表示(約 1,900 文字)
【背景技術】
【0002】
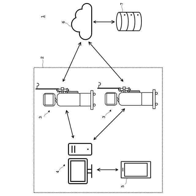
従来から、血液浄化による治療の一例として、ダイアライザ及び血液回路を有する血液浄化装置を用いた透析治療が知られている。当該透析治療においては、患者から取り出した血液を血液回路によって体外循環させつつ、血液回路に接続されたダイアライザを用いて血液浄化を行い、浄化後の血液を患者の体内に戻す処理が行われる。病院等の医療施設内には、複数台の血液浄化装置が透析室に設置されており、複数の患者に対して異なる条件による透析治療を行うことが可能である。
【0003】
当該透析治療を行う際には、各患者に対して決定された個別の治療条件が、血液浄化装置に対して事前設定される。当該事前設定は、血液浄化装置の操作者(医師又は看護師等の医療従事者)によって行われ、又は医療施設内のサーバから当該治療条件が各血液浄化装置に送信されることによって行われる。例えば、特許文献1においては、使用予定の血液浄化装置が故障した場合、他の血液浄化装置からサーバに対して、患者及び当該他の血液浄化装置の特定情報が送信され、当該サーバで算出された治療条件が当該他の血液浄化装置に返信されることが開示されている。
【0004】
また、血液浄化装置において設定された治療条件や各種の情報は、サーバに記憶され、各種の解析が行われることがある。例えば、特許文献2においては、血液浄化装置のディスプレイに表示された画像が画像取り込みデバイスによって取り込まれ、当該画像取り込みデバイスからサーバに対して当該画像が送信されることが開示されている。更に、当該サーバは、受信した画像から治療条件や各種の情報を復号する。
【0005】
ところで、透析治療中において血液浄化装置の故障や他の理由により、透析治療を中断して他の血液浄化装置による治療を継続したり、又は当該透析治療を中止することがある。他の血液浄化装置による治療の継続は、使用ができなくなった血液浄化装置(当初装置)から新たに選択された血液浄化装置(代替装置)に対して、患者の移動や各種情報の速やかな移行が可能であり、治療再開までのリードタイムが短いことが重要である。これは、治療再開までに時間がかかると、患者の血液が血液回路内に滞留し、血液凝固のリスクが高まることになるからである。
【先行技術文献】
【特許文献】
【0006】
特開2015-181726号公報
特表2014-517709号公報
【発明の概要】
【発明が解決しようとする課題】
【0007】
しかしながら、血液浄化装置の状態又は血液浄化装置の設置環境によっては、各種情報の移行を行うための好ましい方法は異なるが、これに十分対応することができず、治療再開までのリードタイムの短縮が困難になっていた。
【0008】
例えば、特許文献1に開示の血液浄化システムにおいては、サーバから代替装置への治療条件の送信は可能であるが、当初装置から治療の経過情報の取出しができず、代替装置に対する各種の情報の移行が不十分になる。また、特許文献1に開示の血液浄化システムにおいては、代替装置側において患者及び代替装置の特定情報を入力するため、入力間違い等のヒューマンエラーが生じ、その入力に時間がかかることもある。更に、特許文献2に開示の情報を転送するための方法では、各種の情報に係る画像及び画像取り込みデバイスを使用する態様に限定されるため、血液浄化装置の状態又は血液浄化装置の設置環境によっては、情報の転送が不可能な場合や時間がかかることもある。
【0009】
本開示はこのような課題に鑑みてなされたものであり、その目的とするところは、情報移行を容易且つ精確に行えるとともに、治療再開までのリードタイムを短縮することができる血液浄化装置、血液浄化システム、及び情報移行方法を提供することにある。
【課題を解決するための手段】
【0010】
本開示の一態様によれば、「患者の血液を浄化する血液浄化装置であって、前記患者の固有データ及び治療データを含む患者情報を記憶する記憶部と、前記血液浄化装置の操作者が使用する情報取得装置を介して前記患者情報を外部に出力する出力部と、通信回線を使用して前記患者情報を外部に送信する通信部と、前記出力部及び前記通信部のいずれか一方を制御して前記患者情報の移行を行う制御部と、を有する血液浄化装置。」が提供される。
(【0011】以降は省略されています)
この特許をJ-PlatPat(特許庁公式サイト)で参照する
関連特許
日機装株式会社
加圧装置
2か月前
日機装株式会社
遠心ポンプ
6日前
日機装株式会社
空気浄化装置
2か月前
日機装株式会社
細胞凝集塊回収システム
2か月前
日機装株式会社
発光素子及び外観検査方法
2か月前
日機装株式会社
キャップ、コネクタおよび装置
24日前
日機装株式会社
医療機器、表示方法およびプログラム
1か月前
日機装株式会社
血液浄化装置、血液浄化システム、及び情報移行方法
14日前
日機装株式会社
血液浄化装置
2か月前
日機装株式会社
細胞培養装置
2か月前
日機装株式会社
血液浄化器及びその製造方法
2か月前
日機装株式会社
医療機器、表示方法およびプログラム
1か月前
日機装株式会社
モータ軸受摩耗監視装置、断線検出プログラム、断線推定プログラム、および断線検出方法
1か月前
日機装株式会社
凍結された腎臓細胞の製造方法及び凍結された腎臓細胞
1か月前
個人
健康器具
8か月前
個人
鼾防止用具
8か月前
個人
歯茎みが品
9か月前
個人
短下肢装具
3か月前
個人
洗井間専家。
6か月前
個人
前腕誘導装置
3か月前
個人
導電香
8か月前
個人
脈波測定方法
8か月前
個人
脈波測定方法
8か月前
個人
排尿補助器具
9日前
個人
嚥下鍛錬装置
3か月前
個人
白内障治療法
7か月前
個人
マッサージ機
8か月前
個人
歯の修復用材料
4か月前
個人
胸骨圧迫補助具
1か月前
個人
バッグ式オムツ
4か月前
個人
汚れ防止シート
24日前
個人
ホバーアイロン
6か月前
個人
ウォート指圧法
7日前
個人
矯正椅子
4か月前
個人
アイマスク装置
1か月前
個人
車椅子持ち上げ器
7か月前
続きを見る
他の特許を見る