TOP
|
特許
|
意匠
|
商標
特許ウォッチ
Twitter
他の特許を見る
公開番号
2025180127
公報種別
公開特許公報(A)
公開日
2025-12-11
出願番号
2024087255
出願日
2024-05-29
発明の名称
ディフューザおよび遠心ポンプ
出願人
日機装株式会社
代理人
個人
主分類
F04D
29/44 20060101AFI20251204BHJP(液体用容積形機械;液体または圧縮性流体用ポンプ)
要約
【課題】遠心ポンプが設計点よりも小流量域で動作しているとき、遠心ポンプが備えるディフューザ流路内の取扱液の流れに起こる失速の発生が低減される。
【解決手段】本発明に係るディフューザ6は、ディフューザ本体7と、ディフューザ本体を収容するディフューザ筐体8と、を有してなる。ディフューザ本体は、円筒状の外周面71aと、外周面から外方に向けて延出される複数のベーン72と、を備える。ディフューザ筐体は、ディフューザ本体の外周面に対向するように配置される円筒状の内周面81b、を備える。ディフューザ筐体の内周面は、ディフューザ本体の外周面と複数のベーンと共に、取扱液が流れる複数のディフューザ流路DLを形成している。ディフューザ本体の外周面とディフューザ筐体の内周面とのうち、少なくとも一方は、複数の凹部と複数の凸部とのうち、少なくとも一方を有する凹凸面9を備える。
【選択図】図3
特許請求の範囲
【請求項1】
遠心ポンプの回転軸の軸方向において、インペラと隣接して配置されるディフューザであって、
ディフューザ本体と、
前記ディフューザ本体を収容するディフューザ筐体と、
を有してなり、
前記ディフューザ本体は、
円筒状の外周面と、
前記外周面の径方向において、前記外周面から外方に向けて延出される複数のベーンと、
を備えて、
前記ディフューザ筐体は、
前記外周面に対向するように配置される円筒状の内周面、
を備えて、
前記内周面は、前記外周面と複数の前記ベーンと共に、前記インペラから吐出された取扱液が流れる複数のディフューザ流路を形成して、
前記外周面と前記内周面とのうち、少なくとも一方は、
複数の凹部と複数の凸部とのうち、少なくとも一方を有する凹凸面、
を備える、
ディフューザ。
続きを表示(約 920 文字)
【請求項2】
前記外周面の径方向視において、複数の前記ベーンそれぞれは、
凹面状の正圧面と、
前記正圧面の反対側の面であり、凸面状の負圧面と、
を備えて、
前記凹凸面は、前記負圧面側の端部に配置される、
請求項1に記載のディフューザ。
【請求項3】
前記外周面の径方向視において、複数の前記ベーンそれぞれは、
凹面状の正圧面と、
前記正圧面の反対側の面であり、凸面状の負圧面と、
を備えて、
前記凹凸面は、前記ディフューザ流路を流れる前記取扱液の前記負圧面からの剥離が発生する領域に接する位置に配置される、
請求項1に記載のディフューザ。
【請求項4】
前記凹凸面は、前記ディフューザ流路を流れる前記取扱液の流れの下流側の端部に配置される、
請求項1に記載のディフューザ。
【請求項5】
前記凹凸面は、前記ディフューザ流路を流れる前記取扱液の流れのうち、前記取扱液の流れの下流側の端部から前記流れの上流側に向かう逆流を阻害する位置に配置される、
請求項1に記載のディフューザ。
【請求項6】
前記凹凸面は、前記外周面、および/または、前記内周面の全面に配置される、
請求項1乃至5のいずれか1項に記載のディフューザ。
【請求項7】
前記凹凸面は、前記外周面のみに配置される、
請求項1に記載のディフューザ。
【請求項8】
前記凹凸面は、前記内周面のみに配置される、
請求項1に記載のディフューザ。
【請求項9】
前記外周面の周方向と、前記軸方向と、において、前記凹部の大きさ、および/または、前記凸部の大きさの平均は、0.5mm以上8mm以下である、
請求項1に記載のディフューザ。
【請求項10】
前記凹部の深さ、および/または、前記凸部の高さの平均は、0.25mm以上4mm以下である、
請求項1に記載のディフューザ。
(【請求項11】以降は省略されています)
発明の詳細な説明
【技術分野】
【0001】
本発明は、ディフューザおよび遠心ポンプに関する。
続きを表示(約 2,400 文字)
【背景技術】
【0002】
取扱液を吸い込むインペラと、インペラよりも取扱液の流れの下流側に配置されるディフューザと、を備える遠心ポンプが知られている。ディフューザは、インペラにより取扱液に与えられた速度エネルギーを圧力エネルギーに転換する。すなわち、ディフューザは、インペラから吐出された取扱液の流速を減速して、取扱液の圧力を増加させる。その結果、遠心ポンプの吸い込み性能は向上する(例えば、特許文献1参照)。
【0003】
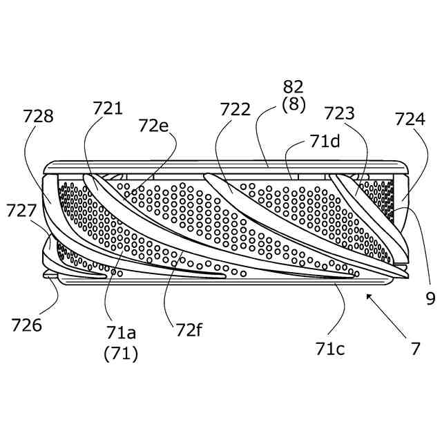
ディフューザは、ディフューザ本体と、ディフューザ本体を収容するディフューザ筐体と、を備える。ディフューザ本体は、円筒状の外周面と、外周面の径方向において外周面から外方に向けて延出される複数のベーンと、を備える。ディフューザ筐体は、ディフューザ本体の外周面に対向するように配置される。ディフューザ筐体の内周面は、ディフューザ本体の外周面と複数のベーンと共に、取扱液が流れる複数のディフューザ流路を形成している。
【先行技術文献】
【特許文献】
【0004】
特開2017-20431号公報
【発明の概要】
【発明が解決しようとする課題】
【0005】
ディフューザの形状は、遠心ポンプの設計点に基づいて設計されている。そのため、遠心ポンプが設計点よりも小流量域で動作しているとき、ディフューザ流路内の取扱液の流れが滞る失速が発生し得る。失速は、遠心ポンプに振動を発生させる旋回失速の原因になる。旋回失速が発生する小流量域では、遠心ポンプの吸い込み性能も低下する。
【0006】
本発明は、遠心ポンプが設計点よりも小流量域で動作しているとき、遠心ポンプが備えるディフューザ流路内の取扱液の流れに起こる失速の発生を低減することを目的とする。
【課題を解決するための手段】
【0007】
本発明の一実施態様におけるディフューザは、遠心ポンプの回転軸の軸方向において、インペラと隣接して配置されるディフューザであって、ディフューザ本体と、前記ディフューザ本体を収容するディフューザ筐体と、を有してなり、前記ディフューザ本体は、円筒状の外周面と、前記外周面の径方向において、前記外周面から外方に向けて延出される複数のベーンと、を備えて、前記ディフューザ筐体は、前記外周面に対向するように配置される円筒状の内周面、を備えて、前記内周面は、前記外周面と複数の前記ベーンと共に、前記インペラから吐出された取扱液が流れる複数のディフューザ流路を形成して、前記外周面と前記内周面とのうち、少なくとも一方は、複数の凹部と複数の凸部とのうち、少なくとも一方を有する凹凸面、を備える。
【0008】
本発明の一実施態様における遠心ポンプは、モータと、前記モータにより回転する回転軸と、前記回転軸に取り付けられるインペラと、前記回転軸の軸方向において、前記インペラと隣接して配置される前述の実地態様に記載のディフューザと、を有してなる。
【発明の効果】
【0009】
本発明によれば、遠心ポンプが設計点よりも小流量域で動作しているとき、遠心ポンプが備えるディフューザ流路内の取扱液の流れに起こる失速の発生が低減される。
【図面の簡単な説明】
【0010】
本発明に係る遠心ポンプの実施の形態を示す同遠心ポンプの模式断面図である。
本発明に係るディフューザの実施の形態を示す同ディフューザの斜視図である。
図2のディフューザのディフューザ筐体が取り外されたディフューザ本体の側面図である。
図1の遠心ポンプが備えるインペラとディフューザとの内部を流れる取扱液の流れを示す同遠心ポンプの部分拡大断面図である。
図2のディフューザにより形成されるディフューザ流路における取扱液の流れを説明する模式図であり、(a)は遠心ポンプが設計点で動作している状態を示す模式図であり、(b)は遠心ポンプが設計点よりも小流量域で動作している状態を示す模式図である。
本発明に係る遠心ポンプが備えるディフューザの変形例を示す凹凸面のパターンの一覧表である。
図6に示された凹凸面の凹凸の形状と凹凸面の配置面とを示す模式図である。
図6に示された凹凸面のパターン形状を示す模式図である。
図6に示された凹凸面における凹凸のピッチの大きさを示す模式図である。
図6に示された変形例(No.1~No.12)ごとの遠心ポンプの揚程の能力を示すグラフである。
図6に示された変形例(No.1~No.12)ごとの遠心ポンプのポンプ効率を示すグラフである。
図6に示された変形例(No.1~No.12)ごとのディフューザ流路の逆流量を示すグラフである。
図6に示された変形例(No.1~No.12)ごとの逆流が発生しているディフューザ流路の本数を示すグラフである。
本発明に係る遠心ポンプが備えるディフューザの別の変形例を示す凹凸面のパターンの表である。
図14に示された別の変形例(No.13)の遠心ポンプの揚程の能力を示すグラフである。
図14に示された別の変形例(No.13)の遠心ポンプのポンプ効率を示すグラフである。
図14に示された別の変形例(No.13)のディフューザ流路の逆流量を示すグラフである。
図14に示された別の変形例(No.13)の逆流が発生しているディフューザ流路の本数を示すグラフである。
【発明を実施するための形態】
(【0011】以降は省略されています)
この特許をJ-PlatPat(特許庁公式サイト)で参照する
関連特許
他の特許を見る