TOP
|
特許
|
意匠
|
商標
特許ウォッチ
Twitter
他の特許を見る
10個以上の画像は省略されています。
公開番号
2025169601
公報種別
公開特許公報(A)
公開日
2025-11-14
出願番号
2024074446
出願日
2024-05-01
発明の名称
半導体発光素子および半導体発光素子の製造方法
出願人
日機装株式会社
代理人
個人
主分類
H10H
20/832 20250101AFI20251107BHJP()
要約
【課題】半導体発光素子の光取り出し効率を向上させる。
【解決手段】半導体発光素子10は、n型AlGaN系半導体材料から構成されるn型半導体層24と、n型半導体層24上に設けられ、AlGaN系半導体材料から構成される活性層26と、活性層26上に設けられるp型半導体層28と、p型半導体層28の上面28aと接触し、10nm以下の厚さを有するRh層30aと、Rh層30aと接触し、20nm以上の厚さを有するAl層30bと、Al層30bを被覆するTiN層30dとを含み、TiN層30dの形成範囲がRh層30aの形成範囲よりも大きいp側コンタクト電極30と、を備える。
【選択図】図1
特許請求の範囲
【請求項1】
n型AlGaN系半導体材料から構成されるn型半導体層と、
前記n型半導体層上に設けられ、AlGaN系半導体材料から構成される活性層と、
前記活性層上に設けられるp型半導体層と、
前記p型半導体層の上面と接触し、10nm以下の厚さを有するRh層と、前記Rh層と接触し、20nm以上の厚さを有するAl層と、前記Al層を被覆するTiN層とを含み、前記TiN層の形成範囲が前記Rh層の形成範囲よりも大きいp側コンタクト電極と、を備える、
半導体発光素子。
続きを表示(約 690 文字)
【請求項2】
前記Al層の形成範囲は、前記Rh層の形成範囲よりも大きい、
請求項1に記載の半導体発光素子。
【請求項3】
前記TiN層の形成範囲は、前記Al層の形成範囲よりも大きい、
請求項1に記載の半導体発光素子。
【請求項4】
前記TiN層の厚さは、100nm以上である、
請求項1から3のいずれか一項に記載の半導体発光素子。
【請求項5】
n型AlGaN系半導体材料から構成されるn型半導体層上にAlGaN系半導体材料から構成される活性層を形成する工程と、
前記活性層上にp型半導体層を形成する工程と、
前記p型半導体層上にアンダーカット形状の開口を有するレジストを形成する工程と、
前記開口内において前記p型半導体層の上面と接触し、10nm以下の厚さを有するRh層を蒸着によって形成する工程と、
前記開口内において前記Rh層と接触し、20nm以上の厚さを有するAl層を形成する工程と、
前記開口内において前記Al層を被覆するTiN層をスパッタによって形成する工程と、
前記Rh層、前記Al層および前記TiN層をアニールしてp側コンタクト電極を形成する工程と、を備える、
半導体発光素子の製造方法。
【請求項6】
前記Al層は、スパッタによって形成される、
請求項5に記載の半導体発光素子の製造方法。
【請求項7】
前記Al層は、蒸着によって形成される、
請求項5に記載の半導体発光素子の製造方法。
発明の詳細な説明
【技術分野】
【0001】
本発明は、半導体発光素子および半導体発光素子の製造方法に関する。
続きを表示(約 1,600 文字)
【背景技術】
【0002】
半導体発光素子は、基板上に積層されるn型半導体層、活性層およびp型半導体層を有し、p型半導体層上にp側電極が設けられる。GaNやAlGaNなどの窒化物半導体を用いる発光素子において、発光波長に対して高い反射効率を有するRhがp側電極の材料として選択される(例えば、特許文献1参照)。
【先行技術文献】
【特許文献】
【0003】
特開2022-030948号公報
【発明の概要】
【発明が解決しようとする課題】
【0004】
光取り出し効率のさらなる向上のため、p側電極の紫外光反射量をより高めることが好ましい。
【0005】
本発明はこうした課題に鑑みてなされたものであり、半導体発光素子の光取り出し効率を向上させることを目的とする。
【課題を解決するための手段】
【0006】
本発明のある態様の半導体発光素子は、n型AlGaN系半導体材料から構成されるn型半導体層と、n型半導体層上に設けられ、AlGaN系半導体材料から構成される活性層と、活性層上に設けられるp型半導体層と、p型半導体層の上面と接触し、10nm以下の厚さを有するRh層と、Rh層と接触し、20nm以上の厚さを有するAl層と、Al層を被覆するTiN層とを含み、TiN層の形成範囲がRh層の形成範囲よりも大きいp側コンタクト電極と、を備える。
【0007】
本発明の別の態様は、半導体発光素子の製造方法である。この方法は、n型AlGaN系半導体材料から構成されるn型半導体層上にAlGaN系半導体材料から構成される活性層を形成する工程と、活性層上にp型半導体層を形成する工程と、p型半導体層上にアンダーカット形状の開口を有するレジストを形成する工程と、開口内においてp型半導体層の上面と接触し、10nm以下の厚さを有するRh層を蒸着によって形成する工程と、開口内においてRh層と接触し、20nm以上の厚さを有するAl層を形成する工程と、開口内においてAl層を被覆するTiN層をスパッタによって形成する工程と、Rh層、Al層およびTiN層をアニールしてp側コンタクト電極を形成する工程と、を備える。
【発明の効果】
【0008】
本発明によれば、半導体発光素子の光取り出し効率を向上できる。
【図面の簡単な説明】
【0009】
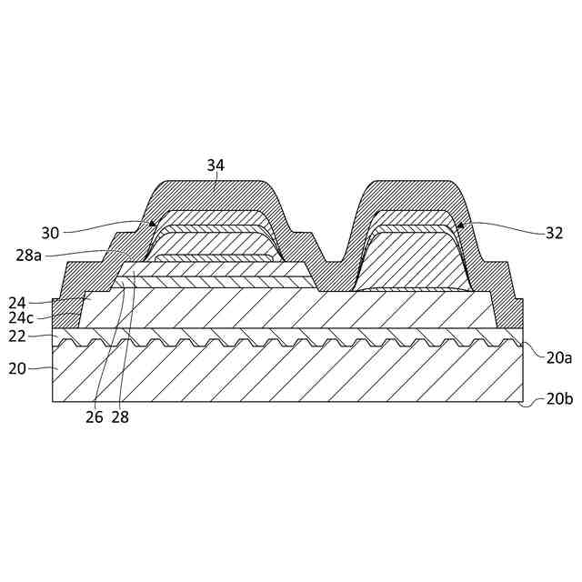
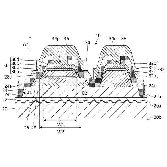
第1実施形態に係る半導体発光素子の構成を概略的に示す断面図である。
p側コンタクト電極の反射率を示すグラフである。
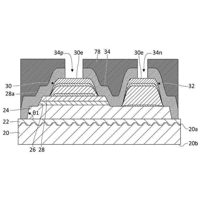
第1実施形態に係る半導体発光素子の製造工程を概略的に示す図である。
第1実施形態に係る半導体発光素子の製造工程を概略的に示す図である。
第1実施形態に係る半導体発光素子の製造工程を概略的に示す図である。
第1実施形態に係る半導体発光素子の製造工程を概略的に示す図である。
第1実施形態に係る半導体発光素子の製造工程を概略的に示す図である。
第1実施形態に係る半導体発光素子の製造工程を概略的に示す図である。
第1実施形態に係る半導体発光素子の製造工程を概略的に示す図である。
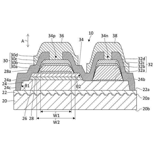
第2実施形態に係る半導体発光素子の構成を概略的に示す断面図である。
【発明を実施するための形態】
【0010】
以下、図面を参照しながら、本発明を実施するための形態について詳細に説明する。なお、説明において同一の要素には同一の符号を付し、重複する説明を適宜省略する。また、説明の理解を助けるため、各図面における各構成要素の寸法比は、必ずしも実際の発光素子の寸法比と一致しない。
(【0011】以降は省略されています)
この特許をJ-PlatPat(特許庁公式サイト)で参照する
関連特許
日機装株式会社
加圧装置
18日前
日機装株式会社
遠心ポンプ
1か月前
日機装株式会社
半導体発光装置
5日前
日機装株式会社
キャップ、コネクタおよび装置
1か月前
日機装株式会社
医療機器、表示方法およびプログラム
1か月前
日機装株式会社
乳酸吸着剤、乳酸除去装置および乳酸除去方法
20日前
日機装株式会社
半導体発光素子および半導体発光素子の製造方法
3日前
日機装株式会社
血液浄化装置、血液浄化システム、及び情報移行方法
1か月前
日機装株式会社
医療機器、表示方法およびプログラム
1か月前
個人
半導体装置
1か月前
個人
積和演算用集積回路
11日前
東レ株式会社
太陽電池モジュール
1か月前
エイブリック株式会社
半導体装置
1か月前
サンケン電気株式会社
半導体装置
10日前
エイブリック株式会社
縦型ホール素子
1か月前
日機装株式会社
半導体発光装置
5日前
旭化成株式会社
発光素子
20日前
エイブリック株式会社
縦型ホール素子
1か月前
ローム株式会社
半導体装置
1か月前
富士通株式会社
半導体装置
1か月前
ローム株式会社
抵抗チップ
25日前
三菱電機株式会社
半導体装置
19日前
三菱電機株式会社
半導体装置
1か月前
株式会社半導体エネルギー研究所
表示装置
1か月前
富士電機株式会社
半導体装置
1か月前
日亜化学工業株式会社
発光素子
1か月前
ローム株式会社
半導体集積回路
19日前
日亜化学工業株式会社
発光装置
1か月前
日亜化学工業株式会社
発光装置
20日前
ミツミ電機株式会社
半導体装置
1か月前
TDK株式会社
圧電素子
1か月前
ローム株式会社
半導体装置
26日前
ローム株式会社
窒化物半導体装置
25日前
富士電機株式会社
半導体装置の製造方法
1か月前
TDK株式会社
光検知装置
1か月前
ローム株式会社
半導体装置
10日前
続きを見る
他の特許を見る