TOP
|
特許
|
意匠
|
商標
特許ウォッチ
Twitter
他の特許を見る
10個以上の画像は省略されています。
公開番号
2025178076
公報種別
公開特許公報(A)
公開日
2025-12-05
出願番号
2024209746
出願日
2024-12-02
発明の名称
発光装置
出願人
日亜化学工業株式会社
代理人
弁理士法人ITOH
主分類
H10H
20/85 20250101AFI20251128BHJP()
要約
【課題】光取り出し効率の向上と、誘電体膜と透光性部材との間の接合強度の向上とを両立することができる発光装置を提供する。
【解決手段】発光装置は、発光層を含む半導体部と、前記半導体部の上面に配置され、酸化物を含む誘電体膜と、前記誘電体膜の上面に配置された透光性部材と、を有し、前記誘電体膜の屈折率は、前記半導体部の屈折率より小さく、前記半導体部の屈折率より前記透光性部材の屈折率に近く、前記酸化物は、Al及びTaを含み、前記酸化物に含まれるAlの第1量と前記酸化物に含まれるTaの第2量との和を100at%としたときに、前記第2量は、0at%より大きく60at%以下である。
【選択図】図5
特許請求の範囲
【請求項1】
発光層を含む半導体部と、
前記半導体部の上面に配置され、酸化物を含む誘電体膜と、
前記誘電体膜の上面に配置された透光性部材と、
を有し、
前記誘電体膜の屈折率は、前記半導体部の屈折率より小さく、前記半導体部の屈折率より前記透光性部材の屈折率に近く、
前記酸化物は、Al及びTaを含み、
前記酸化物に含まれるAlの第1量と前記酸化物に含まれるTaの第2量との和を100at%としたときに、前記第2量は、0at%より大きく60at%以下である、発光装置。
続きを表示(約 640 文字)
【請求項2】
前記第2量は、0at%より大きく、25at%より小さい、請求項1に記載の発光装置。
【請求項3】
前記第2量は、25at%以上60at%以下である、請求項1に記載の発光装置。
【請求項4】
前記半導体部の上面の算術平均粗さRaは、100nm以上250nm以下である、請求項1から請求項3のいずれか1項に記載の発光装置。
【請求項5】
前記誘電体膜の屈折率は、前記透光性部材の屈折率より大きい、請求項1から請求項3のいずれか1項に記載の発光装置。
【請求項6】
前記誘電体膜に含まれるTaの量は、前記誘電体膜の下面側において上面側よりも多い、請求項1から請求項3のいずれか1項に記載の発光装置。
【請求項7】
前記透光性部材は、蛍光体を含む、請求項1から請求項3のいずれか1項に記載の発光装置。
【請求項8】
前記発光層は、発光ピーク波長が350nm以上500nm以下の範囲にある光を発する、請求項1から請求項3のいずれか1項に記載の発光装置。
【請求項9】
前記透光性部材の屈折率は、1.7以上1.9以下である、請求項1から請求項3のいずれか1項に記載の発光装置。
【請求項10】
前記半導体部の屈折率は、2.0以上3.0以下である、請求項1から請求項3のいずれか1項に記載の発光装置。
(【請求項11】以降は省略されています)
発明の詳細な説明
【技術分野】
【0001】
本開示は、発光装置に関する。
続きを表示(約 2,100 文字)
【背景技術】
【0002】
特許文献1には、透明基板の表面に発光部が形成された発光装置が開示されている。発光装置によっては、透明基板と発光部との間に誘電体膜が配置されることがある。
【先行技術文献】
【特許文献】
【0003】
特開2017-174909号公報
【発明の概要】
【発明が解決しようとする課題】
【0004】
本開示は、光取り出し効率の向上と、誘電体膜と透光性部材との間の接合強度の向上とを両立することができる発光装置を提供することを目的とする。
【課題を解決するための手段】
【0005】
開示の技術の一態様によれば、発光装置は、発光層を含む半導体部と、前記半導体部の上面に配置され、酸化物を含む誘電体膜と、前記誘電体膜の上面に配置された透光性部材と、を有し、前記誘電体膜の屈折率は、前記半導体部の屈折率より小さく、前記半導体部の屈折率より前記透光性部材の屈折率に近く、前記酸化物は、Al及びTaを含み、前記酸化物に含まれるAlの第1量と前記酸化物に含まれるTaの第2量との和を100at%としたときに、前記第2量は、0at%より大きく60at%以下である。
【0006】
開示の技術の一態様によれば、発光装置は、発光層を含む半導体部と、前記半導体部の上面に配置された第1透光性部材と、前記第1透光性部材の上面に配置され、酸化物を含む誘電体膜と、前記誘電体膜の上面に配置された第2透光性部材と、を有し、前記誘電体膜の屈折率は、前記半導体部の屈折率より小さく、前記半導体部の屈折率より前記第2透光性部材の屈折率に近く、前記第1透光性部材の屈折率は、前記半導体部の屈折率より小さく、前記半導体部の屈折率より前記誘電体膜の屈折率に近く、前記酸化物は、Al及びTaを含み、前記酸化物に含まれるAlの第1量と前記酸化物に含まれるTaの第2量との和を100at%としたときに、前記第2量は、0at%より大きく60at%以下である。
【発明の効果】
【0007】
本開示によれば、光取り出し効率の向上と、誘電体膜と透光性部材との間の接合強度の向上とを両立することができる。
【図面の簡単な説明】
【0008】
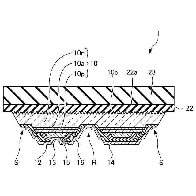
第1実施形態に係る発光装置を例示する断面図である。
誘電体膜の組成と表面エネルギおよび屈折率との関係を示す図である。
誘電体膜の組成と光の透過率との関係を示す図である。
誘電体膜の組成と光の透過率との関係を示す図である。
酸化物に含まれるTaの量と光取り出し効率との関係を示す図である。
第1実施形態に係る発光装置の製造方法を例示する断面図である。
第1実施形態に係る発光装置の製造方法を例示する断面図である。
第1実施形態に係る発光装置の製造方法を例示する断面図である。
第1実施形態に係る発光装置の製造方法を例示する断面図である。
第1実施形態に係る発光装置の製造方法を例示する断面図である。
第1実施形態に係る発光装置の製造方法を例示する断面図である。
第1実施形態に係る発光装置の製造方法を例示する断面図である。
第1実施形態に係る発光装置の製造方法を例示する断面図である。
第1実施形態に係る発光装置の製造方法を例示する平面図である。
第2実施形態に係る発光装置を例示する断面図である。
第2実施形態に係る発光装置の製造方法を例示する断面図である。
第2実施形態に係る発光装置の製造方法を例示する断面図である。
第2実施形態に係る発光装置の製造方法を例示する断面図である。
第2実施形態に係る発光装置の製造方法を例示する断面図である。
第2実施形態に係る発光装置の製造方法を例示する断面図である。
第2実施形態に係る発光装置の製造方法を例示する断面図である。
【発明を実施するための形態】
【0009】
以下、図面を参照しながら、本開示を実施するための実施形態を説明する。以下の説明は、本開示の技術思想を具体化するためのものであって、特定的な記載がない限り、本開示を以下の記載に限定するものではない。
【0010】
各図面中、同一の機能を有する部材には、同一符号を付している場合がある。要点の説明または理解の容易性を考慮して、便宜上実施形態に分けて示す場合があるが、異なる実施形態や実施例で示した構成の部分的な置換または組み合わせは可能である。後に示す実施形態では、先に示した実施形態との異なる事項について主に説明し、先に示した実施形態と共通の事柄について重複する説明を省略することがある。各図面が示す部材の大きさや位置関係等は、説明を明確にするため、誇張して示している場合がある。図面が過度に複雑になることを避けるために、一部の要素の図示を省略したり、断面図として切断面のみを示す端面図を用いたりする場合がある。
(【0011】以降は省略されています)
この特許をJ-PlatPat(特許庁公式サイト)で参照する
関連特許
個人
積和演算用集積回路
1か月前
サンケン電気株式会社
半導体装置
29日前
日機装株式会社
半導体発光装置
24日前
エイブリック株式会社
縦型ホール素子
1か月前
旭化成株式会社
発光素子
1か月前
エイブリック株式会社
縦型ホール素子
1か月前
ローム株式会社
半導体装置
8日前
ローム株式会社
抵抗チップ
1か月前
株式会社半導体エネルギー研究所
表示装置
8日前
富士電機株式会社
半導体装置
1か月前
株式会社東芝
半導体装置
16日前
株式会社半導体エネルギー研究所
表示装置
1か月前
三菱電機株式会社
半導体装置
1か月前
三菱電機株式会社
半導体装置
3日前
三菱電機株式会社
半導体装置
16日前
ローム株式会社
半導体集積回路
1か月前
日亜化学工業株式会社
発光装置
1か月前
ローム株式会社
半導体装置
1日前
ローム株式会社
窒化物半導体装置
1か月前
富士電機株式会社
半導体装置の製造方法
1か月前
サンケン電気株式会社
半導体装置
16日前
株式会社半導体エネルギー研究所
発光デバイス
1か月前
株式会社半導体エネルギー研究所
発光デバイス
24日前
ローム株式会社
窒化物半導体装置
1か月前
ローム株式会社
半導体装置
29日前
ローム株式会社
半導体装置
1か月前
ローム株式会社
半導体装置
1か月前
日亜化学工業株式会社
発光素子
29日前
大日本印刷株式会社
太陽電池
1か月前
新電元工業株式会社
半導体素子
1日前
新電元工業株式会社
半導体素子
1日前
新電元工業株式会社
半導体素子
1日前
ローム株式会社
光センサ
1か月前
日亜化学工業株式会社
発光素子
29日前
日亜化学工業株式会社
発光装置
1か月前
日亜化学工業株式会社
発光装置
1か月前
続きを見る
他の特許を見る