TOP
|
特許
|
意匠
|
商標
特許ウォッチ
Twitter
他の特許を見る
公開番号
2025162750
公報種別
公開特許公報(A)
公開日
2025-10-28
出願番号
2024066151
出願日
2024-04-16
発明の名称
発光素子
出願人
旭化成株式会社
代理人
個人
,
個人
主分類
H10H
20/825 20250101AFI20251021BHJP()
要約
【課題】発光効率をさらに向上させることが可能な発光素子を提供する。
【解決手段】発光素子は、基板と、基板の第1主面上に設けられ、第1主面に平行な水平方向に広がる発光層と、を備える。発光層は、Al
a
Ga
1-a
NとAl
b
Ga
1-b
Nとを含み、Al
a
Ga
1-a
NをAl
b
Ga
1-b
Nが水平方向で隣接して挟む量子井戸層と、Al
c
Ga
1-c
Nを含む障壁層と、を有する。Al
c
Ga
1-c
NがAl
a
G
a1-a
Nの少なくとも一部を第1主面に垂直な垂直方向で隣接して挟む(0≦a<b<c≦1)。
【選択図】図1
特許請求の範囲
【請求項1】
基板と、
前記基板の第1主面上に設けられ、前記第1主面に平行な水平方向に広がる発光層と、を備え、
前記発光層は、
Al
a
Ga
1-a
NとAl
b
Ga
1-b
Nとを含み、前記Al
a
Ga
1-a
Nを前記Al
b
Ga
1-b
Nが水平方向で隣接して挟む量子井戸層と、
Al
c
Ga
1-c
Nを含む障壁層と、を有し、
前記Al
c
Ga
1-c
Nが前記Al
a
Ga
1-a
Nの少なくとも一部を前記第1主面に垂直な垂直方向で隣接して挟む(0≦a<b<c≦1)、発光素子。
続きを表示(約 1,600 文字)
【請求項2】
前記量子井戸層は、Al
d
Ga
1-d
Nをさらに含み、
前記水平方向で前記Al
b
Ga
1-b
N、前記Al
a
Ga
1-a
N、前記Al
b
Ga
1-b
N、前記Al
d
Ga
1-d
N、前記Al
b
Ga
1-b
N、前記Al
a
Ga
1-a
N、前記Al
b
Ga
1-b
N、前記Al
d
Ga
1-d
N・・・の順で並んでおり、
前記Al
c
Ga
1-c
Nが前記Al
b
Ga
1-b
Nの少なくとも一部を前記垂直方向で隣接して挟む(0≦b<d<c≦1)、請求項1に記載の発光素子。
【請求項3】
前記障壁層は、Al
e
Ga
1-e
Nをさらに含み、
前記水平方向で前記Al
c
Ga
1-c
Nが前記Al
e
Ga
1-e
Nを隣接して挟み、
前記Al
a
Ga
1-a
Nが前記Al
e
Ga
1-e
Nの少なくとも一部を前記垂直方向で隣接して挟む(0≦a<e<c≦1)、請求項2に記載の発光素子。
【請求項4】
前記障壁層は、Al
f
Ga
1-f
Nをさらに含み、
前記水平方向で前記Al
e
Ga
1-e
N、前記Al
c
Ga
1-c
N、前記Al
f
Ga
1-f
N、前記Al
c
Ga
1-c
N、前記Al
e
Ga
1-e
N、前記Al
c
Ga
1-c
N、前記Al
f
Ga
1-f
N、前記Al
c
Ga
1-c
N・・・の順で並んでおり、
前記Al
d
Ga
1-d
Nが前記Al
f
Ga
1-f
Nの少なくとも一部を前記垂直方向で隣接して挟む(0≦d<c<f≦1)、請求項3に記載の発光素子。
【請求項5】
前記発光層上に設けられ、前記水平方向にAl組成比率が均一なAl
g
Ga
1-g
N層を備える、請求項1から4のいずれか1項に記載の発光素子。
【請求項6】
前記Al
g
Ga
1-g
N層上に設けられたAlGaN薄膜を備え、
前記AlGaN薄膜の最上層は、前記水平方向のAl組成比率が均一なAl
h
Ga
1-h
N層(0≦h≦1)である、請求項5に記載の発光素子。
【請求項7】
前記発光層下に設けられた導電層をさらに備え、
前記導電層は、Al
i
Ga
1-i
NとAl
j
Ga
1-j
Nとを含み、前記Al
i
Ga
1-i
Nを前記Al
j
Ga
1-j
Nが前記水平方向で隣接して挟む(0<i<j≦1)、請求項1から4のいずれか1項に記載の発光素子。
【請求項8】
e≦dである請求項3に記載の発光素子。
発明の詳細な説明
【技術分野】
【0001】
本発明は、発光素子に関する。
続きを表示(約 1,800 文字)
【背景技術】
【0002】
III族原料としてAlとGaの混晶を用い、V族原料としてNを用いたAlGaN混晶は、発光素子、電力変換素子、受光素子等に用いられる。このAlGaNを発光層の材料として用いた発光素子、例えば、LED(Light Emitting Diode)やレーザーダイオードは、紫外線を発する発光素子として用いられる。AlGaNを発光層の材料として用いたLED(以下、AlGaN-LED)は、その発する光のエネルギーが大きいために、発光効率の高い素子開発が課題となっている。AlGaN-LEDの発光効率を高めるために、特許文献1で記載されるような発光層を、数nmのAl
o
Ga
1-o
N井戸層と数nmのAl
p
Ga
1-p
N(p<o)障壁層を周期的に基板上に積層する、量子井戸構造が広く用いられる。
【0003】
これは、井戸層を障壁層で挟み、井戸層と障壁層との間にキャリア伝導におけるエネルギー障壁を作ることで、効率よく注入された電子、正孔を井戸層に閉じ込めて発光効率を向上させている。特許文献2では更に、発光層および発光層の下地である半導体層にGaの偏析を生じさせ、局所的にエネルギーの低い箇所を作ることで、電子あるいは正孔が輸送されやすい箇所を意図的に作った構造が示されている。この構造では、電子および正孔がAlのIII族組成比率(Al/(Al+Ga)モル比率、以下、Al比率)の低い領域に集中し、発光効率を向上させている。
【先行技術文献】
【特許文献】
【0004】
特願2021-013913号
国際公開第2022/091173号
【発明の概要】
【発明が解決しようとする課題】
【0005】
AlGaN-LEDの発光効率を向上させるために、エネルギーポテンシャルが周囲よりも低い領域を作ることは、電子あるいは正孔を閉じ込める上で有効である。しかしながら、AlGaN-LEDの発光効率は未だ10%以下と低く、この指針に基づいた設計技術は未だ開発途上であり、さらに改良する余地がある。
【0006】
本発明はこのような事情に鑑みてなされたものであって、発光効率をさらに向上させることが可能な発光素子の提供を目的とする。
【課題を解決するための手段】
【0007】
上記課題を解決するために、本発明の一態様に係る発光素子は、基板と、前記基板の第1主面上に設けられ、前記第1主面に平行な水平方向に広がる発光層と、を備える。前記発光層は、Al
a
Ga
1-a
NとAl
b
Ga
1-b
Nとを含み、前記Al
a
Ga
1-a
Nを前記Al
b
Ga
1-b
Nが水平方向で隣接して挟む量子井戸層と、Al
c
Ga
1-c
Nを含む障壁層と、を有する。前記Al
c
Ga
1-c
Nが前記Al
a
G
a1-a
Nの少なくとも一部を前記第1主面に垂直な垂直方向で隣接して挟む(0≦a<b<c≦1)。
【発明の効果】
【0008】
本発明の一態様によれば、発光効率をさらに向上させることが可能な発光素子を提供することができる。
【図面の簡単な説明】
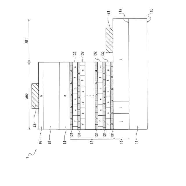
【0009】
本発明の実施形態に係るAlGaNを用いたLEDの構成例を示す断面図である。
本発明の実施形態に係るAlGaNを用いたLEDのメサ構造の構成例を示す断面図である。
【発明を実施するための形態】
【0010】
以下において、図面を参照して本発明の実施形態を説明する。以下の説明で参照する図面の記載において、同一又は類似の部分には同一又は類似の符号を付している。ただし、図面は模式的なものであり、厚みと平面寸法との関係、各層の厚みの比率等は現実のものとは異なることに留意すべきである。したがって、具体的な厚みや寸法は以下の説明を参酌して判断すべきものである。また、図面相互間においても互いの寸法の関係や比率が異なる部分が含まれていることは勿論である。
(【0011】以降は省略されています)
この特許をJ-PlatPat(特許庁公式サイト)で参照する
関連特許
旭化成株式会社
成形体
1か月前
旭化成株式会社
成形体
1か月前
旭化成株式会社
フィルム
1か月前
旭化成株式会社
検査装置
1か月前
旭化成株式会社
発光素子
22日前
旭化成株式会社
フィルム
1か月前
旭化成株式会社
ゴム組成物
2か月前
旭化成株式会社
顆粒及び錠剤
1か月前
旭化成株式会社
紫外線照射装置
1か月前
旭化成株式会社
表面保護フィルム
1か月前
旭化成株式会社
燃料電池用成形品
1か月前
旭化成株式会社
ポリアミド組成物
21日前
旭化成株式会社
ポリアミド組成物
21日前
旭化成株式会社
積層体及び光学部材
1か月前
旭化成株式会社
電解装置の運転方法
29日前
旭化成株式会社
分析方法及び分析装置
1か月前
旭化成株式会社
分析方法及び分析装置
1か月前
旭化成株式会社
光照射成形体の製造方法
1か月前
旭化成株式会社
組成物及びカプセル製剤
1か月前
旭化成株式会社
水添共役ジエン系重合体
1か月前
旭化成株式会社
酸性植物ミルク含有飲料
1か月前
旭化成株式会社
ポリカーボネートジオール
14日前
旭化成株式会社
粉末ポリアミドの製造方法
1か月前
旭化成株式会社
検査装置および検査システム
2か月前
旭化成株式会社
プラスチックレンズの製造方法
1か月前
旭化成株式会社
プラスチックレンズの製造方法
1か月前
旭化成株式会社
ポリエチレン樹脂及びフィルム
1か月前
旭化成株式会社
硬化性組成物、及びその硬化物
2か月前
旭化成株式会社
ポリオレフィン系多層フィルム
1か月前
旭化成株式会社
生体電極用導電布及びその用途
1か月前
旭化成株式会社
イソシアネート化合物の製造方法
1か月前
旭化成株式会社
イソシアネート化合物の製造方法
1か月前
旭化成株式会社
ポリアミド樹脂組成物及び成形品
12日前
旭化成株式会社
セルロース複合体及びその製造方法
1か月前
旭化成株式会社
ポリカーボネートポリオール組成物
1か月前
旭化成株式会社
水素製造システム及び水素製造方法
1か月前
続きを見る
他の特許を見る