TOP
|
特許
|
意匠
|
商標
特許ウォッチ
Twitter
他の特許を見る
10個以上の画像は省略されています。
公開番号
2025177924
公報種別
公開特許公報(A)
公開日
2025-12-05
出願番号
2024085086
出願日
2024-05-24
発明の名称
半導体素子
出願人
新電元工業株式会社
代理人
めぶき弁理士法人
主分類
H10D
30/47 20250101AFI20251128BHJP()
要約
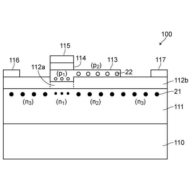
【課題】ノーマリオフ型でありながら、オン抵抗の増大が抑制された半導体素子を提供する。
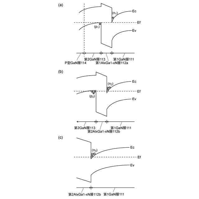
【解決手段】半導体素子100は、第1GaN層111とAl
x
Ga
1-x
N(0<x≦1)層112aと第2Al
x
Ga
1-x
N(0<x≦1)層112bと第2GaN層113とp型GaN層114とを有する。第1Al
x
Ga
1-x
N層112aは、無ゲートバイアス状態において、第1GaN層111と第1Al
x
Ga
1-x
N層112aとの間のヘテロ界面に2次元電子ガス21が形成されない厚さに形成される。第2Al
x
Ga
1-x
N層122bは、無ゲートバイアス状態において、第1GaN層111と第2Al
x
Ga
1-x
N層112bとの間のヘテロ界面に2次元電子ガス21が形成される厚さに形成されている。第1Al
x
Ga
1-x
N層112aは、少なくともゲート電極115が形成された領域に形成されている。
【選択図】図1
特許請求の範囲
【請求項1】
第1GaN層と、
前記第1GaN層の上に形成された第1Al
x
Ga
1-x
N(0<x≦1)層と、
前記第1GaN層の上に前記第1Al
x
Ga
1-x
N層と隣接して形成された第2Al
x
Ga
1-x
N(0<x≦1)層と、
前記第1Al
x
Ga
1-x
N層及び前記第2Al
x
Ga
1-x
N層の上に形成された第2GaN層と、
前記第2GaN層の上に形成されたp型GaN層と、
前記第2Al
x
Ga
1-x
N層の上に形成されたソース電極と、
前記第2Al
x
Ga
1-x
N層の上に形成されたドレイン電極と、
前記p型GaN層と電気的に接続されたゲート電極と、を有し、
前記p型GaN層は、前記第2GaN層の上の前記ソース電極側の領域に島状に形成され、
前記第1Al
x
Ga
1-x
N層は、無ゲートバイアス状態において、前記第1GaN層と前記第1Al
x
Ga
1-x
N層との間のヘテロ界面の近傍における前記第1GaN層の部分に2次元電子ガスが形成されない厚さに形成され、
前記第2Al
x
Ga
1-x
N層は、無ゲートバイアス状態において、前記第1GaN層と前記第2Al
x
Ga
1-x
N層との間のヘテロ界面の近傍における前記第1GaN層の部分に2次元電子ガスが形成される厚さに形成され、
前記第1Al
x
Ga
1-x
N層は、少なくとも前記ゲート電極が形成された領域に形成されていること、を特徴とする半導体素子。
続きを表示(約 190 文字)
【請求項2】
請求項1に記載の半導体素子であって、
前記第1Al
x
Ga
1-x
N層は、前記第2GaN層が形成された領域に形成されていること、を特徴とする半導体素子。
【請求項3】
請求項1又は2に記載の半導体素子であって、
ノーマリオフ型GaN系電界効果トランジスタであること、を特徴とする半導体素子。
発明の詳細な説明
【技術分野】
【0001】
本発明は、半導体素子に関する。
続きを表示(約 2,100 文字)
【背景技術】
【0002】
高周波特性に優れる半導体素子として、HEMT(High Electron Mobility Transistor)の開発が行われている。HEMTの一つとして、GaN層の上に、Al
x
Ga
1-x
N(0<x≦1)(以下、「AlGaN」と記すことがある。)の薄膜を結晶成長させることにより形成されたAlGaN/GaNヘテロ接合を有するGaN系電界効果トランジスタが挙げられる。GaN系電界効果トランジスタにおいては、AlGaN/GaN接合面に、移動度が高い2次元電子が集まって形成された2次元電子ガス(以下、「2DEG」と記すことがある。)の層が形成される。2DEGは、GaN層とAl
x
Ga
1-x
N層とのヘテロ界面を自由に移動することができる(特許文献1参照)。
【先行技術文献】
【特許文献】
【0003】
特開2013-239735号公報
【発明の概要】
【発明が解決しようとする課題】
【0004】
ところで、AlGaN/GaN構造を有するGaN系電界効果トランジスタにおいては、しきい値電圧は負の値を取ることが多い。しきい値電圧が負の値である場合、ノーマリオン型となる。ところが、GaN系電界効果トランジスタをスイッチング素子として使用する場合、特に大電力を取り扱う分野で使用する場合には、ゲートに正電圧を与えた場合に導通するノーマリオフ型の素子である方が好ましい。
【0005】
GaN系電界効果トランジスタにおいて、ノーマリオフ化するために、例えば、Al
x
Ga
1-x
N層の厚さを薄くする、Al
x
Ga
1-x
N層のAlの組成比を小さくする、等の方法があげられる。
【0006】
図8は、Al
x
Ga
1-x
N層912の厚さを薄くすることによりノーマリオフ化したGaN系電界効果トランジスタ900を示す図である。図9は、Al
x
Ga
1-x
N層912の厚さを薄くすることによりノーマリオフ化したGaN系電界効果トランジスタ900におけるオン抵抗Ronを説明するために示す図である。
【0007】
図8に示すGaN系電界効果トランジスタ900は、基板910と、基板910の上に形成された第1GaN層911と、第1GaN層911の上に形成されたAl
x
Ga
1-x
N(0<x≦1)層912(以下、単に「Al
x
Ga
1-x
N層912」と記すことがある。)と、Al
x
Ga
1-x
N層912の上に形成された第2GaN層913と、第2GaN層913の上に形成されたp型GaN層914とを有する。
【0008】
図8に、GaN系電界効果トランジスタ900において、ゲートバイアス状態で、第1GaN層911とAl
x
Ga
1-x
N層912との間のヘテロ界面の近傍における第1GaN層911の部分に形成される2次元電子ガス21(以下、「2DEG21」と記すことがある。)を黒い丸で示す。また、ゲートバイアス状態において、第2GaN層913とAl
x
Ga
1-x
N層912との間のヘテロ界面の近傍における第2GaN層913の部分に形成される2次元正孔ガス22(以下、「2DHG22」と記すことがある。)を白い丸で示す。
【0009】
Al
x
Ga
1-x
N層912は、無ゲートバイアス状態において、第1GaN層911とAl
x
Ga
1-x
N層912との間のヘテロ界面の近傍における第1GaN層911の部分に2DEG21が形成されない厚さに形成されている。これにより、GaN系電界効果トランジスタ900をノーマリオフ型として機能させることができる。
【0010】
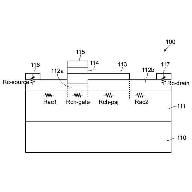
ドレイン-ソース間のオン抵抗Ronは、下式で表される。
TIFF
2025177924000002.tif
19
170
ただし、Rc-sourceはソース電極916の抵抗を、Rac1はアクセス抵抗であってソース電極916とゲート電極915との間の部分の抵抗を、Rch-gateはゲート電極915の部分の抵抗を、Rch-PSJはPSJ領域の抵抗を、Rac2はアクセス抵抗であってPSJ領域とドレイン電極917との間の部分の抵抗を、Rc-drainはドレイン電極917の抵抗を、それぞれ示す。
(【0011】以降は省略されています)
この特許をJ-PlatPat(特許庁公式サイト)で参照する
関連特許
個人
積和演算用集積回路
1か月前
サンケン電気株式会社
半導体装置
29日前
旭化成株式会社
発光素子
1か月前
日機装株式会社
半導体発光装置
24日前
ローム株式会社
半導体装置
8日前
株式会社半導体エネルギー研究所
表示装置
8日前
株式会社東芝
半導体装置
16日前
三菱電機株式会社
半導体装置
1か月前
三菱電機株式会社
半導体装置
3日前
三菱電機株式会社
半導体装置
16日前
日亜化学工業株式会社
発光装置
1か月前
ローム株式会社
半導体集積回路
1か月前
サンケン電気株式会社
半導体装置
16日前
株式会社半導体エネルギー研究所
発光デバイス
24日前
株式会社半導体エネルギー研究所
発光デバイス
1か月前
ローム株式会社
半導体装置
29日前
ローム株式会社
半導体装置
1日前
日亜化学工業株式会社
発光素子
29日前
新電元工業株式会社
半導体素子
1日前
新電元工業株式会社
半導体素子
1日前
新電元工業株式会社
半導体素子
1日前
日本ゼオン株式会社
構造体
1か月前
日亜化学工業株式会社
発光装置
1か月前
日亜化学工業株式会社
発光装置
1か月前
ローム株式会社
半導体装置
16日前
日亜化学工業株式会社
発光素子
29日前
日亜化学工業株式会社
発光装置
1日前
日亜化学工業株式会社
発光装置の製造方法及び発光装置
1か月前
住友電気工業株式会社
炭化珪素半導体装置
8日前
株式会社東芝
半導体装置及びウエーハ
1か月前
株式会社東芝
ウエーハ及び半導体装置
9日前
株式会社東芝
ウエーハ及び半導体装置
9日前
ローム株式会社
半導体装置
29日前
シチズン電子株式会社
発光装置
29日前
京セラ株式会社
配線基板及びLEDモジュール
29日前
住友電気工業株式会社
受光素子
29日前
続きを見る
他の特許を見る