TOP
|
特許
|
意匠
|
商標
特許ウォッチ
Twitter
他の特許を見る
公開番号
2025173213
公報種別
公開特許公報(A)
公開日
2025-11-27
出願番号
2024078692
出願日
2024-05-14
発明の名称
ウエーハ及び半導体装置
出願人
株式会社東芝
代理人
弁理士法人iX
主分類
H10D
30/66 20250101AFI20251119BHJP()
要約
【課題】特性を安定化できるウエーハ及び半導体装置を提供する。
【解決手段】実施形態によれば、ウエーハは、炭化珪素を含む基板を含む。前記基板は、第1面及び第2面を含む。前記基板は、前記第2面から前記第1面への第1方向において前記第2面と前記第1面との間の第1領域と、前記第1方向において前記第2面と前記第1領域との間の第2領域と、前記第1方向において前記第1領域と前記第1面との間の第3領域と、を含む。前記基板は、窒素を含む。前記第1領域は、リン及びヒ素よりなる群から選択された少なくとも1つを含む第1元素を含む。前記第1領域における前記第1元素の第1濃度は、前記第2領域における前記第1元素の第2濃度よりも高く、前記第3領域における前記第1元素の第3濃度よりも高い。
【選択図】図1
特許請求の範囲
【請求項1】
炭化珪素を含む基板を備え、
前記基板は、第1面及び第2面を含み、
前記基板は、
前記第2面から前記第1面への第1方向において前記第2面と前記第1面との間の第1領域と、
前記第1方向において前記第2面と前記第1領域との間の第2領域と、
前記第1方向において前記第1領域と前記第1面との間の第3領域と、
を含み、
前記基板は、窒素を含み、
前記第1領域は、リン及びヒ素よりなる群から選択された少なくとも1つを含む第1元素を含み、
前記第1領域における前記第1元素の第1濃度は、前記第2領域における前記第1元素の第2濃度よりも高く、前記第3領域における前記第1元素の第3濃度よりも高い、ウエーハ。
続きを表示(約 1,600 文字)
【請求項2】
前記基板は、第1位置、第2位置及び第3位置を含み、
前記第1位置は、前記第1領域に含まれ、
前記第2位置は、前記第1方向において前記第2面と前記第1位置との間にあり、
前記第3位置は、前記第1方向において前記第1位置と前記第1面との間にあり、
前記第1方向において、前記基板における前記第1元素の濃度は、前記第1位置において第1ピーク値であり、
前記第2位置における前記第1元素の濃度は、前記第1ピーク値の1/10であり、
前記第3位置における前記第1元素の濃度は、前記第1ピーク値の1/10であり、
前記第2位置と前記第3位置との間の前記第1方向に沿う距離は、0.2μm以上0.4μm以下である、請求項1に記載のウエーハ。
【請求項3】
前記第1領域は、シリコンと前記第1元素との結合を含む、請求項1に記載のウエーハ。
【請求項4】
前記基板は、前記第1面を含む第4領域をさらに含み、
前記第3領域は、前記第1方向において前記第1領域と前記第4領域との間にあり、
前記第4領域における前記第1元素の第4濃度は、前記第3濃度よりも高い、請求項1~3のいずれか1つに記載のウエーハ。
【請求項5】
炭化珪素を含む基板を備え、
前記基板は、第1面及び第2面を含み、
前記基板は、
前記第2面から前記第1面への第1方向において前記第2面と前記第1面との間の第1領域と、
前記第1方向において前記第2面と前記第1領域との間の第2領域と、
前記第1方向において前記第1領域と前記第1面との間の第3領域と、
を含み、
前記基板は、アルミニウムを含み、
前記第1領域は、ガリウム及びインジウムよりなる群から選択された少なくとも1つを含む第2元素を含み、
前記第1領域における前記第2元素の第1濃度は、前記第2領域における前記第2元素の第2濃度よりも高く、前記第3領域における前記第2元素の第3濃度よりも高い、ウエーハ。
【請求項6】
前記基板は、第1位置、第2位置及び第3位置を含み、
前記第1位置は、前記第1領域に含まれ、
前記第2位置は、前記第1方向において前記第2面と前記第1位置との間にあり、
前記第3位置は、前記第1方向において前記第1位置と前記第1面との間にあり、
前記第1方向において、前記基板における前記第2元素の濃度は、前記第1位置において第1ピーク値であり、
前記第2位置における前記第2元素の濃度は、前記第1ピーク値の1/10であり、
前記第3位置における前記第2元素の濃度は、前記第1ピーク値の1/10であり、
前記第2位置と前記第3位置との間の前記第1方向に沿う距離は、0.2μm以上0.4μm以下である、請求項5に記載のウエーハ。
【請求項7】
前記第1領域は、シリコンと前記第2元素との結合を含む、請求項5に記載の記載のウエーハ。
【請求項8】
前記基板は、前記第1面を含む第4領域をさらに含み、
前記第3領域は、前記第1方向において前記第1領域と前記第4領域との間にあり、
前記第4領域における前記第2元素の第4濃度は、前記第3濃度よりも高い、請求項5~7のいずれか1つに記載のウエーハ。
【請求項9】
前記第2領域において、電圧印加及び紫外線照射の少なくともいずれかにより積層欠陥は拡張し、
前記第3領域において、前記電圧印加及び前記紫外線照射の前記少なくともいずれかにより前記積層欠陥は実質的に拡張しない、請求項1に記載のウエーハ。
【請求項10】
請求項1に記載のウエーハの前記基板を含む半導体装置。
発明の詳細な説明
【技術分野】
【0001】
本発明の実施形態は、ウエーハ及び半導体装置に関する。
続きを表示(約 1,600 文字)
【背景技術】
【0002】
例えば、炭化珪素を含む半導体装置がある。半導体装置において、安定した特性が望まれる。
【先行技術文献】
【特許文献】
【0003】
特開2014-146748号公報
【発明の概要】
【発明が解決しようとする課題】
【0004】
本発明の実施形態は、特性を安定化できるウエーハ及び半導体装置を提供する。
【課題を解決するための手段】
【0005】
本発明の実施形態によれば、ウエーハは、炭化珪素を含む基板を含む。前記基板は、第1面及び第2面を含む。前記基板は、前記第2面から前記第1面への第1方向において前記第2面と前記第1面との間の第1領域と、前記第1方向において前記第2面と前記第1領域との間の第2領域と、前記第1方向において前記第1領域と前記第1面との間の第3領域と、を含む。前記基板は、窒素を含む。前記第1領域は、リン及びヒ素よりなる群から選択された少なくとも1つを含む第1元素を含む。前記第1領域における前記第1元素の第1濃度は、前記第2領域における前記第1元素の第2濃度よりも高く、前記第3領域における前記第1元素の第3濃度よりも高い。
【図面の簡単な説明】
【0006】
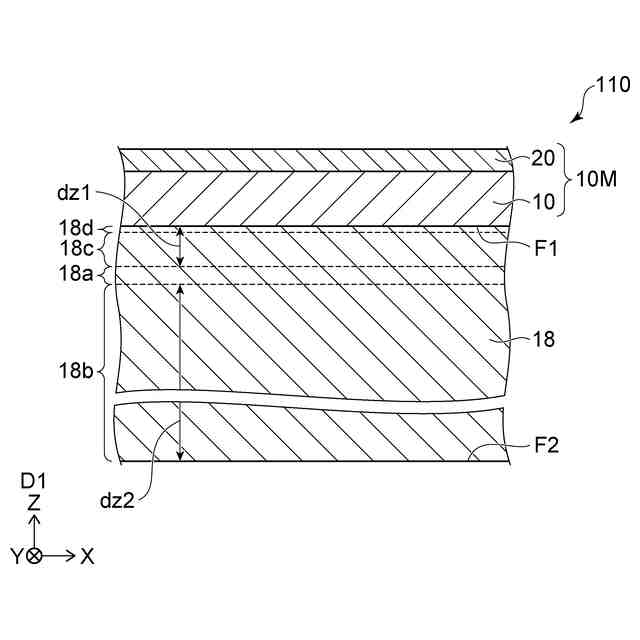
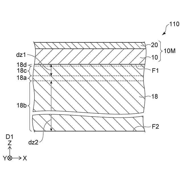
図1は、第1実施形態に係るウエーハを例示する模式的断面図である。
図2は、第1実施形態に係るウエーハを例示するグラフである。
図3(a)~図3(d)は、ウエーハの特性を例示する模式的平面図である。
図4は、第1実施形態に係るウエーハを例示する模式的断面図である。
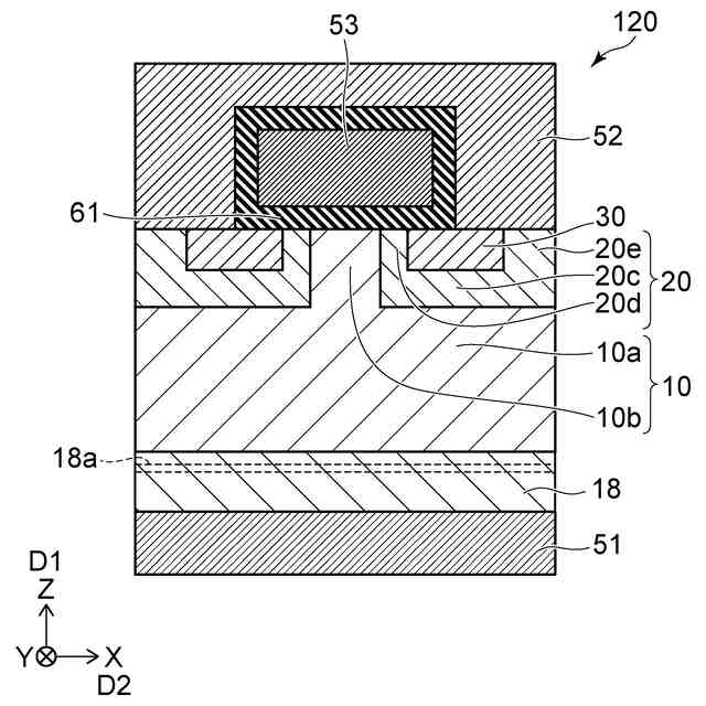
図5は、第2実施形態に係る半導体装置を例示する模式的断面図である。
【発明を実施するための形態】
【0007】
以下に、本発明の各実施の形態について図面を参照しつつ説明する。
図面は模式的または概念的なものであり、各部分の厚さと幅との関係、部分間の大きさの比率などは、必ずしも現実のものと同一とは限らない。同じ部分を表す場合であっても、図面により互いの寸法や比率が異なって表される場合もある。
本願明細書と各図において、既出の図に関して前述したものと同様の要素には同一の符号を付して詳細な説明は適宜省略する。
【0008】
(第1実施形態)
図1は、第1実施形態に係るウエーハを例示する模式的断面図である。
図1に示すように、実施形態に係るウエーハ110は、基板18を含む。基板18は、炭化珪素(SiC)を含む。基板18は、例えば、炭化珪素バルク基板である。基板18は、例えば、炭化珪素バルク単結晶基板である。1つの例において、基板18に含まれる炭化珪素は、4H-SiCである。基板18は、3C-SiCを含んで良い。基板18の導電形は、任意である。
【0009】
基板18は、第1面F1及び第2面F2を含む。第1面F1は、例えば、上面で良い。第2面F2は、例えば、下面で良い。第2面F2から第1面F1への第1方向D1をZ軸方向とする。Z軸方向に対して垂直な1つの方向をX軸方向とする。Z軸方向及びX軸方向に対して垂直な方向をY軸方向とする。第1面F1及び第2面F2は、例えば、X-Y平面に沿う。基板18は、X-Y平面に沿う。
【0010】
基板18は、第1領域18a、第2領域18b及び第3領域18cを含む。第1領域18aは、第1方向D1において第2面F2と第1面F1との間にある。第2領域18bは、第1方向D1において第2面F2と第1領域18aとの間にある。第3領域18cは、第1方向D1において第1領域18aと第1面F1との間にある。
(【0011】以降は省略されています)
この特許をJ-PlatPat(特許庁公式サイト)で参照する
関連特許
株式会社東芝
モータ
1か月前
株式会社東芝
センサ
3か月前
株式会社東芝
センサ
2か月前
株式会社東芝
端子台
28日前
株式会社東芝
センサ
2か月前
株式会社東芝
電子装置
1か月前
株式会社東芝
金型構造
2か月前
株式会社東芝
吸音装置
1か月前
株式会社東芝
電子装置
1か月前
株式会社東芝
除去装置
21日前
株式会社東芝
電子回路
1か月前
株式会社東芝
半導体装置
1か月前
株式会社東芝
半導体装置
1か月前
株式会社東芝
半導体装置
1か月前
株式会社東芝
半導体装置
1か月前
株式会社東芝
半導体装置
1か月前
株式会社東芝
半導体装置
1か月前
株式会社東芝
半導体装置
1か月前
株式会社東芝
半導体装置
1か月前
株式会社東芝
半導体装置
1か月前
株式会社東芝
真空バルブ
1か月前
株式会社東芝
高周波回路
1か月前
株式会社東芝
半導体装置
1か月前
株式会社東芝
半導体装置
1か月前
株式会社東芝
半導体装置
1か月前
株式会社東芝
半導体装置
1か月前
株式会社東芝
真空バルブ
1か月前
株式会社東芝
半導体装置
1か月前
株式会社東芝
半導体装置
1か月前
株式会社東芝
半導体装置
1か月前
株式会社東芝
半導体装置
1か月前
株式会社東芝
粒子加速器
1か月前
株式会社東芝
半導体装置
1か月前
株式会社東芝
半導体装置
2か月前
株式会社東芝
半導体装置
1か月前
株式会社東芝
半導体装置
1か月前
続きを見る
他の特許を見る