TOP
|
特許
|
意匠
|
商標
特許ウォッチ
Twitter
他の特許を見る
10個以上の画像は省略されています。
公開番号
2025159640
公報種別
公開特許公報(A)
公開日
2025-10-21
出願番号
2024062367
出願日
2024-04-08
発明の名称
半導体装置
出願人
株式会社東芝
,
東芝デバイス&ストレージ株式会社
代理人
弁理士法人iX
主分類
H10D
30/66 20250101AFI20251014BHJP()
要約
【課題】オフ状態時のリーク電流低減とオン状態時の抵抗の低減を両立可能な半導体装置を提供する。
【解決手段】半導体装置は、第1電極と、前記第1電極上に配置された第1導電型の第1半導体層と、前記第1半導体層上に配置され、第2導電型であり、第1部分と、前記第1電極との距離が前記第1電極と前記第1部分との距離よりも短い複数の第2部分と、を有する第2半導体層と、前記第2半導体層上に配置された第1導電型の第3半導体層と、絶縁層を介して前記第2半導体層に対向する第2電極と、前記複数の第2部分の直上域にそれぞれ配置され、前記第2半導体層及び前記第3半導体層に接続された複数のコンタクトと、前記複数のコンタクトに接続された第3電極と、を備える。
【選択図】図2
特許請求の範囲
【請求項1】
第1電極と、
前記第1電極上に配置された第1導電型の第1半導体層と、
前記第1半導体層上に配置され、第2導電型であり、第1部分と、前記第1電極との距離が前記第1電極と前記第1部分との距離よりも短い複数の第2部分と、を有する第2半導体層と、
前記第2半導体層上に配置された第1導電型の第3半導体層と、
絶縁層を介して前記第2半導体層に対向する第2電極と、
前記複数の第2部分の直上域にそれぞれ配置され、前記第2半導体層及び前記第3半導体層に接続された複数のコンタクトと、
前記複数のコンタクトに接続された第3電極と、
を備えた半導体装置。
続きを表示(約 710 文字)
【請求項2】
前記複数のコンタクトは、前記第2電極における前記第2半導体層に対向する側面に沿って配列された請求項1に記載の半導体装置。
【請求項3】
前記第2半導体層は、シリコン及びプラチナを含む請求項1に記載の半導体装置。
【請求項4】
前記第2電極は複数設けられており、
前記複数の第2電極は第1方向に沿って配列され、各前記第2電極は前記第1方向と交差する第2方向に延び、
前記コンタクトは、前記絶縁層から離隔した請求項1~3のいずれか1つに記載の半導体装置。
【請求項5】
前記第2部分は、前記絶縁層から離隔した請求項4に記載の半導体装置。
【請求項6】
前記第2半導体層は、隣り合う前記コンタクト間に配置され、前記コンタクトに接し、キャリア濃度が前記第1部分のキャリア濃度よりも高い第3部分をさらに有する請求項4に記載の半導体装置。
【請求項7】
前記第2電極と前記第3部分との間には、前記第3半導体層の一部が配置されている請求項6に記載の半導体装置。
【請求項8】
前記第3部分は、前記絶縁層に接している請求項6に記載の半導体装置。
【請求項9】
前記第3部分は、前記コンタクトと前記絶縁層との間にも配置されている請求項6に記載の半導体装置。
【請求項10】
前記第2部分は、前記第2方向において1つおきに配置された前記コンタクトの直下域に配置され、他の前記コンタクトの直下域には配置されていない請求項4に記載の半導体装置。
(【請求項11】以降は省略されています)
発明の詳細な説明
【技術分野】
【0001】
実施形態は、半導体装置に関する。
続きを表示(約 2,300 文字)
【背景技術】
【0002】
近年、電力制御用の半導体装置として、縦型のMOSFET(Metal-Oxide-Semiconductor Field-Effect Transistor:金属酸化物半導体電界効果トランジスタ)が使用されている。このような半導体装置においては、オフ状態におけるソース・ドレイン間のリーク電流を抑制しつつ、オン状態におけるソース・ドレイン間の電気抵抗の低減が要求されている。
【先行技術文献】
【特許文献】
【0003】
特開2018-006639号公報
米国特許第9847395号明細書
【発明の概要】
【発明が解決しようとする課題】
【0004】
実施形態の目的は、オフ状態時のリーク電流低減とオン状態時の抵抗の低減を両立可能な半導体装置を提供することである。
【課題を解決するための手段】
【0005】
実施形態に係る半導体装置は、第1電極と、前記第1電極上に配置された第1導電型の第1半導体層と、前記第1半導体層上に配置され、第2導電型であり、第1部分と、前記第1電極との距離が前記第1電極と前記第1部分との距離よりも短い複数の第2部分と、を有する第2半導体層と、前記第2半導体層上に配置された第1導電型の第3半導体層と、絶縁層を介して前記第2半導体層に対向する第2電極と、前記複数の第2部分の直上域にそれぞれ配置され、前記第2半導体層及び前記第3半導体層に接続された複数のコンタクトと、前記複数のコンタクトに接続された第3電極と、を備える。
【図面の簡単な説明】
【0006】
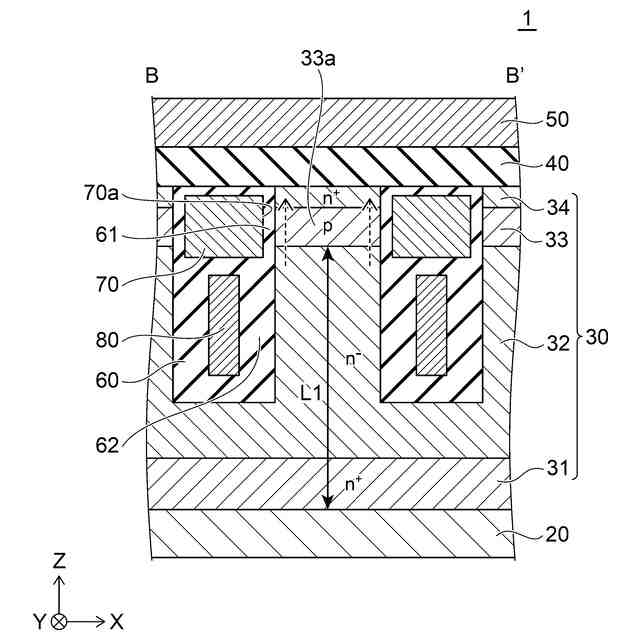
図1は、第1の実施形態に係る半導体装置を示す平面図である。
図2は、図1に示すA-A’線による断面図である。
図3は、図1に示すB-B’線による断面図である。
図4は、第2の実施形態に係る半導体装置を示す平面図である。
図5は、図4に示すC-C’線による断面図である。
図6は、第3の実施形態に係る半導体装置を示す平面図である。
図7は、図6に示すD-D’線による断面図である。
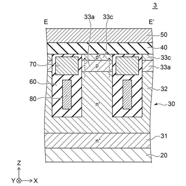
図8は、図6に示すE-E’線による断面図である。
図9は、第4の実施形態に係る半導体装置を示す平面図である。
図10は、図9に示すF-F’線による断面図である。
図11は、図9に示すG-G’線による断面図である。
図12は、第5の実施形態に係る半導体装置を示す平面図である。
図13は、図12に示すH-H’線による断面図である。
図14(a)は第6の実施形態に係る半導体装置を示す平面図であり、図14(b)は図14(a)の領域Iを示す一部拡大平面図である。
図15は、図14(a)に示すJ-J’線による断面図である。
図16は、図14(a)に示すK-K’線による断面図である。
図17(a)は第7の実施形態に係る半導体装置を示す平面図であり、図17(b)は図17(a)の領域Lを示す一部拡大平面図である。
図18は、図17(a)に示すM-M’線による断面図である。
図19(a)は第8の実施形態に係る半導体装置を示す平面図であり、図19(b)は図19(a)の領域Nを示す一部拡大平面図である。
図20は、図19(a)に示すO-O’線による断面図である。
図21(a)は第9の実施形態に係る半導体装置を示す平面図であり、図21(b)は図21(a)の領域Pを示す一部拡大平面図である。
図22は、図21(a)に示すQ-Q’線による断面図である。
図23(a)は第10の実施形態に係る半導体装置を示す平面図であり、図23(b)は図23(a)の領域Rを示す一部拡大平面図である。
【発明を実施するための形態】
【0007】
<第1の実施形態>
図1は、本実施形態に係る半導体装置を示す平面図である。
図2は、図1に示すA-A’線による断面図である。
図3は、図1に示すB-B’線による断面図である。
【0008】
なお、各図は模式的なものであり、適宜強調又は簡略化されている。例えば、各部の寸法比は、現実の製品を正確に表現するよりも、技術的思想のわかりやすさを優先して調整されている。また、図間において、構成要素の寸法比や位置関係が厳密に一致しているとは限らない。後述する他の図についても同様である。
【0009】
図1~図3に示すように、本実施形態に係る半導体装置1においては、ドレイン電極20(第1電極)、半導体部分30、絶縁膜40、ソース電極50(第3電極)、絶縁部材60、ゲート電極70(第2電極)、フィールドプレート電極80(以下、「FP電極80」という、第4電極)、及び、コンタクト90が設けられている。
【0010】
ドレイン電極20、半導体部分30、絶縁膜40及びソース電極50は、この順に配列されている。絶縁部材60は、半導体部分30の上部内に配置されており、絶縁膜40に接している。ゲート電極70及びFP電極80は、絶縁部材60内に配置されている。FP電極80は絶縁部材60の内部であってゲート電極70の下方に配置されている。すなわち、FP電極80はドレイン電極20とゲート電極70の間に配置されている。なお、図1においては、絶縁膜40及びソース電極50は図示を省略されている。後述する他の平面図についても、同様である。
(【0011】以降は省略されています)
この特許をJ-PlatPat(特許庁公式サイト)で参照する
関連特許
個人
積和演算用集積回路
1か月前
サンケン電気株式会社
半導体装置
1か月前
日機装株式会社
半導体発光装置
26日前
旭化成株式会社
発光素子
1か月前
ローム株式会社
半導体装置
10日前
株式会社東芝
半導体装置
18日前
三菱電機株式会社
半導体装置
1か月前
三菱電機株式会社
半導体装置
18日前
株式会社半導体エネルギー研究所
表示装置
10日前
三菱電機株式会社
半導体装置
5日前
日亜化学工業株式会社
発光装置
1か月前
ローム株式会社
半導体集積回路
1か月前
ローム株式会社
半導体装置
1か月前
ローム株式会社
半導体装置
3日前
株式会社半導体エネルギー研究所
発光デバイス
1か月前
サンケン電気株式会社
半導体装置
18日前
ローム株式会社
半導体装置
1か月前
株式会社半導体エネルギー研究所
発光デバイス
26日前
日亜化学工業株式会社
発光素子
1か月前
新電元工業株式会社
半導体素子
3日前
新電元工業株式会社
半導体素子
3日前
新電元工業株式会社
半導体素子
3日前
日本ゼオン株式会社
構造体
1か月前
日亜化学工業株式会社
発光装置
1か月前
日亜化学工業株式会社
発光装置
3日前
日亜化学工業株式会社
発光装置
1か月前
ローム株式会社
半導体装置
18日前
日亜化学工業株式会社
発光素子
1か月前
株式会社東芝
ウエーハ及び半導体装置
11日前
株式会社東芝
ウエーハ及び半導体装置
11日前
ローム株式会社
半導体装置
1か月前
日亜化学工業株式会社
発光装置の製造方法及び発光装置
1か月前
住友電気工業株式会社
炭化珪素半導体装置
10日前
株式会社東芝
半導体装置及びウエーハ
1か月前
住友電気工業株式会社
炭化珪素半導体装置
1か月前
住友電気工業株式会社
炭化珪素半導体装置
1か月前
続きを見る
他の特許を見る