TOP
|
特許
|
意匠
|
商標
特許ウォッチ
Twitter
他の特許を見る
10個以上の画像は省略されています。
公開番号
2025163447
公報種別
公開特許公報(A)
公開日
2025-10-29
出願番号
2024066708
出願日
2024-04-17
発明の名称
発光装置の製造方法及び発光装置
出願人
日亜化学工業株式会社
代理人
主分類
H10H
20/85 20250101AFI20251022BHJP()
要約
【課題】発光素子を、パッケージの凹部の中心に載置することを目的とする。
【解決手段】支持部材と、前記支持部材に保持され上面を備える導電部材と、を備える中間体を準備する工程であって、前記導電部材の上面は、発光素子を載置可能な複数の素子載置領域と、ワイヤを接続可能な複数のワイヤ接続領域と、を有し、前記支持部材は、前記導電部材の上面よりも上側に位置し、前記素子載置領域及び前記ワイヤ接続領域を連続して囲む側壁部と、前記導電部材の上面と同一面上に位置する平面を備える基部と、
を備える中間体を準備する工程と、前記導電部材の前記素子載置領域に発光素子を載置する工程と、前記発光素子と、前記導電部材のワイヤ接続領域とにワイヤを接続する工程と、前記ワイヤと前記ワイヤ接続領域とが接続された接続部を被覆部材で被覆する工程と、前記中間体及び前記被覆部材を切断することで個片化する工程と、
を備える発光装置の製造方法。
【選択図】図1A
特許請求の範囲
【請求項1】
支持部材と、前記支持部材に保持され上面を備える導電部材と、を備える中間体を準備する工程であって、
前記導電部材の上面は、
発光素子を載置可能な複数の素子載置領域と、
ワイヤを接続可能な複数のワイヤ接続領域と、を有し、
前記支持部材は、
前記導電部材の上面よりも上側に位置し、前記素子載置領域及び前記ワイヤ接続領域を連続して囲む側壁部と、
前記導電部材の上面と同一面上に位置する平面を備える基部と、
を備える中間体を準備する工程と、
前記導電部材の前記素子載置領域に発光素子を載置する工程と、
前記発光素子と、前記導電部材の前記ワイヤ接続領域とにワイヤを接続する工程と、
前記ワイヤと前記ワイヤ接続領域とが接続された接続部を被覆部材で被覆する工程と、
前記中間体及び前記被覆部材を切断することで個片化する工程と、
を備える発光装置の製造方法。
続きを表示(約 1,500 文字)
【請求項2】
前記中間体を準備する工程において、
前記支持部材の前記基部の平面は、前記素子載置領域と前記ワイヤ接続領域の間の第1平面と、2つの前記ワイヤ接続領域の間に位置する第2平面を備え、
前記支持部材の前記側壁部は、前記素子載置領域、前記第1平面、前記ワイヤ接続領域及び前記第2平面が連続して露出するように配置され、
前記被覆部材は、2つの前記接続部と、前記第2平面とを連続して被覆する工程を
含む、請求項1に記載の発光装置の製造方法。
【請求項3】
前記側壁部は、前記素子載置領域を挟むように配置される2つの第1内側面と、前記ワイヤ接続領域を挟むように配置される2つの連結側面と、を有し、
前記被覆部材は、2つの前記第1内側面を露出させるとともに、2つの前記連結側面と接するように被覆する、請求項1に記載の発光装置の製造方法。
【請求項4】
前記中間体を準備する工程において、前記導電部材の上面は、前記ワイヤ接続領域の近傍に溝部を有し、前記被覆部材の一部は、前記溝部内に配置される、請求項1に記載の発光装置の製造方法。
【請求項5】
前記被覆部材で被覆する工程において、前記被覆部材は前記側壁部の頂面を被覆する工程と、前記頂面上に配置された前記被覆部材を除去する工程と、を含む請求項1に記載の発光装置の製造方法。
【請求項6】
前記個片化する工程の前に、前記側壁部及び前記被覆部材を壁部とし、前記壁部で囲まれた前記素子載置領域に、前記発光素子を覆う封止部材を配置する工程を備える、請求項1に記載の発光装置の製造方法。
【請求項7】
導電部材及び基体を含み、底面及び底面を囲む壁部により規定される凹部を備えるパッケージと、
前記凹部内に配置される発光素子と、
前記導電部材と前記発光素子とを接続するワイヤと、
を備える発光装置であって、
前記ワイヤは、第1ワイヤ及び第2ワイヤを含み、
前記導電部材は、
第1ワイヤ接続領域を含む第1上面と、前記第1上面の反対側の第1下面と、前記第1上面と前記第1下面の間の第1側面と、を備える第1導電部材と、
第2ワイヤ接続領域及び素子載置領域を含む第2上面と、前記第2上面の反対側の第2下面と、前記第2上面と前記第2下面の間の第2側面と、を備える第2導電部材と、
を含み、
前記基体は、基部と、壁部と、を有し、
前記壁部は、前記基部と一体である第1部分と、前記第1部分とは異なる部材であり、前記パッケージの外側面の一部を構成する第2部分と、を有し、
前記第1ワイヤと前記第1導電部材との接続部は、前記第2部分で覆われている、発光装置。
【請求項8】
前記壁部は2つの前記第2部分を有し、上面視において2つの前記第2部分は、前記発光素子を挟んだ位置に配置される、請求項7に記載の発光装置。
【請求項9】
前記壁部は、前記凹部を規定する内側面と、前記内側面の反対側の外側面と、前記内側面と前記外側面の間の頂面と、を有し、
前記内側面は、前記第1部分の第1内側面と、前記第2部分の第2内側面とを含み、前記第2内側面の一部は、隣接する前記第1内側面よりも、前記底面の中心に近い側に位置する、請求項7に記載の発光装置。
【請求項10】
前記第2内側面の下端近傍に位置する前記導電部材の上面は、溝部を有する、請求項9に記載の発光装置。
発明の詳細な説明
【技術分野】
【0001】
本発明は、発光装置の製造方法及び発光装置に関する。
続きを表示(約 2,400 文字)
【背景技術】
【0002】
凹部を備えるパッケージと、凹部内に配置された半導体発光素子(以下、「発光素子」とも称する)とを備えるLED(Light Emitting Diode)などの発光装置が知られている(例えば、特許文献1)。
【先行技術文献】
【特許文献】
【0003】
特開2014-195127号公報
特開2017-204623号公報
【発明の概要】
【発明が解決しようとする課題】
【0004】
発光素子を、パッケージの凹部の中心に載置することが求められている。
【課題を解決するための手段】
【0005】
本開示は、以下の構成を含む。
支持部材と、前記支持部材に保持され上面を備える導電部材と、を備える中間体を準備する工程であって、
前記導電部材の上面は、
発光素子を載置可能な複数の素子載置領域と、
ワイヤを接続可能な複数のワイヤ接続領域と、を有し、
前記支持部材は、
前記導電部材の上面よりも上側に位置し、前記素子載置領域及び前記ワイヤ接続領域を連続して囲む側壁部と、
前記導電部材の上面と同一面上に位置する平面を備える基部と、
を備える中間体を準備する工程と、
前記導電部材の前記素子載置領域に発光素子を載置する工程と、
前記発光素子と、前記導電部材のワイヤ接続領域とにワイヤを接続する工程と、
前記ワイヤと前記ワイヤ接続領域とが接続された接続部を被覆部材で被覆する工程と、
前記中間体及び前記被覆部材を切断することで個片化する工程と、
を備える発光装置の製造方法。
【発明の効果】
【0006】
以上により、発光素子をパッケージの凹部の中心に載置し易い発光装置とすることができる。
【図面の簡単な説明】
【0007】
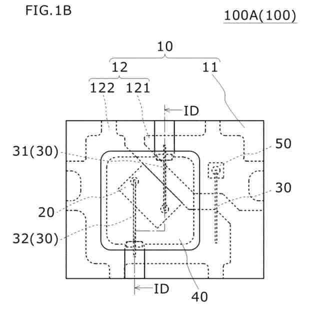
実施形態に係る発光装置を示す模式斜視図である。
実施形態に係る発光装置を示す模式上面図である。
図1Bから封止部材を省略した模式上面図である。
図1BのID-ID線における模式断面図である。
実施形態に係る発光装置の変形例を示す模式上面図である。
実施形態に係る発光装置の変形例を示す模式上面図である。
実施形態に係る発光装置の変形例を示す模式上面図である。
実施形態に係る発光装置の変形例を示す模式上面図である。
実施形態に係る発光装置の製造方法を示す模式上面図である。
実施形態に係る発光装置の製造方法を示す模式上面図である。
実施形態に係る発光装置に用いられる導電部材を示す模式上面図である。
実施形態に係る発光装置の製造方法を示す模式上面図である。
図8AのVIIIB-VIIIB線における模式断面図である。
実施形態に係る発光装置の製造方法を示す模式上面図である。
図7AのIXB-IXB線における模式断面図である。
実施形態に係る発光装置の製造方法を示す模式上面図である。
図8AのXB-XB線における模式断面図である。
実施形態にかかる発光装置の製造方法を示す模式上面図である。
【発明を実施するための形態】
【0008】
本発明を実施するための形態を、以下に図面を参照しながら説明する。ただし、以下に示す形態は、本発明の技術思想を具体化するための発光装置の製造方法及び発光装置を例示するものであって、本発明は、発光装置の製造方法及び発光装置を以下に限定するものではない。
【0009】
また、本明細書は、特許請求の範囲に示される部材を、実施の形態の部材に特定するものでは決してない。特に、実施の形態に記載されている構成部品の寸法、材質、形状、その相対的配置等は、特定的な記載がない限りは、本開示の範囲をそれのみに限定する趣旨ではなく、単なる説明例にすぎない。尚、各図面が示す部材の大きさや位置関係等は、説明を明確にするため誇張または一部省略していることがある。さらに以下の説明において、同一の名称、符号については同一もしくは同質の部材を示しており、詳細説明を適宜省略する。また、以下の説明では、必要に応じて特定の方向や位置を示す用語(例えば、「上」、「下」、「右」、「左」および、それらの用語を含む別の用語)を用いる。それらの用語の使用は図面を参照した発明の理解を容易にするためであって、それらの用語の意味によって本発明の技術的範囲が限定されるものではない。また、断面図として切断面のみを示す端面図を用いる場合がある。また、上面図として、内部に埋まっている部材の一部又は全部を透視可能な透視図として示す場合がある。この場合、内部に埋まっている部材を破線で示す。また、未硬化状態又は硬化状態の部材、切断前及び切断後の部材等の名称は、同じものを用いる場合がある。
【0010】
発光装置の製造方法において、まず、最初に準備する「中間体」とは、支持部材と導電部材とを合わせた複合材料のことである。中間体は、発光装置の壁部の一部である被覆部材(つまり第2部分)を備えない。そのため、中間体では発光装置の凹部と一致する凹部を備えていない。中間体は、凹部となる予定の部分を含む「くぼみ」を備える。このくぼみは「側壁部」で囲まれる部分である。側壁部は、壁部の一部を含む部分である。後の工程で、被覆部材(つまり第2部分)が形成されることで、側壁部と被覆部材とを含む壁部となる。
(【0011】以降は省略されています)
特許ウォッチbot のツイートを見る
この特許をJ-PlatPat(特許庁公式サイト)で参照する
関連特許
日亜化学工業株式会社
発光装置
今日
日亜化学工業株式会社
発光装置
6日前
日亜化学工業株式会社
発光素子
1か月前
日亜化学工業株式会社
発光素子
26日前
日亜化学工業株式会社
発光装置
7日前
日亜化学工業株式会社
発光装置
25日前
日亜化学工業株式会社
半導体レーザ素子
8日前
日亜化学工業株式会社
配置部材、及び、発光装置
25日前
日亜化学工業株式会社
発光装置、および面状光源
26日前
日亜化学工業株式会社
半導体素子およびその製造方法
26日前
日亜化学工業株式会社
軟磁性材料およびその製造方法
今日
日亜化学工業株式会社
発光装置の製造方法及び発光装置
6日前
日亜化学工業株式会社
発光装置の製造方法及び発光装置
26日前
日亜化学工業株式会社
光源、発光モジュール、及び携帯端末
21日前
日亜化学工業株式会社
発光装置、および発光装置の製造方法
27日前
日亜化学工業株式会社
光源装置およびそれらを有する加熱システム
27日前
日亜化学工業株式会社
透光性部材の製造方法及び発光装置の製造方法
19日前
日亜化学工業株式会社
発光装置、発光モジュール、発光装置の製造方法
1か月前
日亜化学工業株式会社
セラミックス基板の製造方法及び発光装置の製造方法
25日前
日亜化学工業株式会社
発光装置
18日前
日亜化学工業株式会社
面状光源
18日前
日亜化学工業株式会社
発光装置
7日前
日亜化学工業株式会社
発光装置
29日前
日亜化学工業株式会社
光源装置およびレンズ構造体
1か月前
日亜化学工業株式会社
発光装置、およびディスプレイ
28日前
日亜化学工業株式会社
発光装置および発光装置の製造方法
7日前
日亜化学工業株式会社
非水電解質二次電池用正極活物質及びその製造方法
1か月前
個人
半導体装置
27日前
東レ株式会社
太陽電池モジュール
27日前
エイブリック株式会社
縦型ホール素子
21日前
エイブリック株式会社
縦型ホール素子
21日前
旭化成株式会社
発光素子
7日前
ローム株式会社
抵抗チップ
12日前
富士通株式会社
半導体装置
26日前
ローム株式会社
半導体装置
28日前
株式会社半導体エネルギー研究所
表示装置
21日前
続きを見る
他の特許を見る