TOP
|
特許
|
意匠
|
商標
特許ウォッチ
Twitter
他の特許を見る
公開番号
2025163552
公報種別
公開特許公報(A)
公開日
2025-10-29
出願番号
2024066941
出願日
2024-04-17
発明の名称
半導体装置及びウエーハ
出願人
株式会社東芝
代理人
弁理士法人iX
主分類
H10D
8/50 20250101AFI20251022BHJP()
要約
【課題】特性を向上可能な半導体装置及びウエーハを提供する。
【解決手段】実施形態によれば、半導体装置は、第1、第2窒化物領域、第1、第2電極を含む。第1窒化物領域は、第1領域及び第2領域を含む。第1領域は、Al
x1
Ga
1-x1
N(0<x1≦1)を含む。第2領域は、Al
x2
Ga
1-x2
N(0≦x2<x1)を含む。第2領域は、第1領域と第2窒化物領域との間にある。x1は、第1領域から第2窒化物領域への第1方向に沿って低下する。x2は、第1方向に沿って低下する。第1方向に沿う位置の変化に対するx1の変化率は、x2の変化率よりも高い。
【選択図】図1
特許請求の範囲
【請求項1】
第1領域及び第2領域を含む第1窒化物領域であって、前記第1領域は、Al
x1
Ga
1-x1
N(0<x1≦1)を含み、前記第2領域は、Al
x2
Ga
1-x2
N(0≦x2<x1)を含む、前記第1窒化物領域と、
Al
y2
Ga
1-y2
N(0<y2≦1)を含む第2窒化物領域であって、前記第2領域は、前記第1領域と前記第2窒化物領域との間にあり、前記第2窒化物領域と、
前記第1領域に電気的に接続された第1電極と、
前記第2窒化物領域と電気的に接続された第2電極と、
を備え、
組成比x1は、前記第1領域から前記第2窒化物領域への第1方向に沿って低下し、
組成比x2は、前記第1方向に沿って低下し、
前記第1方向に沿う位置の変化に対する前記組成比x1の第1変化率は、前記第1方向に沿う前記位置の前記変化に対する前記組成比x2の第2変化率よりも高い、半導体装置。
続きを表示(約 1,500 文字)
【請求項2】
前記第2窒化物領域は、シリコンを含む、請求項1に記載の半導体装置。
【請求項3】
前記第2領域は、前記第1領域及び前記第2窒化物領域と接する、請求項2に記載の半導体装置。
【請求項4】
前記第2領域は、Mgを含まない、または、
前記第2領域におけるMgの濃度は、1×10
16
/cm
3
以下である、請求項1に記載の半導体装置。
【請求項5】
前記第1領域の前記第1方向に沿う第1領域厚は、前記第2領域の前記第1方向に沿う第2領域厚よりも薄い、請求項1~4のいずれか1つに記載の半導体装置。
【請求項6】
シリコンを含む基体と、
Al
z2
Ga
1-z3
N(y2<z3≦1)を含む第3窒化物領域と、
をさらに含み、
前記第1窒化物領域は、前記基体と前記第2窒化物領域との間にあり、
前記第3窒化物領域は、前記基体と前記第1窒化物領域との間にある、請求項1に記載の半導体装置。
【請求項7】
シリコンを含む基体と、
Al
z2
Ga
1-z3
N(y2<z3≦1)を含む第3窒化物領域と、
をさらに含み、
前記第1方向において前記第1電極の少なくとも一部と前記第2電極との間に前記基体があり、
前記基体と前記第2電極との間に前記第3窒化物領域があり、
前記第3窒化物領域と前記第2電極との間に前記第1窒化物領域があり、
前記第1窒化物領域と前記第2電極との間に前記第2窒化物領域があり、
前記第1電極の別の一部から前記基体への方向は、前記第1方向と交差する、請求項1に記載の半導体装置。
【請求項8】
導電性の基体をさらに備え、
前記第1電極と前記第2電極との間に前記基体があり、
前記基体と前記第2電極との間に前記第1窒化物領域があり、
前記第1窒化物領域と前記第2電極との間に前記第2窒化物領域がある、請求項1に記載の半導体装置。
【請求項9】
前記第1領域は、p形であり、
前記第2窒化物領域は、n形であり、
前記第1窒化物領域及び前記第2窒化物領域は、ダイオードとして機能する、請求項1に記載の半導体装置。
【請求項10】
基体と、
第1窒化物領域と、
第2窒化物領域と、
を備え、
前記第1窒化物領域は、前記基体と前記第2窒化物領域との間にあり、
前記第1窒化物領域は、第1領域及び第2領域を含み、
前記第1領域は、Al
x1
Ga
1-x1
N(0<x1≦1)を含み、
前記第2領域は、Al
x2
Ga
1-x2
N(0≦x2<x1)を含み、
前記第2窒化物領域は、Al
y2
Ga
1-y2
N(0<y2≦1)を含み、
前記第2領域は、前記第1領域と前記第2窒化物領域との間にあり、
組成比x1は、前記第1領域から前記第2窒化物領域への第1方向に沿って低下し、
組成比x2は、前記第1方向に沿って低下し、
前記第1方向に沿う位置の変化に対する前記組成比x1の第1変化率は、前記第1方向に沿う前記位置の前記変化に対する前記組成比x2の第2変化率よりも高い、ウエーハ。
発明の詳細な説明
【技術分野】
【0001】
本発明の実施形態は、半導体装置及びウエーハに関する。
続きを表示(約 1,600 文字)
【背景技術】
【0002】
例えば、トランジスタなどの半導体装置において、特性の向上が望まれる。
【先行技術文献】
【特許文献】
【0003】
国際公開第2021/245895号
【発明の概要】
【発明が解決しようとする課題】
【0004】
本発明の実施形態は、特性を向上可能な半導体装置及びウエーハを提供する。
【課題を解決するための手段】
【0005】
本発明の実施形態によれば、半導体装置は、第1窒化物領域と、第2窒化物領域と、第1電極と、第2電極と、を含む。前記第1窒化物領域は、第1領域及び第2領域を含む。前記第1領域は、Al
x1
Ga
1-x1
N(0<x1≦1)を含む。前記第2領域は、Al
x2
Ga
1-x2
N(0≦x2<x1)を含む。前記第2窒化物領域は、Al
y2
Ga
1-y2
N(0<y2≦1)を含む。前記第2領域は、前記第1領域と前記第2窒化物領域との間にある。前記第1電極は、前記第1領域に電気的に接続される。前記第2電極は、前記第2窒化物領域と電気的に接続される。組成比x1は、前記第1領域から前記第2窒化物領域への第1方向に沿って低下する。組成比x2は、前記第1方向に沿って低下する。前記第1方向に沿う位置の変化に対する前記組成比x1の第1変化率は、前記第1方向に沿う前記位置の前記変化に対する前記組成比x2の第2変化率よりも高い。
【図面の簡単な説明】
【0006】
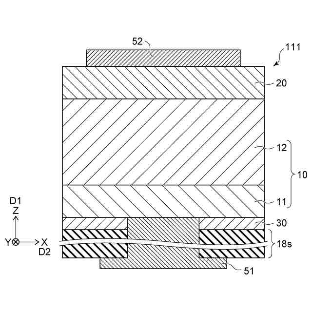
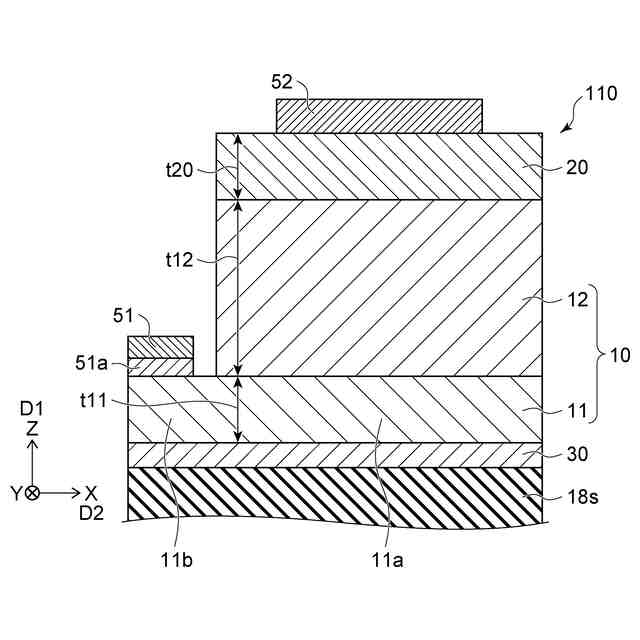
図1は、第1実施形態に係る半導体装置を例示する模式的断面図である。
図2は、第1実施形態に係る半導体装置を例示するグラフである。
図3は、第1実施形態に係る半導体装置を例示する模式的断面図である。
図4は、第1実施形態に係る半導体装置を例示する模式的断面図である。
図5は、第2実施形態に係るウエーハを例示する模式的断面図である。
【発明を実施するための形態】
【0007】
以下に、本発明の各実施の形態について図面を参照しつつ説明する。
図面は模式的または概念的なものであり、各部分の厚さと幅との関係、部分間の大きさの比率などは、必ずしも現実のものと同一とは限らない。同じ部分を表す場合であっても、図面により互いの寸法や比率が異なって表される場合もある。
本願明細書と各図において、既出の図に関して前述したものと同様の要素には同一の符号を付して詳細な説明は適宜省略する。
【0008】
(第1実施形態)
図1は、第1実施形態に係る半導体装置を例示する模式的断面図である。
図2は、第1実施形態に係る半導体装置を例示するグラフである。
図1に示すように、実施形態に係る半導体装置110は、第1窒化物領域10、第2窒化物領域20,第1電極51及び第2電極52を含む。
【0009】
第1窒化物領域10は、第1領域11及び第2領域12を含む。第1領域11は、Al
x1
Ga
1-x1
N(0<x1≦1)を含む。第2領域12は、Al
x2
Ga
1-x2
N(0≦x2<x1)を含む。第1領域11及び第2領域12は、結晶を含んで良い。
【0010】
第2窒化物領域20は、Al
y2
Ga
1-y2
N(0<y2≦1)を含む。第2領域12は、第1領域11と第2窒化物領域20との間にある。第2窒化物領域20は、結晶を含んで良い。
(【0011】以降は省略されています)
この特許をJ-PlatPat(特許庁公式サイト)で参照する
関連特許
株式会社東芝
センサ
1か月前
株式会社東芝
センサ
1か月前
株式会社東芝
センサ
2か月前
株式会社東芝
端子台
1日前
株式会社東芝
モータ
1か月前
株式会社東芝
電子回路
10日前
株式会社東芝
電子装置
29日前
株式会社東芝
金型構造
1か月前
株式会社東芝
吸音装置
1か月前
株式会社東芝
電子装置
14日前
株式会社東芝
半導体装置
14日前
株式会社東芝
半導体装置
1か月前
株式会社東芝
半導体装置
14日前
株式会社東芝
半導体装置
15日前
株式会社東芝
半導体装置
1か月前
株式会社東芝
半導体装置
10日前
株式会社東芝
半導体装置
1か月前
株式会社東芝
半導体装置
16日前
株式会社東芝
真空バルブ
15日前
株式会社東芝
半導体装置
10日前
株式会社東芝
半導体装置
16日前
株式会社東芝
半導体装置
16日前
株式会社東芝
半導体装置
16日前
株式会社東芝
半導体装置
16日前
株式会社東芝
ラック装置
2か月前
株式会社東芝
粒子加速器
29日前
株式会社東芝
半導体装置
1か月前
株式会社東芝
半導体装置
17日前
株式会社東芝
半導体装置
1か月前
株式会社東芝
電動送風機
2か月前
株式会社東芝
半導体装置
1か月前
株式会社東芝
半導体装置
10日前
株式会社東芝
半導体装置
14日前
株式会社東芝
半導体装置
1か月前
株式会社東芝
高周波回路
10日前
株式会社東芝
半導体装置
10日前
続きを見る
他の特許を見る