TOP
|
特許
|
意匠
|
商標
特許ウォッチ
Twitter
他の特許を見る
10個以上の画像は省略されています。
公開番号
2025159634
公報種別
公開特許公報(A)
公開日
2025-10-21
出願番号
2024062359
出願日
2024-04-08
発明の名称
高周波回路
出願人
株式会社東芝
代理人
弁理士法人iX
主分類
H01P
1/04 20060101AFI20251014BHJP(基本的電気素子)
要約
【課題】高い伝送効率の高周波回路を提供する。
【解決手段】実施形態の高周波回路は、第1方向を向く第1表面と、前記第1方向と直交する第2方向を向く第1側面と、を有する第1基板と、前記第1表面上に設けられた伝送線路と、を有する第1基板部と、前記第2方向において前記第1基板と所定の間隔を空けて並べて設けられ、前記第1方向を向く第2表面を有する第2基板と、前記第2表面上に設けられた表面導電部と、を有する第2基板部と、前記伝送線路と前記表面導電部とを接続するボンディングワイヤと、を備え、前記第1基板部は、前記第1側面上に設けられ、前記伝送線路と容量結合する第1側面導電部を有する。
【選択図】図1
特許請求の範囲
【請求項1】
第1方向を向く第1表面と、前記第1方向と直交する第2方向を向く第1側面と、を有する第1基板と、
前記第1表面上に設けられた伝送線路と、
を有する第1基板部と、
前記第2方向において前記第1基板と所定の間隔を空けて並べて設けられ、前記第1方向を向く第2表面を有する第2基板と、
前記第2表面上に設けられた表面導電部と、
を有する第2基板部と、
前記伝送線路と前記表面導電部とを接続するボンディングワイヤと、
を備え、
前記第1基板部は、前記第1側面上に設けられ、前記伝送線路と容量結合する第1側面導電部を有する高周波回路。
続きを表示(約 510 文字)
【請求項2】
前記第2基板は、前記第2方向と反対の方向を向く第2側面を有し、
前記第2基板部は、前記第2側面上に設けられ、前記表面導電部と容量結合する第2側面導電部を有する請求項1記載の高周波回路。
【請求項3】
前記伝送線路は、前記第2方向の一端に設けられた端部と、前記端部から前記第2方向と反対の方向に延びる線路部と、を有し、
前記第1方向及び前記第2方向のそれぞれと直交する第3方向における前記端部の長さは、前記第3方向における前記線路部の長さよりも長い請求項1記載の高周波回路。
【請求項4】
前記第1基板部は、前記第1側面導電部の電位を接地電位に設定する請求項1記載の高周波回路。
【請求項5】
前記接地電位に設定される導体をさらに備え、
前記第1基板部及び前記第2基板部は、前記導体の上に並べて設けられ、
前記第1基板部は、前記導体と電気的に接続される裏面導電部をさらに有し、前記第1側面導電部を前記裏面導電部と電気的に接続することにより、前記第1側面導電部の電位を前記接地電位に設定する請求項4記載の高周波回路。
発明の詳細な説明
【技術分野】
【0001】
実施形態は、高周波回路に関し、例えば、高周波回路の接地構造に関する。
続きを表示(約 2,000 文字)
【背景技術】
【0002】
無線通信機器およびレーダ装置などに用いられる高周波回路がある。高周波回路は、基板上に設けられた伝送線路を有する。こうした高周波回路において、ボンディングワイヤを介して2つの基板間を接続する場合がある。例えば、伝送線路同士、又は半導体チップと伝送線路とをボンディングワイヤを介して接続する場合がある。基板間の隙間はなるべく狭くした方がミスマッチロスが少ないが、基板の加工精度や実装上の都合で、一定以上隙間を空けておく必要がある。高周波回路では、このようにボンディングワイヤを介して2つの基板間を接続する場合に、基板間のミスマッチロスを低減し、伝送効率を向上させることが望まれる。
【先行技術文献】
【特許文献】
【0003】
特開2000-77902号公報
【発明の概要】
【発明が解決しようとする課題】
【0004】
本発明の実施形態は、高い伝送効率の高周波回路を提供することを目的とする。
【課題を解決するための手段】
【0005】
実施形態に係る高周波回路は、第1方向を向く第1表面と、前記第1方向と直交する第2方向を向く第1側面と、を有する第1基板と、前記第1表面上に設けられた伝送線路と、を有する第1基板部と、前記第2方向において前記第1基板と所定の間隔を空けて並べて設けられ、前記第1方向を向く第2表面を有する第2基板と、前記第2表面上に設けられた表面導電部と、を有する第2基板部と、前記伝送線路と前記表面導電部とを接続するボンディングワイヤと、を備え、前記第1基板部は、前記第1側面上に設けられ、前記伝送線路と容量結合する第1側面導電部を有する。
【図面の簡単な説明】
【0006】
実施形態に係る高周波回路を模式的に表す斜視図である。
実施形態に係る高周波回路を模式的に表す断面図である。
実施形態に係る高周波回路を模式的に表す平面図である。
実施形態に係る高周波回路の等価回路を模式的に表す回路図である。
実施形態に係る高周波回路のシミュレーション結果の一例を模式的に表すグラフである。
参考の高周波回路のシミュレーション結果の一例を模式的に表すグラフである。
図7(a)~図7(c)は、実施形態に係る高周波回路の製造方法の一例を模式的に表す断面図である。
実施形態に係る高周波回路の変形例を模式的に表す平面図である。
実施形態に係る高周波回路の変形例を模式的に表す平面図である。
【発明を実施するための形態】
【0007】
以下、図面を参照しつつ、本発明の実施形態について説明する。
なお、図面は模式的または概念的なものであり、各部分の厚みと幅との関係、部分間の大きさの比率などは、必ずしも現実のものと同一とは限らない。また、同じ部分を表す場合であっても、図面により互いの寸法や比率が異なって表される場合もある。
なお、本願明細書と各図において、既出の図に関して前述したものと同様の要素には、同一の符号を付して詳細な説明を適宜省略する。
【0008】
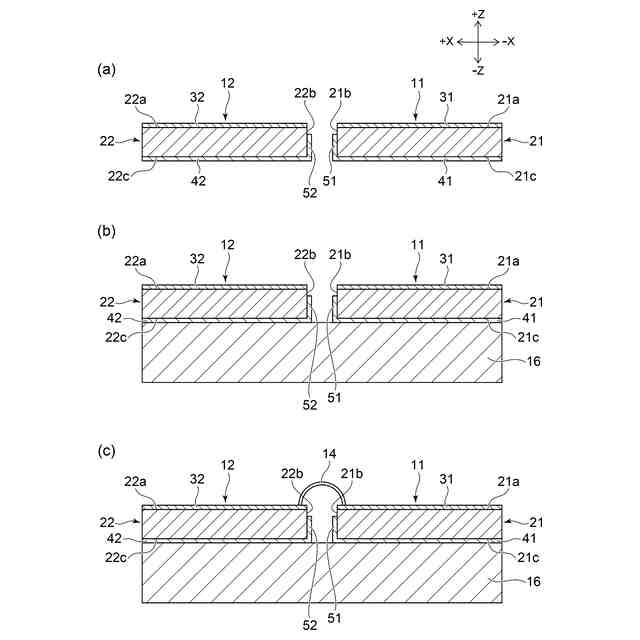
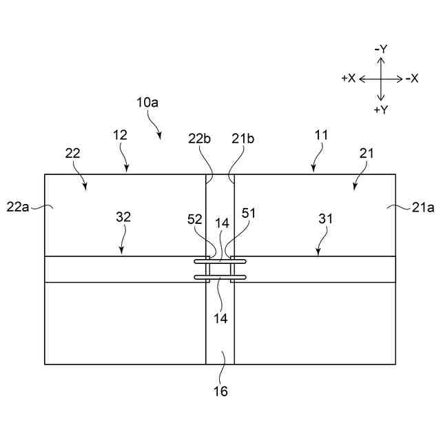
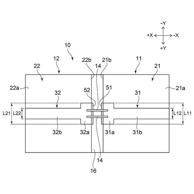
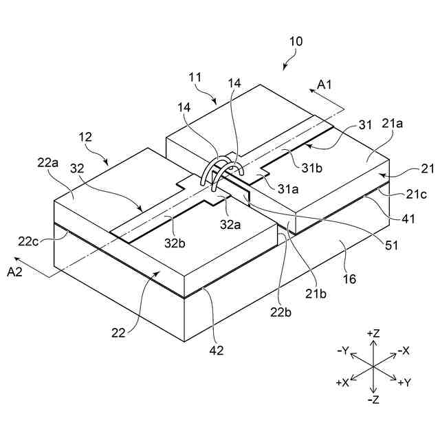
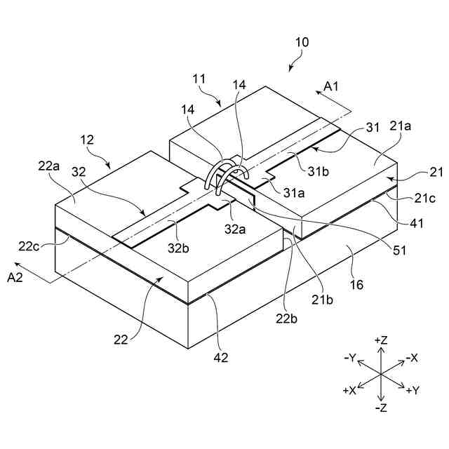
図1は、実施形態に係る高周波回路を模式的に表す斜視図である。
図2は、実施形態に係る高周波回路を模式的に表す断面図である。
図2は、図1のA1-A2線断面を模式的に表す。
図1及び図2に表したように、高周波回路10は、第1基板部11と、第2基板部12と、ボンディングワイヤ14と、を備える。高周波回路10は、例えば、無線通信機器、レーダ装置、高周波増幅器などの高周波回路に用いられる。
【0009】
第1基板部11は、第1基板21と、第1伝送線路31(伝送線路)と、を有する。第1基板21は、第1方向を向く第1表面21aと、第1方向と直交する第2方向を向く第1側面21bと、を有する。また、第1基板21は、例えば、第1方向と反対の方向を向く第1裏面21cをさらに有する。第1裏面21cは、換言すれば、第1表面21aと反対の方向を向く面である。
【0010】
第1方向は、例えば、+Z方向である。第1方向と反対の方向は、例えば、-Z方向である。第2方向は、例えば、+X方向である。第1表面21aは、+Z方向に対して直交する面に限ることなく、少なくとも+Z方向を向く成分を有する任意の面でよい。第1表面21aは、例えば、+Z方向に対して傾斜した面などでもよい。第1側面21bや第1裏面21cなどの他の面についても同様である。第1側面21bは、少なくとも+X方向を向く成分を有する任意の面でよい。第1裏面21cは、少なくとも-Z方向を向く成分を有する任意の面でよい。
(【0011】以降は省略されています)
この特許をJ-PlatPat(特許庁公式サイト)で参照する
関連特許
株式会社東芝
センサ
1か月前
株式会社東芝
端子台
16日前
株式会社東芝
センサ
2か月前
株式会社東芝
センサ
1か月前
株式会社東芝
モータ
1か月前
株式会社東芝
固定子
2か月前
株式会社東芝
電子回路
25日前
株式会社東芝
除去装置
9日前
株式会社東芝
吸音装置
1か月前
株式会社東芝
金型構造
1か月前
株式会社東芝
電子装置
1か月前
株式会社東芝
電子装置
29日前
株式会社東芝
ドア構造
2か月前
株式会社東芝
半導体装置
25日前
株式会社東芝
半導体装置
25日前
株式会社東芝
粒子加速器
1か月前
株式会社東芝
真空バルブ
24日前
株式会社東芝
半導体装置
1か月前
株式会社東芝
電動送風機
2か月前
株式会社東芝
半導体装置
1か月前
株式会社東芝
高周波回路
25日前
株式会社東芝
半導体装置
25日前
株式会社東芝
半導体装置
25日前
株式会社東芝
半導体装置
25日前
株式会社東芝
ラック装置
2か月前
株式会社東芝
半導体装置
1か月前
株式会社東芝
半導体装置
1か月前
株式会社東芝
半導体装置
1か月前
株式会社東芝
半導体装置
29日前
株式会社東芝
半導体装置
1か月前
株式会社東芝
半導体装置
29日前
株式会社東芝
半導体装置
29日前
株式会社東芝
半導体装置
1か月前
株式会社東芝
半導体装置
1か月前
株式会社東芝
半導体装置
1か月前
株式会社東芝
半導体装置
1か月前
続きを見る
他の特許を見る