TOP
|
特許
|
意匠
|
商標
特許ウォッチ
Twitter
他の特許を見る
10個以上の画像は省略されています。
公開番号
2025159495
公報種別
公開特許公報(A)
公開日
2025-10-21
出願番号
2024062096
出願日
2024-04-08
発明の名称
半導体装置
出願人
株式会社東芝
,
東芝デバイス&ストレージ株式会社
代理人
個人
,
個人
,
個人
主分類
H10D
30/66 20250101AFI20251014BHJP()
要約
【課題】ゲート絶縁層の信頼性が向上する半導体装置を提供する。
【解決手段】
実施形態の半導体装置は、第1の電極と、第2の電極と、第1の電極と第2のゲート電極との間の第1の面と第2の面を有する半導体層と、を備える。半導体層は、複数の第1のトレンチと、最端部に位置する第1のトレンチに隣り合う第2のトレンチと、を含む。半導体装置は、第1のトレンチの中の第1の長さを有する第1のゲート電極と、第2のトレンチの中の、第1のトレンチの側の第2の長さが、第1のトレンチと反対側の第3の長さよりも大きい第2のゲート電極と、第1のゲート電極と半導体層との間の第1の厚さの第1のゲート絶縁層と、第2のゲート電極と第1のトレンチの側の半導体層との間の、第2の厚さを有する第2のゲート絶縁層と、第2のゲート電極と第1のトレンチと反対側の半導体層との間の、第2の厚さより厚い第3の厚さを有する第2のゲート絶縁層と、を備える。
【選択図】図2
特許請求の範囲
【請求項1】
第1の電極と、
第2の電極と、
前記第1の電極と前記第2の電極との間に設けられ、前記第1の電極に対向する第1の面と、前記第2の電極に対向する第2の面とを有する半導体層であって、
前記第1の面の側に設けられ、前記第1の面に平行な第1の方向に延び、前記第1の面に平行で前記第1の方向に垂直な第2の方向に繰り返し配置される複数の第1のトレンチと、
前記第1の面の側に設けられ、前記第1の方向に延び、前記複数の第1のトレンチの中で前記第2の方向の最端部に位置する前記第1のトレンチの前記第2の方向に隣り合う第2のトレンチと、
前記第2の電極に電気的に接続された第1導電形の第1の半導体領域と、
前記第1の半導体領域と前記第1の面との間に設けられ、2つの前記第1のトレンチの間に設けられる第2導電形の第2の半導体領域と、
前記第2の半導体領域と前記第1の面との間に設けられ、2つの前記第1のトレンチの間に設けられ、前記第1の電極に電気的に接続された第1導電形の第3の半導体領域と、
を含む半導体層と、
前記第1のトレンチの中に設けられ、前記第1の方向及び前記第2の方向と垂直な第3の方向の第1の長さを有する第1のゲート電極と、
前記第1のトレンチの中に設けられ、前記第1のゲート電極と前記第2の面との間に設けられた第1のフィールドプレート電極と、
前記第2のトレンチの中に設けられ、前記第1のトレンチの側の部分の前記第3の方向の第2の長さが前記第1のトレンチと反対側の部分の前記第3の方向の第3の長さよりも大きい第2のゲート電極と、
前記第2のトレンチの中に設けられ、前記第2のゲート電極と前記第2の面との間に設けられた第2のフィールドプレート電極と、
前記第1のゲート電極と前記半導体層との間に設けられ、第1の厚さを有する第1のゲート絶縁層と、
前記第1のフィールドプレート電極と前記半導体層との間に設けられた第1のフィールドプレート絶縁層と、
前記第1のゲート電極と前記第1のフィールドプレート電極との間に設けられた第1の電極間絶縁層と、
前記第2のゲート電極と前記第1のトレンチの側の前記半導体層との間に設けられ、第2の厚さを有する第2のゲート絶縁層と、
前記第2のゲート電極と前記第1のトレンチと反対側の前記半導体層との間に設けられ、前記第2の厚さより厚い第3の厚さを有する第3のゲート絶縁層と、
前記第2のフィールドプレート電極と前記半導体層との間に設けられた第2のフィールドプレート絶縁層と、
前記第2のゲート電極と前記第2のフィールドプレート電極との間に設けられた第2の電極間絶縁層と、
を備えた半導体装置。
続きを表示(約 730 文字)
【請求項2】
前記第2の長さは、前記第3の長さの1.2倍以上である、請求項1記載の半導体装置。
【請求項3】
前記第2のゲート電極の前記第2の面の側の面は、段差を有する、請求項1記載の半導体装置。
【請求項4】
前記第2の長さは、前記第1の長さの0.9倍以上1.1倍以下である請求項1記載の半導体装置。
【請求項5】
前記第3の厚さは、前記第2の厚さの1.5倍以上である、請求項1記載の半導体装置。
【請求項6】
前記第2の厚さは、前記第1の厚さの0.9倍以上1.1倍以下である、請求項1記載の半導体装置。
【請求項7】
第1の位置における前記第2のゲート電極と前記第2のフィールドプレート電極との間の前記第3の方向の第1の距離は、
前記第2の方向において前記第1の位置よりも前記第1のトレンチから遠い第2の位置における前記第2のゲート電極と前記第2のフィールドプレート電極との間の前記第3の方向の第2の距離よりも小さい、請求項1記載の半導体装置。
【請求項8】
第2の距離は、第1の距離の1.2倍以上である、請求項1記載の半導体装置。
【請求項9】
前記第2のトレンチの前記第2の方向の幅は、前記第1のトレンチの前記第2の方向の幅の0.9倍以上1.1倍以下である、請求項1記載の半導体装置。
【請求項10】
前記第2の方向及び前記第3の方向に平行な断面において、前記第2の方向を左右方向と定義した場合に、前記第2のゲート電極の形状は左右非対称である、請求項1記載の半導体装置。
(【請求項11】以降は省略されています)
発明の詳細な説明
【技術分野】
【0001】
本発明の実施形態は、半導体装置に関する。
続きを表示(約 2,900 文字)
【背景技術】
【0002】
パワー半導体装置の一例として、半導体層を上下に挟むようにソース電極とドレイン電極が設けられ、ゲート電極がトレンチの中に設けられた縦型のトレンチゲート型MOSFET(Metal Oxide Semiconductor Field Effect Transistor)がある。縦型のトレンチゲート型MOSFETでは、互いに平行に配置された複数のトレンチの最端部のトレンチで電界集中が生じる。電界集中が生じることで最端部のトレンチに設けられたゲート絶縁層の信頼性が問題となる。
【先行技術文献】
【特許文献】
【0003】
米国特許第11217689号明細書
【発明の概要】
【発明が解決しようとする課題】
【0004】
本発明が解決しようとする課題は、ゲート絶縁層の信頼性が向上する半導体装置を提供することにある。
【課題を解決するための手段】
【0005】
実施形態の半導体装置は、第1の電極と、第2の電極と、前記第1の電極と前記第2の電極との間に設けられ、前記第1の電極に対向する第1の面と、前記第2の電極に対向する第2の面とを有する半導体層であって、前記第1の面の側に設けられ、前記第1の面に平行な第1の方向に延び、前記第1の面に平行で前記第1の方向に垂直な第2の方向に繰り返し配置される複数の第1のトレンチと、前記第1の面の側に設けられ、前記第1の方向に延び、前記複数の第1のトレンチの中で前記第2の方向の最端部に位置する前記第1のトレンチの前記第2の方向に隣り合う第2のトレンチと、前記第2の電極に電気的に接続された第1導電形の第1の半導体領域と、前記第1の半導体領域と前記第1の面との間に設けられ、2つの前記第1のトレンチの間に設けられる第2導電形の第2の半導体領域と、前記第2の半導体領域と前記第1の面との間に設けられ、2つの前記第1のトレンチの間に設けられ、前記第1の電極に電気的に接続された第1導電形の第3の半導体領域と、を含む半導体層と、前記第1のトレンチの中に設けられ、前記第1の方向及び前記第2の方向と垂直な第3の方向の第1の長さを有する第1のゲート電極と、前記第1のトレンチの中に設けられ、前記第1のゲート電極と前記第2の面との間に設けられた第1のフィールドプレート電極と、前記第2のトレンチの中に設けられ、前記第1のトレンチの側の部分の前記第3の方向の第2の長さが前記第1のトレンチと反対側の部分の前記第3の方向の第3の長さよりも大きい第2のゲート電極と、前記第2のトレンチの中に設けられ、前記第2のゲート電極と前記第2の面との間に設けられた第2のフィールドプレート電極と、前記第1のゲート電極と前記半導体層との間に設けられ、第1の厚さを有する第1のゲート絶縁層と、前記第1のフィールドプレート電極と前記半導体層との間に設けられた第1のフィールドプレート絶縁層と、前記第1のゲート電極と前記第1のフィールドプレート電極との間に設けられた第1の電極間絶縁層と、前記第2のゲート電極と前記第1のトレンチの側の前記半導体層との間に設けられ、第2の厚さを有する第2のゲート絶縁層と、前記第2のゲート電極と前記第1のトレンチと反対側の前記半導体層との間に設けられ、前記第2の厚さより厚い第3の厚さを有する第3のゲート絶縁層と、前記第2のフィールドプレート電極と前記半導体層との間に設けられた第2のフィールドプレート絶縁層と、前記第2のゲート電極と前記第2のフィールドプレート電極との間に設けられた第2の電極間絶縁層と、を備える。
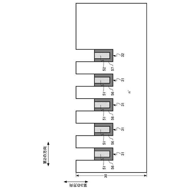
【図面の簡単な説明】
【0006】
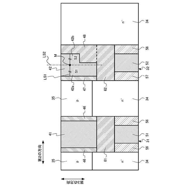
実施形態の半導体装置の模式図。
実施形態の半導体装置の一部の模式断面図。
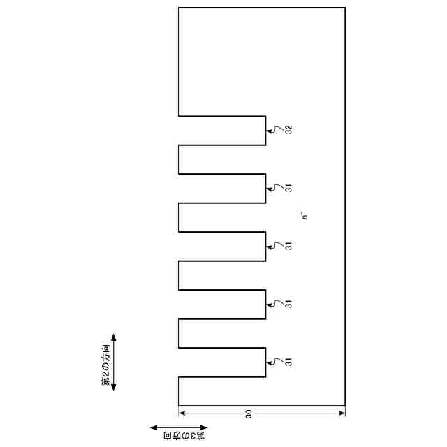
実施形態の半導体装置の一部の模式上面図。
実施形態の半導体装置の一部の拡大模式断面図。
実施形態の半導体装置の一部の拡大模式断面図。
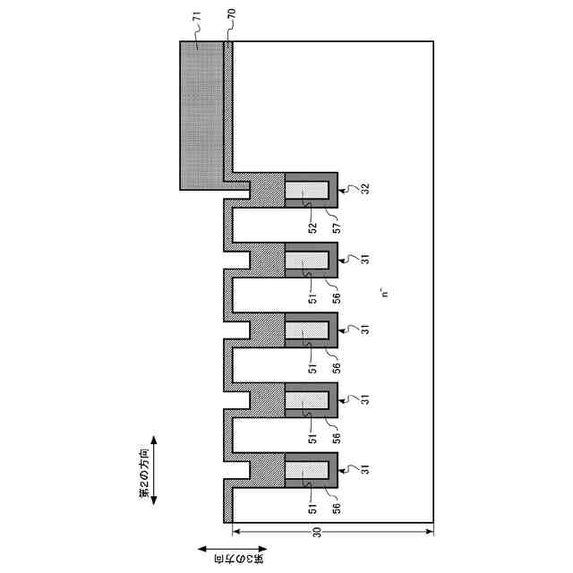
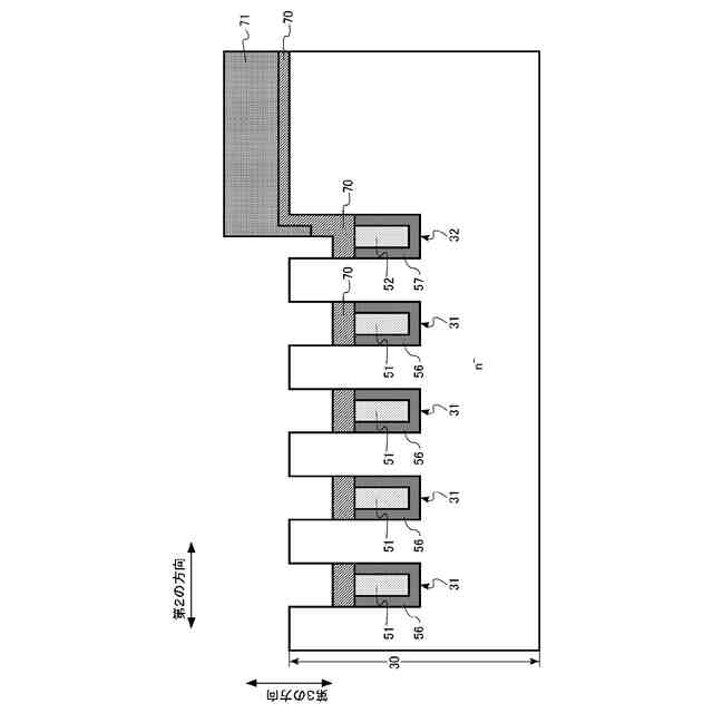
実施形態の半導体装置の製造方法を説明する図。
実施形態の半導体装置の製造方法を説明する図。
実施形態の半導体装置の製造方法を説明する図。
実施形態の半導体装置の製造方法を説明する図。
実施形態の半導体装置の製造方法を説明する図。
実施形態の半導体装置の製造方法を説明する図。
実施形態の半導体装置の製造方法を説明する図。
第1の比較形態の半導体装置の一部の模式断面図。
第2の比較形態の半導体装置の一部の模式断面図。
【発明を実施するための形態】
【0007】
以下、図面を参照しつつ本発明の実施形態を説明する。なお、以下の説明では、同一又は類似の部材などには同一の符号を付し、一度説明した部材などについては適宜その説明を省略する。
【0008】
本明細書中、n
+
形、n形、n
-
形との表記がある場合、n
+
形、n形、n
-
形の順でn形不純物濃度が低くなっていることを意味する。また、p
+
形、p形、p
-
形の表記がある場合、p
+
形、p形、p
-
形の順で、p形不純物濃度が低くなっていることを意味する。
【0009】
半導体装置の不純物濃度は、例えば、二次イオン質量分析法(Secondary Ion Mass Spectrometry:SIMS)により測定することが可能である。また、半導体装置の不純物濃度の相対的な高低は、例えば、Scanning Capacitance Microscopy(SCM)で求められるキャリア濃度の高低から判断することも可能である。また、半導体装置の不純物領域の幅や深さ等の距離は、例えば、SIMSで求めることが可能である。また、半導体装置の不純物領域の幅や深さ等の距離は、例えば、SCM像から求めることが可能である。
【0010】
本明細書中の半導体装置を構成する部材の化学組成の定性分析及び定量分析は、例えば、SIMS、エネルギー分散型X線分光法(Energy Dispersive X-ray Spectroscopy:EDX)、ラザフォード後方散乱分析法(Rutherford Back-Scattering Spectroscopy:RBS)により行うことが可能である。また、半導体装置を構成する部材の厚さ、部材間の距離等の測定には、例えば、走査型電子顕微鏡(Scanning Electron Microscope:SEM)又は透過型電子顕微鏡(Transmission Electron Microscope:TEM)を用いることが可能である。
(【0011】以降は省略されています)
この特許をJ-PlatPat(特許庁公式サイト)で参照する
関連特許
株式会社東芝
端子台
1か月前
株式会社東芝
電子源
1日前
株式会社東芝
電子装置
1か月前
株式会社東芝
除去装置
1か月前
株式会社東芝
電子回路
1か月前
株式会社東芝
半導体装置
1日前
株式会社東芝
半導体装置
1か月前
株式会社東芝
半導体装置
1か月前
株式会社東芝
半導体装置
1か月前
株式会社東芝
半導体装置
1か月前
株式会社東芝
半導体装置
1か月前
株式会社東芝
半導体装置
1か月前
株式会社東芝
半導体装置
1か月前
株式会社東芝
半導体装置
1か月前
株式会社東芝
真空バルブ
1か月前
株式会社東芝
半導体装置
8日前
株式会社東芝
真空バルブ
1か月前
株式会社東芝
半導体装置
1か月前
株式会社東芝
半導体装置
1か月前
株式会社東芝
高周波回路
1か月前
株式会社東芝
半導体装置
1か月前
株式会社東芝
半導体装置
1か月前
株式会社東芝
半導体装置
1か月前
株式会社東芝
半導体装置
1か月前
株式会社東芝
半導体装置
16日前
株式会社東芝
半導体装置
1か月前
株式会社東芝
半導体装置
1日前
株式会社東芝
半導体装置
2日前
株式会社東芝
半導体装置
2日前
株式会社東芝
真空バルブ
2日前
株式会社東芝
コントローラ
1か月前
株式会社東芝
光電流センサ
2日前
株式会社東芝
電気化学装置
1日前
株式会社東芝
台車搬送装置
2か月前
株式会社東芝
超電導コイル
1か月前
株式会社東芝
補修システム
1か月前
続きを見る
他の特許を見る