TOP
|
特許
|
意匠
|
商標
特許ウォッチ
Twitter
他の特許を見る
公開番号
2025159567
公報種別
公開特許公報(A)
公開日
2025-10-21
出願番号
2024062239
出願日
2024-04-08
発明の名称
コントローラ
出願人
株式会社東芝
代理人
個人
,
個人
,
個人
,
個人
主分類
G06F
1/16 20060101AFI20251014BHJP(計算;計数)
要約
【課題】メンテナンスの容易なコントローラを提供する。
【解決手段】本実施の形態に係るコントローラは、搭載面を有するベース部材と、前記ベース部材の前記搭載面上に、第1の方向に対応して設けられる複数の機能モジュールと、前記ベース部材の前記搭載面上に、前記第1の方向に平行な第2の方向に対応して設けられる、前記複数の機能モジュールに電力を供給する少なくとも1つの電源供給ユニットと、を備える。前記少なくとも1つの電源供給ユニットの筐体の前記第2の方向における一方の側には、前記ベース部材に固定される第1の取り付け具が設けられ、前記少なくとも1つの電源供給ユニットの前記筐体の前記第2の方向における他方の側には、前記ベース部材に固定される第2の取り付け具が設けられる。前記第1の取り付け具及び第2の取り付け具は、前記第2の方向と直交しかつ前記搭載面に平行な第3の方向において異なる位置に設けられる。
【選択図】図1
特許請求の範囲
【請求項1】
搭載面を有するベース部材と、
前記ベース部材の前記搭載面上に、第1の方向に対応して設けられる複数の機能モジュールと、
前記ベース部材の前記搭載面上に、前記第1の方向に平行な第2の方向に対応して設けられる、前記複数の機能モジュールに電力を供給する少なくとも1つの電源供給ユニットと、
を備え、
前記少なくとも1つの電源供給ユニットの筐体の前記第2の方向における一方の側には、前記ベース部材に固定される第1の取り付け具が設けられ、前記少なくとも1つの電源供給ユニットの前記筐体の前記第2の方向における他方の側には、前記ベース部材に固定される第2の取り付け具が設けられ、
前記第1の取り付け具及び第2の取り付け具は、前記第2の方向と直交しかつ前記搭載面に平行な第3の方向において異なる位置に設けられる、
コントローラ。
続きを表示(約 1,100 文字)
【請求項2】
前記少なくとも1つの電源供給ユニットは、第1の電源供給ユニット及び第2の電源供給ユニットを含み、
前記第1の電源供給ユニット及び前記第2の電源供給ユニットが前記ベース部材に固定された状態において、前記第1の電源供給ユニットの前記第2の取り付け具、及び前記第2の電源供給ユニットの前記第1の取り付け具は、前記第3の方向に対応して一列に並ぶ、
請求項1に記載のコントローラ。
【請求項3】
前記第1の取り付け具は、前記第3の方向に対応して間隔を空けて複数の取り付け部分を含み、
前記第2の取り付け具は、前記第3の方向に対応して間隔を空けて複数の取り付け部分を含み、
前記第1の電源供給ユニット及び前記第2の電源供給ユニットが前記ベース部材に固定された状態において、前記第1の電源供給ユニットの前記第2の取り付け具の前記複数の取り付け部分、及び前記第2の電源供給ユニットの前記第1の取り付け具の前記複数の取り付け部分は、前記第3の方向に対応して交互に並ぶ、
請求項2に記載のコントローラ。
【請求項4】
前記少なくとも1つの電源供給ユニットの前記筐体の第1の面は、前記複数の機能モジュールに対向し、
前記少なくとも1つの電源供給ユニットの前記筐体の前記第1の面に対向する第2の面には空気の吸入口が設けられ、
前記少なくとも1つの電源供給ユニットの前記筐体内には、前記吸入口で取り込まれた空気を前記第1の面側に送出する送風部が収容され、
前記第1の面には、前記送風部により送出される前記空気を出力するスリットが形成される、
請求項1に記載のコントローラ。
【請求項5】
前記少なくとも1つの電源供給ユニットの前記筐体内には、前記第2の方向に対応して、交流電力を直流電力に変換する電源部と、前記直流電力を前記複数の機能モジュール及び前記送風部に分配する分電部と、がさらに収容され、
前記送風部は、前記送風部から送出される空気流が前記分電部よりも前記電源部に多く当たる位置に配置される、
請求項4に記載のコントローラ。
【請求項6】
前記ベース部材の前記搭載面には、外部交流電源に接続される第1の電気コネクタが設けられ、
前記少なくとも1つの電源供給ユニットの前記筐体は、前記ベース部材の前記搭載面に対向する第3面を有し、
前記第3面には、前記第1の電気コネクタと結合及び分離可能であり、かつ前記電源部に接続された第2の電気コネクタが設けられ、
前記電源部の動作電力は、前記外部交流電源から前記第1の電気コネクタ及び前記第2の電気コネクタを介して供給される、
請求項5に記載のコントローラ。
発明の詳細な説明
【技術分野】
【0001】
本実施の形態は、コントローラに関する。
続きを表示(約 2,000 文字)
【背景技術】
【0002】
プロセスオートメーション、ファクトリオートメーション等のシステムにおいて、設備の状態監視、自動制御等を行うコントローラ(産業用コントローラ)が利用されている。コントローラには、各種の機能を実現する複数の機能モジュール、各機能モジュールに電力を供給する電源ユニット、機能モジュールや電源ユニットを冷却するための空気流を送出する送風ユニット等が搭載されている。機能モジュールの種類に応じたコントローラの設置、故障した場合のコントローラの交換・修理など、コントローラのメンテナンスが容易であることが望まれる。
【先行技術文献】
【特許文献】
【0003】
特開2022-047179号公報
【発明の概要】
【発明が解決しようとする課題】
【0004】
本実施の形態は、メンテナンスの容易なコントローラを提供することを目的とする。
【課題を解決するための手段】
【0005】
上記の課題を解決するために、本実施の形態に係るコントローラは、搭載面を有するベース部材と、前記ベース部材の前記搭載面上に、第1の方向に対応して設けられる複数の機能モジュールと、前記ベース部材の前記搭載面上に、前記第1の方向に平行な第2の方向に対応して設けられる、前記複数の機能モジュールに電力を供給する少なくとも1つの電源供給ユニットと、を備える。前記少なくとも1つの電源供給ユニットの筐体の前記第2の方向における一方の側には、前記ベース部材に固定される第1の取り付け具が設けられ、前記少なくとも1つの電源供給ユニットの前記筐体の前記第2の方向における他方の側には、前記ベース部材に固定される第2の取り付け具が設けられる。前記第1の取り付け具及び第2の取り付け具は、前記第2の方向と直交しかつ前記搭載面に平行な第3の方向において異なる位置に設けられる。
【図面の簡単な説明】
【0006】
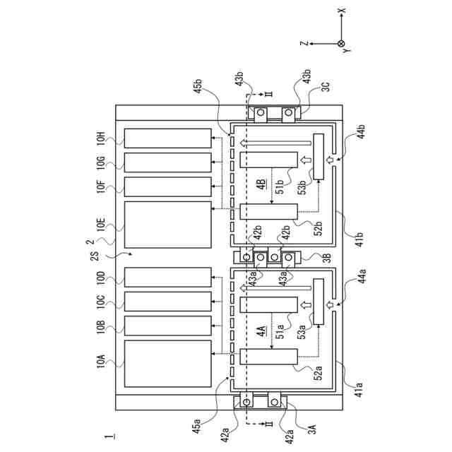
実施の形態に係るコントローラの構成を示す正面図である。
図1のII-II断面図である。
図2のIII-III断面図及びIV-IV断面図である。
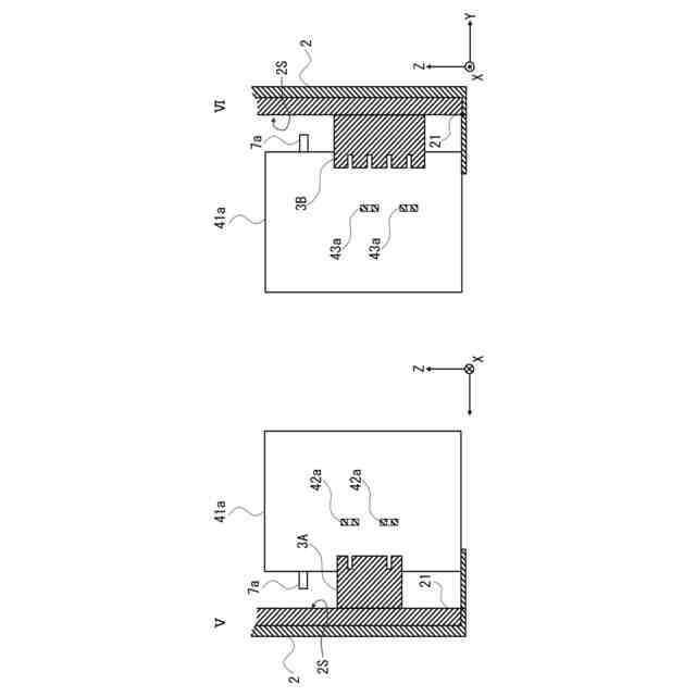
図2のV-V断面図及びVI-VI断面図である。
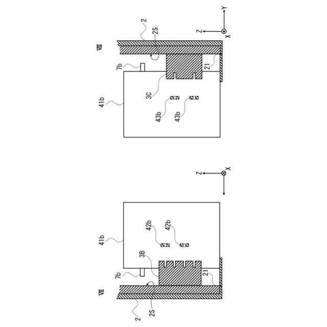
図2のVII-VII断面図及びVIII-VIII断面図である。
実施の形態の変形例を示す図である。
【発明を実施するための形態】
【0007】
以下では、図面を参照しながら、本実施の形態について説明する。図面において、同一又は対応する要素には同じ参照符号を付して、詳細な説明は適宜省略する。
【0008】
図1は、実施の形態に係るコントローラ1の構成を示す正面図である。
図2は、図1のII-II断面図である。
図3は、図2のIII-III断面図及びIV-IV断面図である。
図4は、図2のV-V断面図及びVI-VI断面図である。
図5は、図2のVII-VII断面図及びVIII-VIII断面図である。
図1~図5において、X軸、Y軸、Z軸は、3次元空間における方向を示している。また、重力は-Z方向にかかっている。
【0009】
図1及び図2を参照すると、コントローラ1は、平板状のベース部材2を備えている。ベース部材2は搭載面2Sを有する。ベース部材2の搭載面2S上には、X方向(第1の方向)に対応して、複数の機能モジュール10A~10Hが設けられている。また、ベース部材2の搭載面2S上には、X方向(第1の方向に平行な第2の方向)に対応して、電源供給ユニット4A、4Bをベース部材2に固定するための3つの固定部材3A~3Cが設けられている。ベース部材2は、電力を伝送可能な電力線21(図3~図5を参照)や、信号を伝送可能な信号線(図示せず)等を有している。電源供給ユニット4A、4Bの筐体のサイズは一例として同じであるが、これに限定されない。
【0010】
機能モジュール10A~10Hは、所定の機能を実現するモジュールである。例えば、機能モジュール10A~10Hは、CPU(Central Processing Unit)を搭載したCPUモジュール、信号の入出力を行うI/Oモジュール、制御対象のシステムを含むネットワークのインターフェースとなる伝送モジュール等を含んでいる。機能モジュール10A~10Hは、ベース部材2に対して個別に着脱可能であり、かつ配列の順序は変更可能である。ベース部材2に取り付けられた状態では、機能モジュール10A~10Hは、ベース部材2の電力線21に接続される。
(【0011】以降は省略されています)
この特許をJ-PlatPat(特許庁公式サイト)で参照する
関連特許
個人
詐欺保険
1か月前
個人
縁伊達ポイン
1か月前
個人
5掛けポイント
1か月前
個人
職業自動販売機
24日前
個人
RFタグシート
1か月前
個人
ペルソナ認証方式
1か月前
個人
QRコードの彩色
1か月前
個人
情報処理装置
1か月前
個人
自動調理装置
1か月前
個人
立体グラフの利用方法
3日前
個人
残土処理システム
2か月前
個人
農作物用途分配システム
1か月前
個人
タッチパネル操作指代替具
1か月前
個人
知的財産出願支援システム
2か月前
個人
サービス情報提供システム
26日前
個人
インターネットの利用構造
1か月前
NISSHA株式会社
入力装置
4日前
個人
スケジュール調整プログラム
1か月前
個人
学習用データ生成装置
5日前
個人
携帯端末障害問合せシステム
1か月前
個人
エリアガイドナビAIシステム
1か月前
株式会社ケアコム
項目選択装置
1か月前
エッグス株式会社
情報処理装置
1か月前
株式会社ケアコム
項目選択装置
1か月前
キヤノン株式会社
印刷システム
1か月前
トヨタ自動車株式会社
通知装置
1か月前
キヤノン株式会社
情報処理装置
18日前
株式会社ワコム
電子ペン
1か月前
株式会社ワコム
電子ペン
1か月前
キラル株式会社
顧客体験提供システム
6日前
個人
音声・通知・再配達UX制御構造
2か月前
キヤノン株式会社
情報処理装置
18日前
キヤノン株式会社
画像認識装置
18日前
キヤノン株式会社
情報処理装置
1か月前
個人
帳票自動生成型SaaSシステム
2か月前
トヨタ自動車株式会社
車両
1か月前
続きを見る
他の特許を見る