TOP
|
特許
|
意匠
|
商標
特許ウォッチ
Twitter
他の特許を見る
10個以上の画像は省略されています。
公開番号
2025176419
公報種別
公開特許公報(A)
公開日
2025-12-04
出願番号
2024082577
出願日
2024-05-21
発明の名称
入力装置
出願人
NISSHA株式会社
代理人
主分類
G06F
3/041 20060101AFI20251127BHJP(計算;計数)
要約
【課題】
操作パネルの触感を改善した入力装置を提供する。
【解決手段】
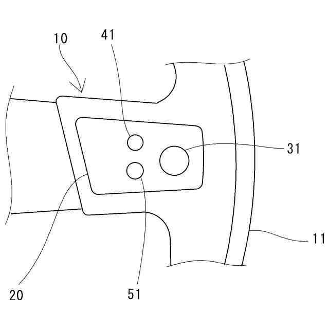
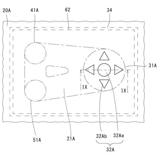
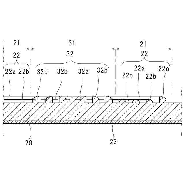
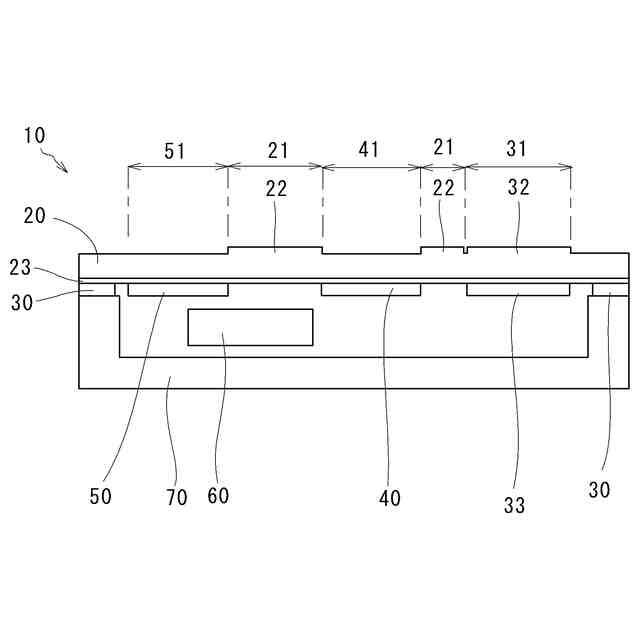
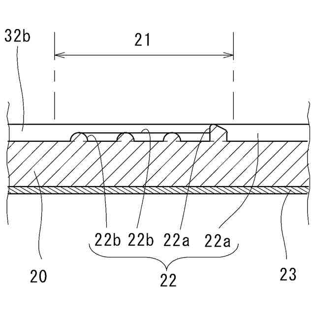
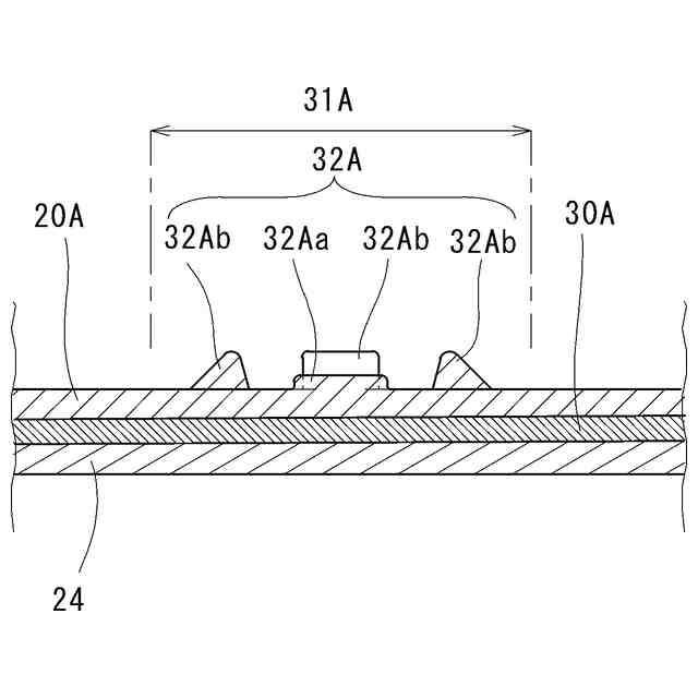
入力装置は、筐体と、検出回路と、せん断力センサと、操作パネル20と、第1入力センサと、第2入力センサと、第3入力センサとを備える。操作パネル20は、せん断力センサにせん断力が伝達されるよう接続される。操作パネル20の上には、凹凸部32が形成され水平方向への入力が行われる第1入力領域31、第2入力領域41、第3入力領域51、及び、誘導部22が形成された経路領域21が設けられる。第1入力領域31は、1GPa以上の弾性率を有する。操作パネル20の下には、意匠層、第1入力領域31の下に第1入力センサ、第2入力領域41の下に第2入力センサ及び第3入力領域51の下に第3入力センサがそれぞれ設けられる。せん断力センサ、第1入力センサ、第2入力センサ及び第3入力センサは、検出回路にそれぞれ電気的に接続される。
【選択図】図4
特許請求の範囲
【請求項1】
水平方向への入力が行われる第1入力領域を有する操作パネルと、
前記第1入力領域への水平方向の入力を検出する、前記操作パネルに接続するように設けられたせん断力センサと、を備え、
前記第1入力領域は、表面に凹凸部が形成され、1GPa以上の弾性率を有する、
入力装置。
続きを表示(約 580 文字)
【請求項2】
前記第1入力領域への入力を検出する、前記操作パネルの下に設けられた第1入力センサを更に備える、
請求項1に記載の入力装置。
【請求項3】
前記操作パネルは、第2入力領域を更に有し、
前記第2入力領域への入力を検出する、前記操作パネルの下に設けられた第2入力センサを更に備える、
請求項1に記載の入力装置。
【請求項4】
前記操作パネルは、前記第1入力領域と前記第2入力領域とを接続する経路領域を更に有し、
前記経路領域は、前記第1入力領域と前記第2入力領域との間を移動する入力部材を導くように形成された誘導部を有する、
請求項3に記載の入力装置。
【請求項5】
前記操作パネルは、前記第1入力領域、前記第2入力領域及び前記第1入力領域と前記第2入力領域とを接続する領域を含む経路領域を更に有し、
前記経路領域は、前記第1入力領域と前記第2入力領域との間を移動する入力部材を導くように形成された誘導部を有し、
前記誘導部は、前記経路領域を囲むように形成される、
請求項3に記載の入力装置。
【請求項6】
前記第1入力領域において、一の方向の摩擦係数が、他の方向の摩擦係数よりも大きい、請求項1に記載の入力装置。
発明の詳細な説明
【技術分野】
【0001】
本発明は入力装置に関し、特にせん断力センサを備える入力装置に関する。
続きを表示(約 1,600 文字)
【背景技術】
【0002】
入力の大きさや向きなどといった、複数の入力を検出する、せん断力センサや押圧力センサなどを備える入力装置が提案されている。例えば、特許文献1には、自動車のステアリングホイールのシャフト部に配置された、多数のスイッチを有する入力装置が記載されている。これら多数のスイッチは、入力装置から多種の入力や操作を行うための部品である。例えば、音響機器に対する音楽の再生や音量調整、携帯電話の受話、ADAS(Advanced driver-assistance systems、先進運転支援システム)の各種設定(例えば車間距離の設定)などの操作が行われる。入力装置に備えられるセンサとして、例えば、特許文献2には、押圧力及びせん断応力の方向や大きさ、面内分布などを、静電容量を用いて検出可能な圧力検出装置が記載されている。
【0003】
又、せん断力センサがせん断力を検出するためには、入力部材からせん断力センサにせん断力が伝わらねばならない。入力部材が接触する入力面には、入力部材からせん断力が伝わるような高い摩擦係数が必要になる。例えば、特許文献3には、カバーパネルの操作面のせん断力入力を行う領域の摩擦係数が、それ以外の領域の摩擦係数よりも大きいため、せん断力による入力がより容易になる情報入力装置が記載されている。
【先行技術文献】
【特許文献】
【0004】
特開2023-044967号公報
特許第7295013号公報
特許第7035102号公報
【発明の概要】
【発明が解決しようとする課題】
【0005】
特許文献3に記載された情報入力装置のような従来のせん断力センサを備える入力装置では、入力面に高い摩擦係数を得るために、エラストマーなどの摩擦係数の高い材料が用いられていた。しかし、このような入力面は、入力面を操作する者に不快な触感を与える場合があった。
【0006】
この発明は、上記のような課題を解決するためになされたもので、操作パネルの触感を改善した入力装置を提供することを目的とする。
【課題を解決するための手段】
【0007】
上記の目的を達成するために、第1の発明は、水平方向への入力が行われる第1入力領域を有する操作パネルと、第1入力領域への水平方向への入力を検出する、操作パネルに接続するように設けられたせん断力センサと、を備える入力装置である。第1入力領域は、表面に凹凸部が形成され、1GPa以上の弾性率を有する。
【0008】
このように構成すると、第1入力領域の表面には凹凸部が形成され、第1入力領域は1GPa以上の弾性率を有する。よって、第1入力領域の摩擦係数は高くなり、且つ、タック(べたつき)は低くなる。従って、指などの入力部材により行われる水平方向への入力を効果的にせん断力センサに伝えつつ、入力に伴う不快な触感が軽減される。
【0009】
第2の発明は、第1の発明の構成において、第1入力領域への入力を検出する、操作パネルの下に設けられた第1入力センサを更に備える、入力装置である。
【0010】
このように構成すると、第1入力領域にされた接触や近接などの入力は第1入力センサを用いて検出され識別される。第1入力領域が形成された操作パネルに入力されたせん断力はせん断力センサを用いて検出される。よって、せん断力センサが検出するせん断力は、第1入力領域にされた入力のみに限られなくともよい。従って、せん断力センサが筐体に実装されるにあたり、せん断力センサや操作パネル、支持部材などが実装される位置や構造などの自由度が増す。
(【0011】以降は省略されています)
この特許をJ-PlatPat(特許庁公式サイト)で参照する
関連特許
NISSHA株式会社
入力装置
今日
NISSHA株式会社
フィルム製剤
8日前
NISSHA株式会社
表示パネル装置
1か月前
NISSHA株式会社
粉体スプレーガン及び粉体スプレー装置
14日前
個人
詐欺保険
1か月前
個人
縁伊達ポイン
1か月前
個人
RFタグシート
1か月前
個人
5掛けポイント
27日前
個人
職業自動販売機
20日前
個人
ペルソナ認証方式
1か月前
個人
QRコードの彩色
1か月前
個人
地球保全システム
2か月前
個人
情報処理装置
1か月前
個人
自動調理装置
1か月前
個人
残土処理システム
1か月前
個人
表変換編集支援システム
2か月前
個人
農作物用途分配システム
1か月前
個人
知的財産出願支援システム
1か月前
個人
インターネットの利用構造
1か月前
個人
タッチパネル操作指代替具
1か月前
NISSHA株式会社
入力装置
今日
個人
サービス情報提供システム
22日前
個人
携帯端末障害問合せシステム
1か月前
個人
パスワード管理支援システム
2か月前
個人
学習用データ生成装置
1日前
個人
スケジュール調整プログラム
1か月前
株式会社キーエンス
受発注システム
2か月前
株式会社キーエンス
受発注システム
2か月前
個人
システム及びプログラム
2か月前
株式会社キーエンス
受発注システム
2か月前
個人
食品レシピ生成システム
2か月前
個人
AIキャラクター制御システム
2か月前
個人
海外支援型農作物活用システム
2か月前
個人
エリアガイドナビAIシステム
1か月前
個人
音声・通知・再配達UX制御構造
1か月前
キヤノン株式会社
情報処理装置
14日前
続きを見る
他の特許を見る