TOP
|
特許
|
意匠
|
商標
特許ウォッチ
Twitter
他の特許を見る
公開番号
2025176381
公報種別
公開特許公報(A)
公開日
2025-12-04
出願番号
2024082491
出願日
2024-05-21
発明の名称
真空バルブ
出願人
株式会社東芝
代理人
弁理士法人スズエ国際特許事務所
主分類
H01H
33/662 20060101AFI20251127BHJP(基本的電気素子)
要約
【課題】 真空バルブの高電界箇所の電界を緩和する。
【解決手段】 実施形態かかる真空バルブは、開口を有する絶縁容器、開口と接合部を介して接合された封着金具を有する真空容器と、真空容器内に切離可能に対向配置された一対の電極と、封着金具と前記接合部を覆うように設けられた電界緩和シールドとを備え、電界緩和シールドは、導電性樹脂を含有する導電領域、及び導電領域上の少なくとも一部に設けられた絶縁性樹脂を含有する絶縁領域を含む。
【選択図】図1
特許請求の範囲
【請求項1】
開口を有する絶縁容器、及び前記開口と接合部を介して接合された封着金具を有する真空容器と、
前記真空容器内に切離可能に対向配置された一対の電極と、
前記封着金具と前記接合部を覆うように設けられた電界緩和シールドとを備え、
前記電界緩和シールドは、導電性樹脂を含有する導電領域、及び前記導電領域上の少なくとも一部に設けられた絶縁性樹脂を含有する絶縁領域を含む真空バルブ。
続きを表示(約 620 文字)
【請求項2】
前記絶縁性樹脂は、前記導電性樹脂と化学的に結合している請求項1に記載の真空バルブ。
【請求項3】
前記絶縁性樹脂は、前記導電性樹脂の主鎖と同様の主鎖を有する請求項2に記載の真空バルブ。
【請求項4】
前記導電領域と、前記絶縁領域との間にさらに高誘電率樹脂を含有する高誘電率領域を含む請求項1に記載の真空バルブ。
【請求項5】
前記高誘電率樹脂は、前記絶縁性樹脂及び前記導電性樹脂と化学的に結合している請求項4に記載の真空バルブ。
【請求項6】
前記高誘電率樹脂の主鎖は、前記絶縁性樹脂の主鎖、及び前記導電性樹脂の主鎖と同様である請求項4に記載の真空バルブ。
【請求項7】
前記高誘電率樹脂は、絶縁性樹脂を含有する母材と、前記母材に分散された導電性粒子成分とを含む請求項4に記載の真空バルブ。
【請求項8】
前記電界緩和シールドは、前記導電領域から前記高誘電率領域を介して前記絶縁領域にかけて導電性が連続的に低下している請求項4に記載の真空バルブ。
【請求項9】
前記電界緩和シールドと、前記真空容器とは離間している請求項1に記載の真空バルブ。
【請求項10】
前記真空容器と前記電界緩和シールドの周囲は絶縁雰囲気である請求項1に記載の真空バルブ。
(【請求項11】以降は省略されています)
発明の詳細な説明
【技術分野】
【0001】
本発明の実施形態は、真空バルブに関する。
続きを表示(約 2,700 文字)
【背景技術】
【0002】
高電界箇所の電界緩和方法として、金属製の電界緩和シールドを配置する方法がある。この電界緩和シールドを配置した真空バルブが使用される製品としてSF
6
ガスを使用したキュービクル形ガス絶縁スイッチギヤ(C-GIS)(Cubicle-Gas Insulation Switchgear)がある。SF
6
ガスは、温室効果ガスで将来的に使用規制される見込みのため、SF
6
ガスを代替ガスに置き換えたC-GISが開発されている。代替ガスとして、例えばドライエア(乾燥空気)があるが、SF
6
ガスに比べて絶縁性能が約1/3程度しかなく、その他の代替ガスもSF
6
ガスより絶縁性能が劣る場合が多く、代替ガスのみでSF
6
ガスと同等の絶縁性能(絶縁破壊電圧)を実現することが難しい。そのため、固体絶縁物を複合的に使用することが検討されており、その一つとして、金属製の電界緩和シールドに対してその絶縁破壊電圧を向上させるために樹脂でその表面を被覆する。しかし、金属の電界緩和シールドに異種材料である樹脂を接着させるため、材料の膨張率の違いから温度上昇した際に応力が発生し、接着強度が低下し、その界面に欠陥ができる可能性がある。また接着強度を増すために金属表面に特殊な処理が必要になる可能性がある。また、電界緩和シールド自体も高電界であり、定格電圧が高い機種においては被覆した樹脂を貫通して絶縁破壊してしまう可能性があり、電界緩和シールドの表面電界も十分低減する必要がある。
【先行技術文献】
【特許文献】
【0003】
特開2019-110012号公報
特開2014-182877号公報
特開2001-338557号公報
特開2017-165811号公報
【発明の概要】
【発明が解決しようとする課題】
【0004】
本発明の実施形態は、真空バルブの高電界箇所の電界を緩和することを目的とする。
【課題を解決するための手段】
【0005】
実施形態によれば、開口を有する絶縁容器、及び前記開口と接合部を介して接合された封着金具を有する真空容器と、前記真空容器内に切離可能に対向配置された一対の電極と、前記封着金具と前記接合部を覆うように設けられた電界緩和シールドとを備え、前記電界緩和シールドは、導電性樹脂を含有する導電領域、及び前記導電領域上の少なくとも一部に設けられた絶縁性樹脂を含有する絶縁領域を含む真空バルブが提供される。
【図面の簡単な説明】
【0006】
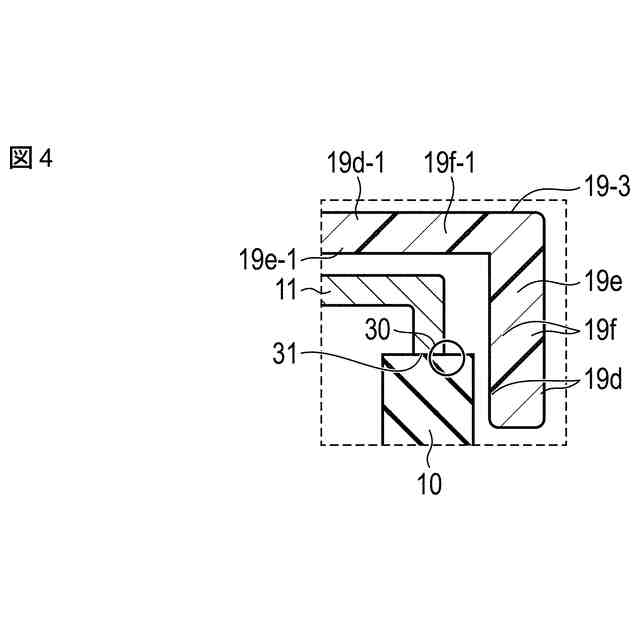
実施形態にかかる真空バルブの一例を表す概略的な断面図である。
図1に用いられる電界緩和シールドの第1例を表す部分拡大図である。
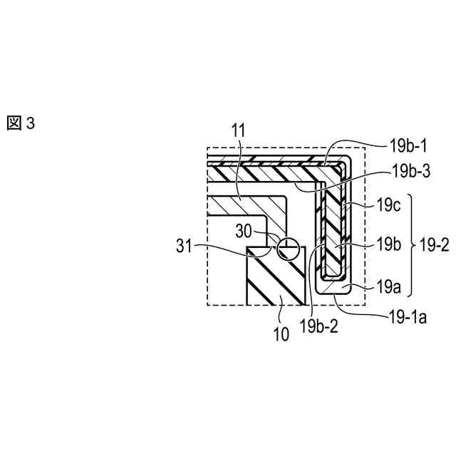
図1に用いられる電界緩和シールドの第2例を表す部分拡大図である。
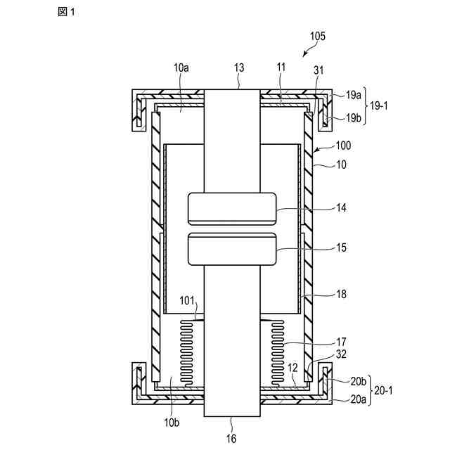
図1に用いられる電界緩和シールドの第3例を表す部分拡大図である。
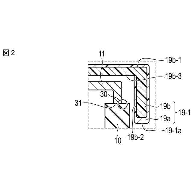
CNF含有量と導電率との関係を表すグラフ図である。
CNF含有量と比誘電率との関係を表すグラフ図である。
BTO含有量と比誘電率との関係を表すグラフ図である。
【発明を実施するための形態】
【0007】
実施形態に係る真空バルブは、開口を有する絶縁容器、開口と接合部を介して接合された封着金具を有する真空容器と、真空容器内に切離可能に対向配置された一対の電極と、封着金具と接合部を覆うように設けられた電界緩和シールドとを備えている。電界緩和シールドは、導電性樹脂を含有する導電領域と、導電領域上の少なくとも一部に設けられた絶縁性樹脂を含有する絶縁領域とを含む。
【0008】
実施形態によれば、電界緩和シールドの導電領域に、金属ではなく導電性樹脂を使用し、絶縁領域として絶縁性樹脂を使用することにより、導電領域と絶縁領域が十分な接着強度を有し、剥離などの欠陥が発生しにくい電界緩和シールドを得ることが可能となり、導電領域と絶縁領域との接着のための特殊な処理も不要となる。このような電界緩和シールドを用いることにより、真空バルブの高電界箇所の電界を緩和することができる。
【0009】
以下、実施の形態について、図面を参照して説明する。
なお、開示はあくまで一例にすぎず、当業者において、発明の主旨を保っての適宜変更であって容易に想到し得るものについては、当然に本発明の範囲に含有されるものである。また、図面は説明をより明確にするため、実際の態様に比べ、各部の幅、厚さ、形状等について模式的に表される場合があるが、あくまで一例であって、本発明の解釈を限定するものではない。また、本明細書と各図において、既出の図に関して前述したものと同様の要素には、同一の符号を付して、詳細な説明を適宜省略することがある。
【0010】
図1に、実施形態にかかる真空バルブの一例を表す概略的な断面図を示す。
図示するように、真空バルブ105は、両端に開口10a、10bを有し、例えばアルミナ磁器等よりなる絶縁容器としての筒状のセラミックス容器10と、一方の開口10aと接合部31を介して接合された固定側封着金具11と、他方の開口10bと接合部32を介して接合された可動側封着金具12とを備えた真空容器100を含み、真空容器100内は真空が維持されている。固定側封着金具11には中央開口部が設けられ、固定側通電軸13が貫通固定されている。固定側通電軸13のセラミックス容器10内の端部に固定側接点14が固着されている。固定側接点14に対向し、切離自在の一対の接点となる可動側接点15は、可動側封着金具12に設けられた中央開口部を移動自在に貫通する可動側通電軸16の端部に固着されている。この可動側通電軸16では、中央部分より可動側封着金具12側の部分がセラミックス容器10の外に導出される部分となっており、その部分に、気密封止のための伸縮自在の筒状のベローズ17が配設されている。ベローズ17の自由端101は可動側通電軸16の中央部分に封着され、固定端102は可動側封着金具12の中央開口部に封着されている。固定側接点14と可動側通電軸16の周囲には、筒状のアークシールド18が設けられている。アークシールドは導電体であり、例えばステンレス鋼等の金属材料により形成することができる。
(【0011】以降は省略されています)
この特許をJ-PlatPat(特許庁公式サイト)で参照する
関連特許
株式会社東芝
センサ
2か月前
株式会社東芝
固定子
3か月前
株式会社東芝
センサ
2か月前
株式会社東芝
端子台
1か月前
株式会社東芝
モータ
2か月前
株式会社東芝
センサ
3か月前
株式会社東芝
電子装置
2か月前
株式会社東芝
電子装置
1か月前
株式会社東芝
電子回路
1か月前
株式会社東芝
除去装置
28日前
株式会社東芝
金型構造
2か月前
株式会社東芝
吸音装置
2か月前
株式会社東芝
半導体装置
1か月前
株式会社東芝
ラック装置
3か月前
株式会社東芝
半導体装置
2か月前
株式会社東芝
半導体装置
2か月前
株式会社東芝
半導体装置
1か月前
株式会社東芝
電動送風機
3か月前
株式会社東芝
半導体装置
1か月前
株式会社東芝
真空バルブ
1か月前
株式会社東芝
半導体装置
2か月前
株式会社東芝
半導体装置
2か月前
株式会社東芝
半導体装置
2か月前
株式会社東芝
半導体装置
2か月前
株式会社東芝
高周波回路
1か月前
株式会社東芝
粒子加速器
2か月前
株式会社東芝
半導体装置
1か月前
株式会社東芝
半導体装置
1か月前
株式会社東芝
半導体装置
14日前
株式会社東芝
半導体装置
1か月前
株式会社東芝
半導体装置
1か月前
株式会社東芝
半導体装置
今日
株式会社東芝
真空バルブ
今日
株式会社東芝
半導体装置
今日
株式会社東芝
半導体装置
2か月前
株式会社東芝
半導体装置
1か月前
続きを見る
他の特許を見る