TOP
|
特許
|
意匠
|
商標
特許ウォッチ
Twitter
他の特許を見る
公開番号
2025139352
公報種別
公開特許公報(A)
公開日
2025-09-26
出願番号
2024038242
出願日
2024-03-12
発明の名称
センサ
出願人
株式会社東芝
代理人
弁理士法人iX
主分類
G01N
27/04 20060101AFI20250918BHJP(測定;試験)
要約
【課題】特性の向上が可能なセンサを提供する。
【解決手段】実施形態によれば、センサは、素子部及び制御部を含む。素子部の第1検出部は、第1抵抗部材及び第1導電部材を含む。素子部の第2検出部は、第2抵抗部材及び第2導電部材を含む。素子部の第3検出部は、第3抵抗部材を含む。制御部は、第1~第3動作を実施する。第1動作において、制御部は、第1導電部材に第1電圧を印加し、第1抵抗部材の第1電気抵抗と、第2抵抗部材の第2電気抵抗と、の差に対応する値を検出する。第2動作において、制御部は、第1導電部材に第2電圧を印加し、第1電気抵抗と、第3抵抗部材の第3電気抵抗と、の差に対応する値を検出する。第3動作において、制御部は、第2導電部材に第3電圧を印加し第2電気抵抗と第3電気抵抗との差に対応する値を検出する。
【選択図】図1
特許請求の範囲
【請求項1】
素子部と、
制御部と、
を備え、
前記素子部は、
第1検出部を含む第1素子と、
第2検出部を含む第2素子と、
第3検出部を含む第3素子と、
を含み、
前記第1検出部は、第1抵抗部材及び第1導電部材を含み、
前記第2検出部は、第2抵抗部材及び第2導電部材を含み、
前記第3検出部は、第3抵抗部材を含み、
前記制御部は、第1動作、第2動作、及び、第3動作を実施するように構成され、
前記第1動作において、前記制御部は、前記第1導電部材に第1電圧を印加し、前記第2導電部材に前記第1電圧を印加せず、前記第1抵抗部材の第1電気抵抗と、前記第2抵抗部材の第2電気抵抗と、の第1差に対応する第1値を検出し、
前記第2動作において、前記制御部は、前記第1導電部材に第2電圧を印加し、前記第1電気抵抗と、前記第3抵抗部材の第3電気抵抗と、の第2差に対応する第2値を検出し、
前記第3動作において、前記制御部は、前記第2導電部材に第3電圧を印加し前記第2電気抵抗と前記第3電気抵抗との第3差に対応する第3値を検出する、センサ。
続きを表示(約 1,400 文字)
【請求項2】
前記制御部は、前記第1値、前記第2値及び前記第3値を用いた演算により得られる第4値を出力するように構成された、請求項1に記載のセンサ。
【請求項3】
前記第4値は、検出対象に含まれる複数の種類の検出対象物質のそれぞれの濃度に応じた値を含む、請求項2に記載のセンサ。
【請求項4】
前記演算は、検出対象の他による影響の補正を含む、請求項2に記載のセンサ。
【請求項5】
前記第1電圧は、前記第2電圧と異なる、請求項1に記載のセンサ。
【請求項6】
前記第2導電部材の電気抵抗は、前記第1導電部材の電気抵抗と異なる、請求項1に記載のセンサ。
【請求項7】
前記第1導電部材に第1電力が供給されたときの前記第1抵抗部材の第2温度は、第1温度よりも高く、
第2変化率差は、第1変化率差よりも小さく、
前記第1変化率差は、前記第1温度における前記第1電気抵抗の温度に対する第1変化率と、前記第1温度における前記第2電気抵抗の温度に対する第2変化率と、の差の絶対値であり、
前記第2変化率差は、前記第2温度における前記第1電気抵抗の温度に対する第2温度状態変化率と、前記第2変化率と、の差の絶対値である、請求項1~5のいずれか1つに記載のセンサ。
【請求項8】
前記第1導電部材に第2電力が供給されたときの前記第1抵抗部材の第3温度は、前記第1温度よりも高く、
第4変化率差は、第3変化率差よりも小さく、
前記第3変化率差は、前記第1変化率と、前記第1温度における前記第3電気抵抗の温度に対する第3変化率と、の差の絶対値であり、
前記第4変化率差は、前記第3温度における前記第1電気抵抗の温度に対する第3温度状態変化率と、前記第3変化率と、の差の絶対値である、請求項7に記載のセンサ。
【請求項9】
前記第1温度における前記第1抵抗部材の第1電気抵抗値は、前記第1温度における前記第2抵抗部材の第2電気抵抗値と異なり、
前記第1電気抵抗値は、前記第1温度における前記第3抵抗部材の第3電気抵抗値と異なり、
前記第2電気抵抗値は、前記第3電気抵抗値と異なる、請求項8に記載のセンサ。
【請求項10】
前記第1素子は、
第1基体領域と、
前記第1基体領域の一部に固定された第1固定部と、
前記第1固定部に支持され、前記第1検出部を支持する第1支持部と、
を含み、
前記第1基体領域の別の一部と前記第1検出部との間に第1間隙が設けられ、
前記第2素子は、
第2基体領域と、
前記第2基体領域の一部に固定された第2固定部と、
前記第2固定部に支持され、前記第2検出部を支持する第2支持部と、
を含み、
前記第2基体領域の別の一部と前記第2検出部との間に第2間隙が設けられ、
前記第3素子は、
第3基体領域と、
前記第3基体領域の一部に固定された第3固定部と、
前記第3固定部に支持され、前記第3検出部を支持する第3支持部と、
を含み、
前記第3基体領域の別の一部と前記第3検出部との間に第3間隙が設けられた、請求項1に記載のセンサ。
発明の詳細な説明
【技術分野】
【0001】
本発明の実施形態は、センサに関する。
続きを表示(約 1,500 文字)
【背景技術】
【0002】
例えば、MEMS(Micro Electro Mechanical Systems)素子などを用いたセンサがある。センサにおいて、特性の向上が望まれる。
【先行技術文献】
【特許文献】
【0003】
特開2008-107162号公報
【発明の概要】
【発明が解決しようとする課題】
【0004】
実施形態は、特性の向上が可能なセンサを提供する。
【課題を解決するための手段】
【0005】
実施形態によれば、センサは、素子部及び制御部を含む。前記素子部は、第1検出部を含む第1素子と、第2検出部を含む第2素子と、第3検出部を含む第3素子と、を含む。前記第1検出部は、第1抵抗部材及び第1導電部材を含む。前記第2検出部は、第2抵抗部材及び第2導電部材を含む。前記第3検出部は、第3抵抗部材を含む。前記制御部は、第1動作、第2動作、及び、第3動作を実施するように構成される。前記第1動作において、前記制御部は、前記第1導電部材に第1電圧を印加し、前記第2導電部材に前記第1電圧を印加せず、前記第1抵抗部材の第1電気抵抗と、前記第2抵抗部材の第2電気抵抗と、の第1差に対応する第1値を検出する。前記第2動作において、前記制御部は、前記第1導電部材に第2電圧を印加し、前記第1電気抵抗と、前記第3抵抗部材の第3電気抵抗と、の第2差に対応する第2値を検出する。前記第3動作において、前記制御部は、前記第2導電部材に第3電圧を印加し前記第2電気抵抗と前記第3電気抵抗との第3差に対応する第3値を検出する。
【図面の簡単な説明】
【0006】
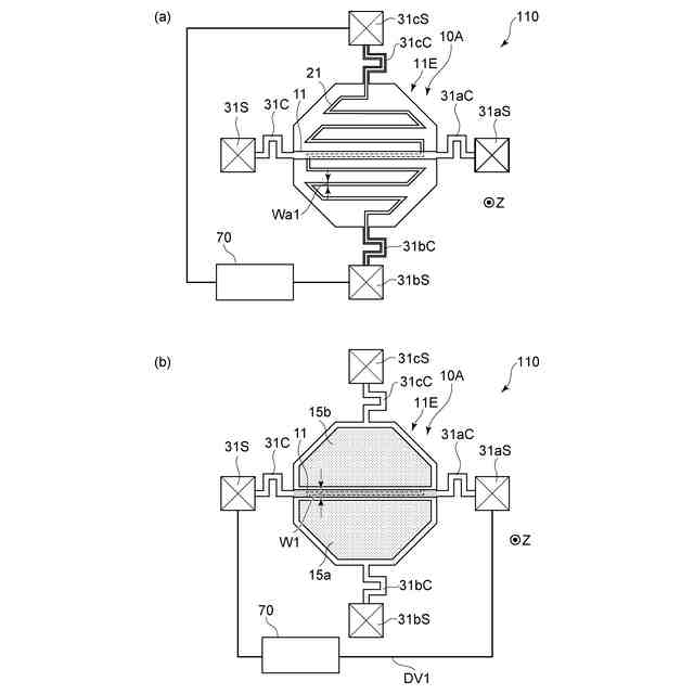
図1(a)~図1(c)は、第1実施形態に係るセンサを例示する模式図である。
図2は、第1実施形態に係るセンサを例示する模式的断面図である。
図3(a)及び図3(b)は、第1実施形態に係るセンサを例示する模式的平面図である。
図4(a)及び図4(b)は、第1実施形態に係るセンサを例示する模式的平面図である。
図5(a)及び図3(b)は、第1実施形態に係るセンサを例示する模式的平面図である。
【発明を実施するための形態】
【0007】
以下に、本発明の各実施の形態について図面を参照しつつ説明する。
図面は模式的または概念的なものであり、各部分の厚さと幅との関係、部分間の大きさの比率などは、必ずしも現実のものと同一とは限らない。同じ部分を表す場合であっても、図面により互いの寸法や比率が異なって表される場合もある。
本願明細書と各図において、既出の図に関して前述したものと同様の要素には同一の符号を付して詳細な説明は適宜省略する。
【0008】
(第1実施形態)
図1(a)~図1(c)は、第1実施形態に係るセンサを例示する模式図である。
図1(a)~図1(c)に示すように、実施形態に係るセンサ110は、素子部10E及び制御部70を含む。素子部10Eは、第1素子10A、第2素子10B及び第3素子10Cを含む。
【0009】
第1素子10Aは、第1検出部11Eを含む。第2素子10Bは、第2検出部12Eを含む。第3素子10Cは、第3検出部13Eを含む。
【0010】
第1検出部11Eは、第1抵抗部材11及び第1導電部材21を含む。第2検出部12Eは、第2抵抗部材12及び第2導電部材22を含む。第3検出部13Eは、第3抵抗部材13を含む。第3検出部13Eは、第3導電部材23を含んでも良い。
(【0011】以降は省略されています)
この特許をJ-PlatPat(特許庁公式サイト)で参照する
関連特許
株式会社東芝
センサ
2か月前
株式会社東芝
固定子
2か月前
株式会社東芝
端子台
18日前
株式会社東芝
センサ
1か月前
株式会社東芝
センサ
1か月前
株式会社東芝
モータ
1か月前
株式会社東芝
ドア構造
3か月前
株式会社東芝
電子回路
27日前
株式会社東芝
除去装置
11日前
株式会社東芝
電子装置
1か月前
株式会社東芝
金型構造
1か月前
株式会社東芝
吸音装置
1か月前
株式会社東芝
電子装置
1か月前
株式会社東芝
半導体装置
1か月前
株式会社東芝
半導体装置
1か月前
株式会社東芝
真空バルブ
1か月前
株式会社東芝
半導体装置
1か月前
株式会社東芝
半導体装置
1か月前
株式会社東芝
粒子加速器
1か月前
株式会社東芝
半導体装置
1か月前
株式会社東芝
真空バルブ
26日前
株式会社東芝
半導体装置
1か月前
株式会社東芝
半導体装置
27日前
株式会社東芝
半導体装置
27日前
株式会社東芝
半導体装置
1か月前
株式会社東芝
高周波回路
27日前
株式会社東芝
半導体装置
1か月前
株式会社東芝
半導体装置
1か月前
株式会社東芝
半導体装置
27日前
株式会社東芝
ラック装置
2か月前
株式会社東芝
半導体装置
27日前
株式会社東芝
半導体装置
27日前
株式会社東芝
半導体装置
1か月前
株式会社東芝
半導体装置
1か月前
株式会社東芝
電動送風機
2か月前
株式会社東芝
半導体装置
2か月前
続きを見る
他の特許を見る