TOP
|
特許
|
意匠
|
商標
特許ウォッチ
Twitter
他の特許を見る
10個以上の画像は省略されています。
公開番号
2025158610
公報種別
公開特許公報(A)
公開日
2025-10-17
出願番号
2024061319
出願日
2024-04-05
発明の名称
半導体装置
出願人
株式会社東芝
,
東芝デバイス&ストレージ株式会社
代理人
個人
,
個人
,
個人
主分類
H10D
30/66 20250101AFI20251009BHJP()
要約
【課題】、ゲート配線の電気抵抗を低減できる半導体装置を提供する。
【解決手段】実施形態の半導体装置は、第1の方向に延びた複数の第1のトレンチと複数の第2のトレンチと、を含む半導体層と、第1のトレンチの中の第1のゲート電極と、第2のトレンチの中の第2のゲート電極と、第1の上部金属層と第1の下部金属層とを含み第1のゲート電極に電気的に接続された第1のゲート配線と、第2の上部金属層と第2の下部金属層とを含み第2のゲート電極に電気的に接続された第2のゲート配線と、を備え、第1のゲート配線と第2のゲート配線が交差する第1の交差部において、第1の下部金属層及び第2の上部金属層が存在しない、又は、第1の上部金属層及び第2の下部金属層が存在しない。
【選択図】図1
特許請求の範囲
【請求項1】
第1の面と、前記第1の面と対向する第2の面を有し、前記第1の面の側に設けられ、前記第1の面に平行な第1の方向に延びた複数の第1のトレンチと、前記第1の面の側に設けられ、前記第1の方向に延びた複数の第2のトレンチと、を含む半導体層と、
前記半導体層の前記第1の面の側に設けられた第1の電極と、
前記半導体層の前記第2の面の側に設けられた第2の電極と、
前記第1のトレンチの中に設けられた第1のゲート電極と、
前記第2のトレンチの中に設けられた第2のゲート電極と、
前記半導体層の前記第1の面の側に設けられ、第1の上部金属層と前記第1の上部金属層と前記第1の面との間に設けられた第1の下部金属層とを含み、前記第1の面に平行で前記第1の方向に垂直な第2の方向に延びた第1の部分と前記第2の方向に延び前記第1の部分との間に前記第1の電極が設けられた第2の部分とを含み、前記第1のゲート電極に電気的に接続された第1のゲート配線と、
前記半導体層の前記第1の面の側に設けられ、第2の上部金属層と前記第2の上部金属層と前記第1の面との間に設けられた第2の下部金属層とを含み、前記第2の方向に延びた第3の部分と前記第2の方向に延び前記第3の部分との間に前記第1の電極が設けられた第4の部分とを含み、前記第2のゲート電極に電気的に接続された第2のゲート配線と、
前記半導体層の前記第1の面の側に設けられ、前記第1のゲート配線と電気的に接続された第1のゲート電極パッドと、
前記半導体層の前記第1の面の側に設けられ、前記第2のゲート配線と電気的に接続された第2のゲート電極パッドと、
を備え、
前記第3の部分と前記第1の電極との間に前記第1の部分が設けられ、
前記第4の部分と前記第1の電極との間に前記第2の部分が設けられ、
前記第1のゲート配線と前記第2のゲート配線は第1の交差部で交差し、前記第1の交差部において、
前記第1の下部金属層及び前記第2の上部金属層が存在しない、又は、
前記第1の上部金属層及び前記第2の下部金属層が存在しない、半導体装置。
続きを表示(約 1,500 文字)
【請求項2】
前記第1の部分と前記第1のトレンチが交差する部分において、前記第1の部分は前記第1のゲート電極に接続され、
前記第2の部分と前記第1のトレンチが交差する部分において、前記第2の部分は前記第1のゲート電極に接続され、
前記第3の部分と前記第2のトレンチが交差する部分において、前記第3の部分は前記第2のゲート電極に接続され、
前記第4の部分と前記第2のトレンチが交差する部分において、前記第4の部分は前記第2のゲート電極に接続される、請求項1記載の半導体装置。
【請求項3】
前記第1のゲート配線は前記第1の電極を囲み、
前記第2のゲート配線は前記第1の電極を囲む、請求項1記載の半導体装置。
【請求項4】
前記第1の下部金属層は前記第1の電極を囲み、
前記第2の下部金属層は前記第1の電極を囲む、請求項1記載の半導体装置。
【請求項5】
前記半導体層は、前記第1の面の側に設けられ、前記第1の方向に延びた複数の第3のトレンチを更に含み、
前記第3のトレンチの中に設けられた第3のゲート電極と、
前記半導体層の前記第1の面の側に設けられ、第3の上部金属層と前記第3の上部金属層と前記第1の面との間に設けられた第3の下部金属層とを含み、前記第2の方向に延びた第5の部分と前記第2の方向に延び前記第5の部分との間に前記第1の電極が設けられた第6の部分とを含み、前記第3のゲート電極に電気的に接続された第3のゲート配線と、
前記半導体層の前記第1の面の側に設けられ、前記第3のゲート配線と電気的に接続された第3のゲート電極パッドと、
を更に備え、
前記第1のゲート配線と前記第3のゲート配線は第2の交差部で交差し、前記第2の交差部において、
前記第1の下部金属層及び前記第3の上部金属層が存在しない、又は、
前記第1の上部金属層及び前記第3の下部金属層が存在しない、請求項1記載の半導体装置。
【請求項6】
前記第5の部分と前記第3のトレンチが交差する部分において、前記第5の部分は前記第3のゲート電極に接続され、
前記第6の部分と前記第3のトレンチが交差する部分において、前記第6の部分は前記第3のゲート電極に接続される、請求項5記載の半導体装置。
【請求項7】
前記第2のゲート配線と前記第3のゲート配線は第3の交差部で交差し、前記第3の交差部において、
前記第2の下部金属層及び前記第3の上部金属層が存在しない、又は、
前記第2の上部金属層及び前記第3の下部金属層が存在しない、請求項5記載の半導体装置。
【請求項8】
前記第1の下部金属層及び前記第2の下部金属層はタングステンを含み、
前記第1の上部金属層及び前記第2の上部金属層はアルミニウムを含む、請求項1記載の半導体装置。
【請求項9】
前記第1の交差部において、前記第1のゲート配線と前記第2のゲート配線との間に絶縁層が設けられる、請求項1記載の半導体装置。
【請求項10】
前記第1の電極は第4の上部金属層と、前記第4の上部金属層と前記第1の面との間に設けられた第4の下部金属層とを含み、
前記第4の下部金属層と、前記第1の下部金属層及び前記第2の下部金属層とは、同一の材料であり、
前記第4の上部金属層と、前記第1の上部金属層及び前記第2の上部金属層とは、同一の材料である、請求項1記載の半導体装置。
(【請求項11】以降は省略されています)
発明の詳細な説明
【技術分野】
【0001】
本発明の実施形態は、半導体装置に関する。
続きを表示(約 2,500 文字)
【背景技術】
【0002】
電力用の半導体装置の一例として、Insulated Gate Bipolar Transistor(IGBT)がある。IGBTは、例えば、コレクタ電極上に、p形のコレクタ領域、n形のドリフト領域、p形のベース領域が設けられる。そして、p形のベース領域を貫通し、n形のドリフト領域に達するトレンチ内に、ゲート絶縁膜を間に挟んでゲート電極が設けられる。さらに、p形のベース領域表面のトレンチに隣接する領域に、エミッタ電極に接続されるn形のエミッタ領域が設けられる。
【0003】
IGBTでは、ゲート電極に閾値電圧以上の正電圧が印加されることにより、p形のベース領域にチャネルが形成される。そして、n形のエミッタ領域からn形のドリフト領域に電子が注入されると同時に、コレクタ領域からn形のドリフト領域にホールが注入される。これにより、コレクタ電極とエミッタ電極間に電子とホールをキャリアとする電流が流れる。
【0004】
IGBTでは、オン抵抗の低減とスイッチング損失の低減を両立することが望まれる。オン抵抗の低減とスイッチング損失の低減を両立するために、複数のゲートを互いに独立に駆動するIGBTが提案されている。複数のゲートの駆動タイミングを変えることで、IGBTのスイッチング時間を短縮し、IGBTのスイッチング損失を低減させることができる。
【0005】
複数のゲートを互いに独立に駆動するIGBTでは、複数のゲート電極パッドに接続される複数のゲート配線が設けられる。複数のゲート配線が、それぞれ、異なるゲートのゲート電極に接続される。ゲート配線の電気抵抗が高くなると、信号の配線遅延が生じ、例えば、IGBT動作の高速化が困難となる。したがって、ゲート配線の電気抵抗を低減することが望まれる。
【先行技術文献】
【特許文献】
【0006】
特開2022-146579号公報
【発明の概要】
【発明が解決しようとする課題】
【0007】
本発明が解決しようとする課題は、ゲート配線の電気抵抗を低減できる半導体装置を提供することにある。
【課題を解決するための手段】
【0008】
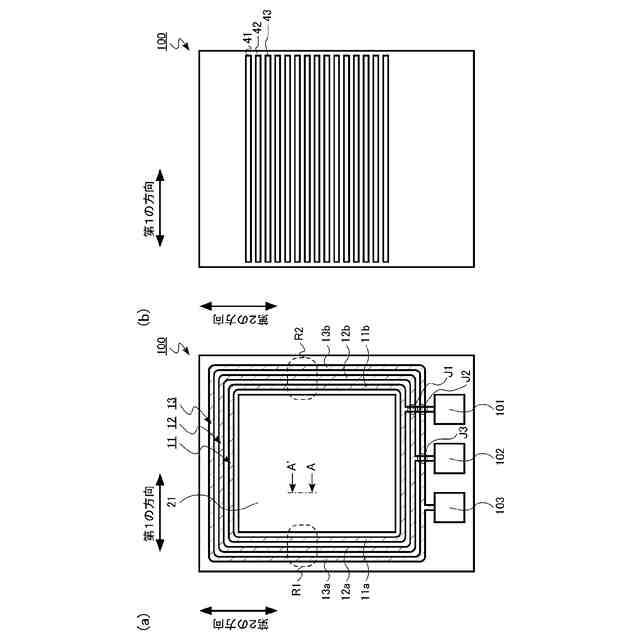
実施形態の半導体装置は、第1の面と、前記第1の面と対向する第2の面を有し、前記第1の面の側に設けられ、前記第1の面に平行な第1の方向に延びた複数の第1のトレンチと、前記第1の面の側に設けられ、前記第1の方向に延びた複数の第2のトレンチと、を含む半導体層と、前記半導体層の前記第1の面の側に設けられた第1の電極と、前記半導体層の前記第2の面の側に設けられた第2の電極と、前記第1のトレンチの中に設けられた第1のゲート電極と、前記第2のトレンチの中に設けられた第2のゲート電極と、前記半導体層の前記第1の面の側に設けられ、第1の上部金属層と前記第1の上部金属層と前記第1の面との間に設けられた第1の下部金属層とを含み、前記第1の面に平行で前記第1の方向に垂直な第2の方向に延びた第1の部分と前記第2の方向に延び前記第1の部分との間に前記第1の電極が設けられた第2の部分とを含み、前記第1のゲート電極に電気的に接続された第1のゲート配線と、前記半導体層の前記第1の面の側に設けられ、第2の上部金属層と前記第2の上部金属層と前記第1の面との間に設けられた第2の下部金属層とを含み、前記第2の方向に延びた第3の部分と前記第2の方向に延び前記第3の部分との間に前記第1の電極が設けられた第4の部分とを含み、前記第2のゲート電極に電気的に接続された第2のゲート配線と、前記半導体層の前記第1の面の側に設けられ、前記第1のゲート配線と電気的に接続された第1のゲート電極パッドと、前記半導体層の前記第1の面の側に設けられ、前記第2のゲート配線と電気的に接続された第2のゲート電極パッドと、を備え、前記第3の部分と前記第1の電極との間に前記第1の部分が設けられ、前記第4の部分と前記第1の電極との間に前記第2の部分が設けられ、前記第1のゲート配線と前記第2のゲート配線は第1の交差部で交差し、前記第1の交差部において、前記第1の下部金属層及び前記第2の上部金属層が存在しない、又は、前記第1の上部金属層及び前記第2の下部金属層が存在しない。
【図面の簡単な説明】
【0009】
第1の実施形態の半導体装置の模式図。
第1の実施形態の半導体装置の模式断面図。
第1の実施形態の半導体装置の模式上面図。
第1の実施形態の半導体装置の一部の模式図。
第1の実施形態の半導体装置の一部の模式断面図。
第1の実施形態の半導体装置の模式図。
第1の実施形態の半導体装置の一部の模式断面図。
比較形態の半導体装置の模式図。
第1の実施形態の第1の変形例の半導体装置の模式図。
第1の実施形態の第1の変形例の半導体装置の一部の模式断面図。
第1の実施形態の第2の変形例の半導体装置の模式図。
第1の実施形態の第2の変形例の半導体装置の模式図。
第1の実施形態の第3の変形例の半導体装置の模式図。
第1の実施形態の第3の変形例の半導体装置の模式図。
第2の実施形態の半導体装置の模式図。
第2の実施形態の半導体装置の一部の模式図。
第2の実施形態の半導体装置の一部の模式断面図。
第2の実施形態の半導体装置の模式図。
第2の実施形態の第1の変形例の半導体装置の一部の模式断面図。
【発明を実施するための形態】
【0010】
以下、図面を参照しつつ本発明の実施形態を説明する。なお、以下の説明では、同一又は類似の部材などには同一の符号を付し、一度説明した部材などについては適宜その説明を省略する場合がある。
(【0011】以降は省略されています)
この特許をJ-PlatPat(特許庁公式サイト)で参照する
関連特許
個人
積和演算用集積回路
1か月前
サンケン電気株式会社
半導体装置
1か月前
日機装株式会社
半導体発光装置
26日前
旭化成株式会社
発光素子
1か月前
ローム株式会社
抵抗チップ
1か月前
ローム株式会社
半導体装置
10日前
株式会社半導体エネルギー研究所
表示装置
10日前
三菱電機株式会社
半導体装置
18日前
富士電機株式会社
半導体装置
1か月前
株式会社東芝
半導体装置
18日前
三菱電機株式会社
半導体装置
5日前
三菱電機株式会社
半導体装置
1か月前
ローム株式会社
半導体集積回路
1か月前
日亜化学工業株式会社
発光装置
1か月前
ローム株式会社
窒化物半導体装置
1か月前
ローム株式会社
半導体装置
1か月前
株式会社半導体エネルギー研究所
発光デバイス
1か月前
サンケン電気株式会社
半導体装置
18日前
ローム株式会社
半導体装置
1か月前
ローム株式会社
半導体装置
1か月前
株式会社半導体エネルギー研究所
発光デバイス
26日前
ローム株式会社
半導体装置
3日前
日亜化学工業株式会社
発光素子
1か月前
大日本印刷株式会社
太陽電池
1か月前
新電元工業株式会社
半導体素子
3日前
新電元工業株式会社
半導体素子
3日前
新電元工業株式会社
半導体素子
3日前
日亜化学工業株式会社
発光素子
1か月前
日亜化学工業株式会社
発光装置
3日前
ローム株式会社
半導体装置
18日前
日本ゼオン株式会社
構造体
1か月前
今泉工業株式会社
光発電装置及びその製造方法
1か月前
日亜化学工業株式会社
発光装置
1か月前
日亜化学工業株式会社
発光装置
1か月前
ローム株式会社
光センサ
1か月前
住友電気工業株式会社
炭化珪素半導体装置
1か月前
続きを見る
他の特許を見る