TOP
|
特許
|
意匠
|
商標
特許ウォッチ
Twitter
他の特許を見る
10個以上の画像は省略されています。
公開番号
2025165855
公報種別
公開特許公報(A)
公開日
2025-11-05
出願番号
2024190784
出願日
2024-10-30
発明の名称
発光装置
出願人
日亜化学工業株式会社
代理人
弁理士法人ITOH
主分類
H10H
20/855 20250101AFI20251028BHJP()
要約
【課題】光学部材を接着する接着部材の劣化を低減する。
【解決手段】発光装置は、上面と前記上面側に設けられた凹部とを含む基体と、前記凹部に配置され、紫外光を出射する発光素子と、前記基体の前記上面に、樹脂を含まない第1接着部材を介して配置される透光性部材と、前記基体の前記上面における前記透光性部材が配置されていない領域、又は前記透光性部材の上面のどちらか一方に樹脂を含む第2接着部材を介して配置され、レンズ部と鍔部とを含む光学部材と、を有し、前記第2接着部材は、上面視において、前記レンズ部よりも外側に配置される。
【選択図】図2
特許請求の範囲
【請求項1】
上面と前記上面側に設けられた凹部とを含む基体と、
前記凹部に配置され、紫外光を出射する発光素子と、
前記基体の前記上面に、樹脂を含まない第1接着部材を介して配置される透光性部材と、
前記基体の前記上面における前記透光性部材が配置されていない領域、又は前記透光性部材の上面のどちらか一方に樹脂を含む第2接着部材を介して配置され、レンズ部と鍔部とを含む光学部材と、を有し、
前記第2接着部材は、上面視において、前記レンズ部よりも外側に配置される、発光装置。
続きを表示(約 970 文字)
【請求項2】
断面視において、前記透光性部材の幅及び前記光学部材の幅は、それぞれ前記基体の幅よりも広い、請求項1に記載の発光装置。
【請求項3】
断面視において、前記透光性部材の幅は、前記光学部材の幅よりも狭い、請求項1に記載の発光装置。
【請求項4】
前記基体の前記上面は、上面視において、外側上面と、前記外側上面よりも内側に位置する内側上面と、を有し、
前記内側上面は、前記外側上面よりも下方に位置し、
前記透光性部材は、前記第1接着部材を介して前記内側上面に配置され、
前記光学部材は、前記第2接着部材を介して前記外側上面に配置される、請求項1に記載の発光装置。
【請求項5】
前記基体の前記上面は、上面視において、外側上面と、前記外側上面よりも内側に位置する内側上面と、を有し、
前記内側上面は、前記外側上面よりも上方に位置し、
前記透光性部材は、前記第1接着部材を介して前記内側上面に配置され、
前記光学部材は、前記第2接着部材を介して前記外側上面に配置される、請求項1に記載の発光装置。
【請求項6】
前記基体の前記上面は、上面視において、外側上面と、前記外側上面よりも内側に位置する内側上面と、を有し、
前記内側上面は、前記外側上面と高さが揃っており、
前記透光性部材は、前記第1接着部材を介して前記内側上面に配置され、
前記光学部材は、前記第2接着部材を介して前記外側上面に配置される、請求項1に記載の発光装置。
【請求項7】
前記透光性部材と前記光学部材とが接する、請求項4又は請求項5に記載の発光装置。
【請求項8】
前記透光性部材と前記光学部材とが離隔する、請求項4又は請求項5に記載の発光装置。
【請求項9】
前記透光性部材の側面は、前記基体における前記外側上面と前記内側上面とを繋ぐ側面に対して離隔している、請求項4に記載の発光装置。
【請求項10】
前記レンズ部は、上面視において、前記外側上面よりも内側に配置される、請求項4又は請求項5に記載の発光装置。
(【請求項11】以降は省略されています)
発明の詳細な説明
【技術分野】
【0001】
本開示は、発光装置に関する。
続きを表示(約 2,100 文字)
【背景技術】
【0002】
例えば、特許文献1には、基体と、基体上に配置されるUVCチップと、無機接着剤を介して基体に配置される無機レンズと、無機レンズ上に配置される調光レンズ(光学部材)と、を備えるUVC-LED(Light Emitting Diode)半無機パッケージ構造が開示されている(例えば、特許文献1参照)。
【先行技術文献】
【特許文献】
【0003】
中国実用新案第218849521号明細書
【発明の概要】
【発明が解決しようとする課題】
【0004】
本開示に係る実施形態は、光学部材を接着する接着部材の劣化を低減することを目的とする。
【課題を解決するための手段】
【0005】
本開示の実施形態に係る発光装置は、上面と前記上面側に設けられた凹部とを含む基体と、前記凹部に配置され、紫外光を出射する発光素子と、前記基体の前記上面に、樹脂を含まない第1接着部材を介して配置される透光性部材と、前記基体の前記上面における前記透光性部材が配置されていない領域、又は前記透光性部材の上面のどちらか一方に樹脂を含む第2接着部材を介して配置され、レンズ部と鍔部とを含む光学部材と、を有し、前記第2接着部材は、上面視において、前記レンズ部よりも外側に配置される。
【0006】
本開示の実施形態に係る発光装置は、上面と前記上面側に設けられた凹部とを含む基体と、前記凹部に配置され、紫外光を出射する発光素子と、前記基体の前記上面に、樹脂を含まない第1接着部材を介して配置される透光性部材と、金属の焼結体を含む金属接着部材を介して前記透光性部材の上面に配置され、レンズ部と鍔部とを含む光学部材と、を有し、前記金属接着部材の少なくとも一部は、上面視において、前記レンズ部よりも外側に配置される。
【発明の効果】
【0007】
本開示の実施形態によれば、光学部材を接着する接着部材の劣化を低減することができる。
【図面の簡単な説明】
【0008】
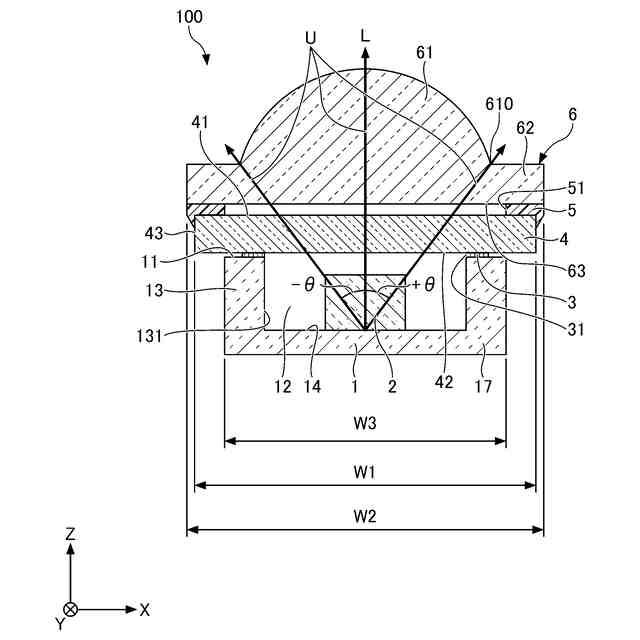
第1実施形態に係る発光装置を示す模式的上面図である。
図1におけるII-II線の模式的断面図である。
第1実施形態に係る発光素子から出射される紫外光の指向角と相対放射強度との関係を示す図である。
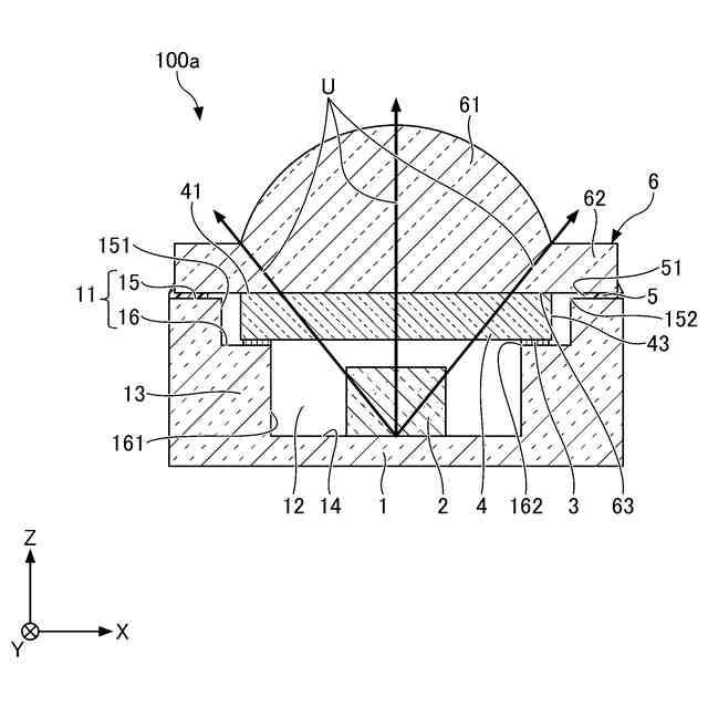
第2実施形態に係る発光装置を示す模式的上面図である。
図4におけるV-V線の模式的断面図である。
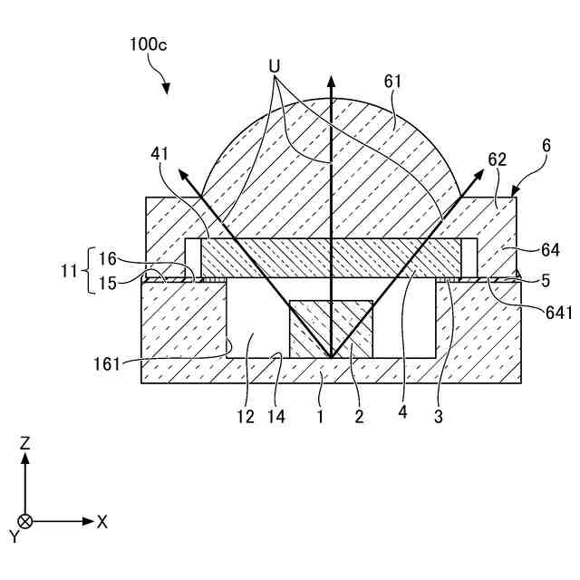
第3実施形態に係る発光装置を示す模式的上面図である。
図6におけるVII-VII線の模式的断面図である。
第4実施形態に係る発光装置を示す模式的上面図である。
図8におけるIX-IX線の模式的断面図である。
第1変形例に係る発光装置を示す模式的断面図である。
第2変形例に係る発光装置を示す模式的断面図である。
第3変形例に係る発光装置を示す模式的上面図である。
第4変形例に係る発光装置を示す模式的断面図である。
第5実施形態に係る発光装置の全体構成を示す模式的上面図である。
図14におけるXV-XV線の模式的断面図である。
第5実施形態に係る発光装置における透光性部材の模式的上面図である。
第5実施形態に係る発光装置における透光性部材の模式的下面図である。
第5実施形態に係る発光装置における光学部材の模式的上面図である。
第5実施形態に係る発光装置における光学部材の模式的下面図である。
【発明を実施するための形態】
【0009】
本開示の実施形態に係る発光装置について図面を参照しながら詳細に説明する。但し、以下に示す形態は、本実施形態の技術思想を具現化するための発光装置を例示するものであって、以下に限定するものではない。また、実施形態に記載されている構成部の寸法、材質、形状、その相対的配置等は、特定の形態のみに限定する旨の記載がない限り、本開示の範囲をそれのみに限定する趣旨ではなく、単なる説明例にすぎない。なお、各図面が示す部材の大きさ、位置関係等は、説明を明確にするため誇張していることがある。また、以下の説明において、同一の名称、符号については同一もしくは同質の部材を示しており詳細説明を適宜省略する。
【0010】
以下に示す図においてX軸、Y軸及びZ軸により方向を示す場合がある。X軸、Y軸及びZ軸は相互に直交する方向である。X方向で矢印が向いている方向を+X方向又は+X側、+X方向の反対方向を-X方向又は-X側と表記する。Y方向で矢印が向いている方向を+Y方向又は+Y側、+Y方向の反対方向を-Y方向又は-Y側と表記する。Z方向で矢印が向いている方向を+Z方向又は+Z側、+Z方向の反対方向を-Z方向又は-Z側と表記する。
(【0011】以降は省略されています)
この特許をJ-PlatPat(特許庁公式サイト)で参照する
関連特許
日亜化学工業株式会社
発光装置
28日前
日亜化学工業株式会社
発光素子
29日前
日亜化学工業株式会社
発光素子
1か月前
日亜化学工業株式会社
発光装置
3日前
日亜化学工業株式会社
発光装置
9日前
日亜化学工業株式会社
発光装置
2日前
日亜化学工業株式会社
発光装置
10日前
日亜化学工業株式会社
光源及び基板
1か月前
日亜化学工業株式会社
半導体レーザ素子
11日前
日亜化学工業株式会社
窒化物半導体発光素子
1か月前
日亜化学工業株式会社
発光装置、および面状光源
29日前
日亜化学工業株式会社
配置部材、及び、発光装置
28日前
日亜化学工業株式会社
半導体素子およびその製造方法
29日前
日亜化学工業株式会社
軟磁性材料およびその製造方法
3日前
日亜化学工業株式会社
発光装置の製造方法及び発光装置
9日前
日亜化学工業株式会社
発光装置の製造方法及び発光装置
29日前
日亜化学工業株式会社
発光装置、および発光装置の製造方法
1か月前
日亜化学工業株式会社
光源、発光モジュール、及び携帯端末
24日前
日亜化学工業株式会社
光源装置およびそれらを有する加熱システム
1か月前
日亜化学工業株式会社
透光性部材の製造方法及び発光装置の製造方法
22日前
日亜化学工業株式会社
発光装置、発光モジュール、発光装置の製造方法
1か月前
日亜化学工業株式会社
セラミックス基板の製造方法及び発光装置の製造方法
28日前
日亜化学工業株式会社
発光装置
21日前
日亜化学工業株式会社
面状光源
21日前
日亜化学工業株式会社
ケイ酸塩蛍光体、発光装置及びケイ酸塩蛍光体の製造方法
1か月前
日亜化学工業株式会社
発光装置
10日前
日亜化学工業株式会社
発光装置
1か月前
日亜化学工業株式会社
光源装置
1か月前
日亜化学工業株式会社
基体部材および発光装置
1か月前
日亜化学工業株式会社
光源装置およびレンズ構造体
1か月前
日亜化学工業株式会社
発光装置、およびディスプレイ
1か月前
日亜化学工業株式会社
発光装置および発光装置の製造方法
10日前
日亜化学工業株式会社
正極活物質及び非水電解質二次電池用正極
2日前
日亜化学工業株式会社
面発光装置、レンズ積層体及びその製造方法、面発光装置の製造方法、レンズ集合体の製造方法
2日前
日亜化学工業株式会社
非水電解質二次電池用正極活物質及びその製造方法
1か月前
個人
半導体装置
1か月前
続きを見る
他の特許を見る