TOP
|
特許
|
意匠
|
商標
特許ウォッチ
Twitter
他の特許を見る
10個以上の画像は省略されています。
公開番号
2025159501
公報種別
公開特許公報(A)
公開日
2025-10-21
出願番号
2024062103
出願日
2024-04-08
発明の名称
太陽電池
出願人
大日本印刷株式会社
代理人
個人
,
個人
,
個人
主分類
H10K
30/50 20230101AFI20251014BHJP()
要約
【課題】光電変換効率の低下を抑制しつつ、太陽電池の厚みを薄くすることが可能な、太陽電池を提供する。
【解決手段】太陽電池10は、第1面31と、第1面31の反対側に位置する第2面32とを有する光学部材30と、光学部材30の第2面32側に設けられたセル構成部20とを備えている。光学部材30の第2面32に、複数の凸部37が形成されている。各々の凸部37は、第1方向d1に沿って延びるとともに、第1方向d1に直交する第2方向d2に沿って配列されている。セル構成部20の厚みTは、凸部37の高さHよりも薄い。セル構成部20は、凸部37間に入り込んでいる。
【選択図】図5
特許請求の範囲
【請求項1】
第1面と、前記第1面の反対側に位置する第2面とを有する光学部材と、
前記光学部材の前記第2面側に設けられたセル構成部とを備え、
前記光学部材の前記第2面に、複数の凸部が形成され、
各々の前記凸部は、第1方向に沿って延びるとともに、前記第1方向に直交する第2方向に沿って配列されており、
前記セル構成部の厚みは、前記凸部の高さよりも薄く、
前記セル構成部は、前記凸部間に入り込んでいる、太陽電池。
続きを表示(約 370 文字)
【請求項2】
前記凸部は、レンチキュラーレンズを構成する、請求項1に記載の太陽電池。
【請求項3】
前記第1面に、複数のプリズム部が形成されている、請求項1に記載の太陽電池。
【請求項4】
各々の前記プリズム部は、前記第2方向に直交する断面において、前記第1方向の一方を向く第1傾斜面と、前記第2方向に直交する断面において、前記第1方向の他方を向く第2傾斜面とを含み、
前記第1傾斜面は、前記第2傾斜面よりも大きい、請求項3に記載の太陽電池。
【請求項5】
前記セル構成部は、ペロブスカイト型化合物を含む、請求項1に記載の太陽電池。
【請求項6】
前記セル構成部の前記光学部材側とは反対側に設けられた拡散反射シートを更に備える、請求項1に記載の太陽電池。
発明の詳細な説明
【技術分野】
【0001】
本開示は、太陽電池に関する。
続きを表示(約 1,500 文字)
【背景技術】
【0002】
環境への負荷が少ない発電方式として、太陽光発電が知られている。この太陽光発電には、太陽電池が用いられる。太陽電池は、光を電気に変換する電池である。太陽電池には、無機太陽電池と有機太陽電池とが知られている。このうち有機太陽電池には、製造コストが低いこと等の利点がある。
【先行技術文献】
【特許文献】
【0003】
特開2014-192265号公報
【発明の概要】
【発明が解決しようとする課題】
【0004】
従来の太陽電池は、十分に薄いとはいえない。また、従来の太陽電池を薄くすると、光を電気に変換する部材が薄くなる。光を電気に変換する部材を薄くした場合、当該部材が光を十分に吸収しない場合がある。この場合、太陽電池の光電変換効率が低下する。
【0005】
本開示は、以上の点を考慮してなされたものであって、光電変換効率の低下を抑制しつつ、太陽電池の厚みを薄くすることが可能な、太陽電池を提供することを目的とする。
【課題を解決するための手段】
【0006】
本開示の太陽電池は、
第1面と、前記第1面の反対側に位置する第2面とを有する光学部材と、
前記光学部材の前記第2面側に設けられたセル構成部とを備え、
前記光学部材の前記第2面に、複数の凸部が形成され、
各々の前記凸部は、第1方向に沿って延びるとともに、前記第1方向に直交する第2方向に沿って配列されており、
前記セル構成部の厚みは、前記凸部の高さよりも薄く、
前記セル構成部は、前記凸部間に入り込んでいる。
【発明の効果】
【0007】
本開示によれば、光電変換効率の低下を抑制しつつ、太陽電池の厚みを薄くできる。
【図面の簡単な説明】
【0008】
図1は、一実施の形態による太陽光発電システムを示す平面図である。
図2は、一実施の形態による太陽光発電システムを示す断面図(図1のII-II線断面図)である。
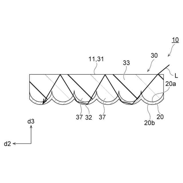
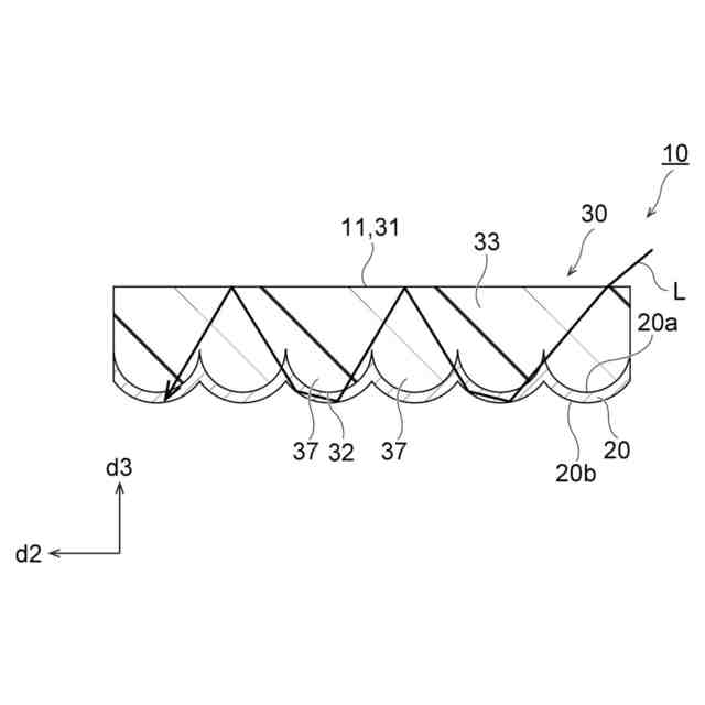
図3は、一実施の形態による光学部材を示す斜視図である。
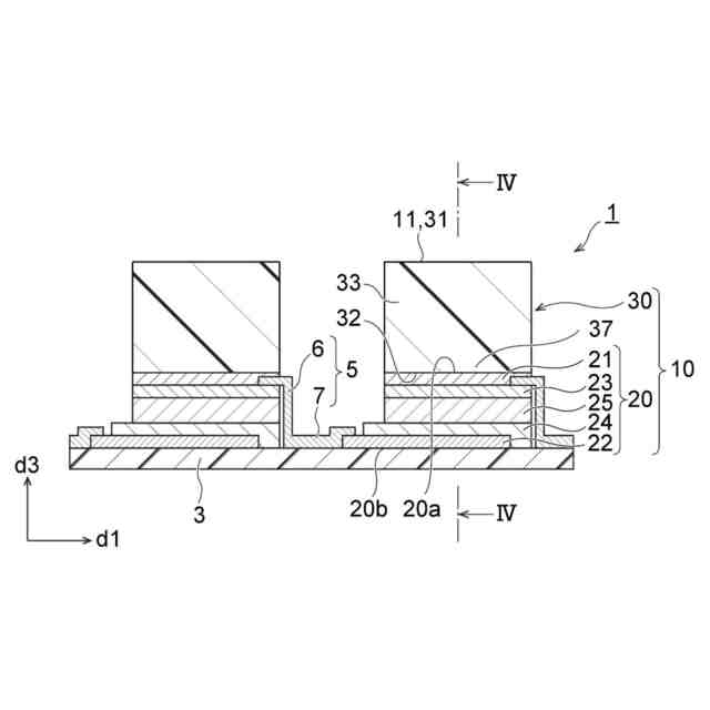
図4は、一実施の形態による太陽電池を示す断面図(図2のIV-IV線断面図)である。
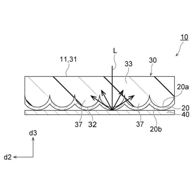
図5は、太陽電池に入射した光の光路を示す断面図である。
図6は、一実施の形態による太陽電池の変形例を示す断面図である。
図7は、一実施の形態による太陽光発電システムの変形例を示す断面図である。
図8は、一実施の形態による光学部材を示す斜視図である。
図9は、一実施の形態による光学部材を示す断面図(図8のIX-IX線断面図)である。
【発明を実施するための形態】
【0009】
以下、図面を参照して本開示の一実施の形態について説明する。本件明細書に添付する図面においては、図示と理解のしやすさの便宜上、適宜縮尺及び縦横の寸法比等を、実物のそれらから変更し誇張してある。一部の図において示された構成等が、他の図において省略されていることもある。
【0010】
本明細書において、形状又は幾何学的条件、及び、形状等の程度を特定する、例えば、「平行」、「直交」、「同一」等の用語、又は、長さ若しくは角度の値等は、厳密な意味に限定されることなく、同様の機能を期待し得る程度の範囲を含めて解釈される。
(【0011】以降は省略されています)
この特許をJ-PlatPat(特許庁公式サイト)で参照する
関連特許
大日本印刷株式会社
装飾パネル
22日前
大日本印刷株式会社
プリフォーム
29日前
大日本印刷株式会社
インテリア用品
1か月前
大日本印刷株式会社
審査作業システム
今日
大日本印刷株式会社
位置決め搬送装置
14日前
大日本印刷株式会社
プラスチックボトル
29日前
大日本印刷株式会社
広告ボード体および脚体
13日前
大日本印刷株式会社
加飾シート及び樹脂成形品
21日前
大日本印刷株式会社
拡散部材およびクリーンブース
今日
大日本印刷株式会社
マスク及び有機デバイスの製造方法
6日前
大日本印刷株式会社
マスク及び有機デバイスの製造方法
6日前
大日本印刷株式会社
カードおよびカードの真偽判定方法
2日前
大日本印刷株式会社
光学素子及び前記光学素子を含む装置
7日前
大日本印刷株式会社
音響機能付き低反射透明フィルム装置
15日前
大日本印刷株式会社
内容物充填システムおよび内容物充填方法
7日前
大日本印刷株式会社
有機デバイス及び有機デバイスの製造方法
14日前
大日本印刷株式会社
配線基板及びヘッドマウントディスプレイ
今日
大日本印刷株式会社
マスク、蒸着方法及びデバイスの製造方法
6日前
大日本印刷株式会社
加飾部材の補修方法、加飾シート及び加飾部材
8日前
大日本印刷株式会社
情報処理装置、情報処理方法、及びプログラム
1か月前
大日本印刷株式会社
マスク、マスク装置及びマスク装置の製造方法
6日前
大日本印刷株式会社
情報処理方法、プログラム、及び情報処理装置
1日前
大日本印刷株式会社
光学シート、液晶表示装置及び有機EL表示装置
1か月前
大日本印刷株式会社
化粧シート、化粧シートの製造方法および化粧材
29日前
大日本印刷株式会社
化粧シート、化粧シートの製造方法および化粧材
29日前
大日本印刷株式会社
積層体、チューブ容器及びキャップ付きチューブ容器
13日前
大日本印刷株式会社
積層体、チューブ容器及びキャップ付きチューブ容器
13日前
大日本印刷株式会社
転写シート、転写用基材付き樹脂成形品、及び樹脂成形品
21日前
大日本印刷株式会社
推定結果出力装置、プログラム及び推定結果出力システム
今日
大日本印刷株式会社
マスク装置
6日前
大日本印刷株式会社
加飾シート
27日前
大日本印刷株式会社
物品の製造方法および、発泡性接着シートおよび接着剤組成物
21日前
大日本印刷株式会社
貫通電極基板
今日
大日本印刷株式会社
注出口付きパウチ
22日前
大日本印刷株式会社
注出口付きパウチ
22日前
大日本印刷株式会社
半導体パッケージ
15日前
続きを見る
他の特許を見る