TOP
|
特許
|
意匠
|
商標
特許ウォッチ
Twitter
他の特許を見る
公開番号
2025142649
公報種別
公開特許公報(A)
公開日
2025-10-01
出願番号
2024042123
出願日
2024-03-18
発明の名称
モータ
出願人
株式会社東芝
代理人
弁理士法人酒井国際特許事務所
主分類
H02K
5/08 20060101AFI20250924BHJP(電力の発電,変換,配電)
要約
【課題】コモンモードのノイズ電流を低減することができるモータを提供することである。
【解決手段】実施形態のモータは、インバータによって駆動されるモータにおいて、固定子と、固定子を覆うフレームと、フレームをアースに接地させる経路と、フレームと固定子との間に介在される絶縁性材料と、を備える。
【選択図】図2
特許請求の範囲
【請求項1】
インバータによって駆動されるモータにおいて、
固定子と、前記固定子を覆うフレームと、
前記フレームをアースに接地させる経路と、
前記フレームと前記固定子との間に介在される絶縁性材料と、
を備えるモータ。
続きを表示(約 470 文字)
【請求項2】
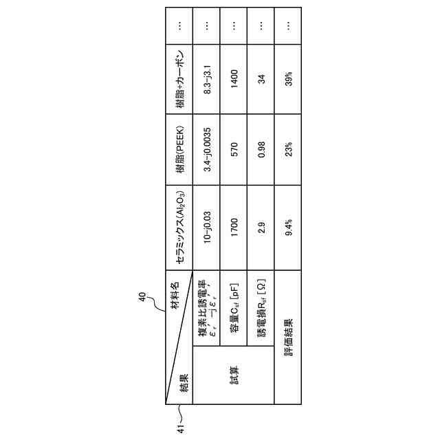
前記絶縁性材料は、誘電損失が異なる少なくとも2種類の材料を用いて構成される、
請求項1に記載のモータ。
【請求項3】
前記絶縁性材料は、セラミックス、樹脂またはカーボンの少なくとも1つを含む、
請求項1に記載のモータ。
【請求項4】
前記フレームと前記アースとの経路に、さらに前記絶縁性材料を設ける、
請求項1に記載のモータ。
【請求項5】
前記絶縁性材料は、誘導損失が異なる少なくとも2種類の材料を用いて構成される、
請求項1に記載のモータ。
【請求項6】
前記固定子は、前記絶縁性材料によって被膜される巻線をさらに有する、
請求項1に記載のモータ。
【請求項7】
前記絶縁性材料は、樹脂接着剤によって前記固定子に接着される、
請求項1に記載のモータ。
【請求項8】
前記絶縁性材料は、前記フレームの焼き嵌めにより圧入することで固定される、
請求項1に記載のモータ。
発明の詳細な説明
【技術分野】
【0001】
本発明の実施形態は、モータに関する。
続きを表示(約 1,200 文字)
【背景技術】
【0002】
従来、回路内に発生するコモンモードノイズを低減するため、モータとアースとの間にダンピングインピーダンスを挿入することが開示されている。しかし、近年モータの高効率駆動のために、パワー半導体のスイッチングが高速化されている。それに伴い、サージ電圧によってモータに流れるコモンモードのノイズ電流が発生している。
【先行技術文献】
【特許文献】
【0003】
特開2006-025467号公報
【発明の概要】
【発明が解決しようとする課題】
【0004】
本発明が解決しようとする課題は、コモンモードのノイズ電流を低減することができるモータを提供することである。
【課題を解決するための手段】
【0005】
実施形態のモータは、インバータによって駆動されるモータにおいて、固定子と、固定子を覆うフレームと、フレームをアースに接地させる経路と、フレームと固定子との間に介在される絶縁性材料と、を備える。
【図面の簡単な説明】
【0006】
図1は、実施形態に係るモータ駆動システムを示すシステム図である。
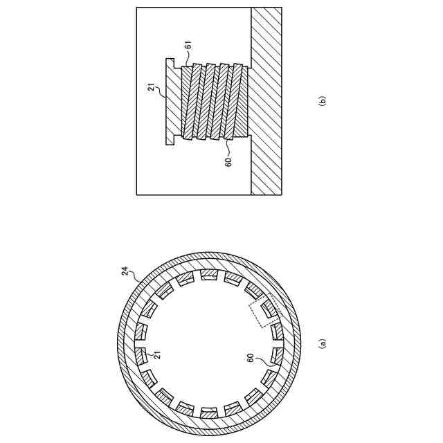
図2は、実施形態に係るモータの構成を示す断面図である。
図3は、実施形態に係るモータの構成を軸方向で示す断面図である。
図4は、実施形態に係る絶縁性材料ごとの結果を示す図である。
図5は、第2実施形態に係るモータの構成を軸方向で示す断面図である。
図6は、第3実施形態に係るモータの構成を軸方向で示す断面図である。
【発明を実施するための形態】
【0007】
以下、実施形態のモータ1およびモータ駆動システム10について図面を参照して説明する。
【0008】
図1は、実施形態に係るモータ駆動システム10を示すシステム図である。図1に示した様に、モータ駆動システム10は、モータ1と、電源2と、インバータ3と、ケーブル4と、を備える。モータ駆動システム10には、サージ電圧が発生することでコモンモード電流6が流れる。モータ1及び、電源2は、電線の経路を介してアース5に接地または接続されている。
【0009】
モータ駆動システム10は、電源2とインバータ3とが接続され、インバータ3からケーブル4を経由してモータ1に交流電流が供給される。これによりモータ1が駆動される。
【0010】
モータ1は、インバータ3から流れる交流電流によって駆動される。モータ1は、モータのフレームから直接アース5に接地される。または、フレームが台座等に固定され台座等からアース5に接続される経路を介して接地されても良い。モータ1は、フレームから経路を介して直接アース5に接地されても良い。
(【0011】以降は省略されています)
この特許をJ-PlatPat(特許庁公式サイト)で参照する
関連特許
株式会社東芝
端子台
10日前
株式会社東芝
電子装置
23日前
株式会社東芝
電子回路
19日前
株式会社東芝
除去装置
3日前
株式会社東芝
電子装置
1か月前
株式会社東芝
半導体装置
25日前
株式会社東芝
半導体装置
25日前
株式会社東芝
真空バルブ
18日前
株式会社東芝
半導体装置
19日前
株式会社東芝
半導体装置
19日前
株式会社東芝
高周波回路
19日前
株式会社東芝
半導体装置
19日前
株式会社東芝
半導体装置
19日前
株式会社東芝
半導体装置
19日前
株式会社東芝
半導体装置
26日前
株式会社東芝
半導体装置
23日前
株式会社東芝
真空バルブ
24日前
株式会社東芝
半導体装置
24日前
株式会社東芝
半導体装置
25日前
株式会社東芝
半導体装置
23日前
株式会社東芝
半導体装置
25日前
株式会社東芝
半導体装置
23日前
株式会社東芝
半導体装置
25日前
株式会社東芝
台車搬送装置
1か月前
株式会社東芝
コントローラ
19日前
株式会社東芝
超電導コイル
26日前
株式会社東芝
音響制御装置
1か月前
株式会社東芝
ディスク装置
2日前
株式会社東芝
重量測定装置
1か月前
株式会社東芝
補修システム
16日前
株式会社東芝
半導体スイッチ
17日前
株式会社東芝
半導体集積回路
18日前
株式会社東芝
アーク溶接方法
1か月前
株式会社東芝
電気車制御装置
5日前
株式会社東芝
磁気ディスク装置
1か月前
株式会社東芝
光量子乱数生成器
1か月前
続きを見る
他の特許を見る