TOP
|
特許
|
意匠
|
商標
特許ウォッチ
Twitter
他の特許を見る
10個以上の画像は省略されています。
公開番号
2025163998
公報種別
公開特許公報(A)
公開日
2025-10-30
出願番号
2024067697
出願日
2024-04-18
発明の名称
半導体装置及びその製造方法
出願人
株式会社東芝
,
東芝デバイス&ストレージ株式会社
代理人
弁理士法人iX
主分類
H10D
30/67 20250101AFI20251023BHJP()
要約
【課題】動作を安定化可能な半導体装置及びその製造方法を提供する。
【解決手段】半導体装置1は、、シリコン基板と、BOX膜と、STI(Shallow Trench Isolation)13と、シリコン部分20と、ゲート電極30と、コンタクト41~44を有する。シリコン部分20においては、各部に不純物が導入されて、導電型がp型又はn型の半導体とされており、導電型がp-型のチャネル領域(部分21a、21b)と、導電型がp型のHalo領域(部分22a~22c)と、導電型がp+型のボディコンタクト領域23と、導電型がn型のソース領域24と、導電型がn型のドレイン領域25と、が設けられている。ゲート電極30においては、第1電極部分31と、第2電極部分32と、パッド部分33と、側壁35と、が設けられている。パッド部分33は、シリコン部分20の+Y方向側で、STI13の開口部13eの外部に配置されている。
【選択図】図1
特許請求の範囲
【請求項1】
第1絶縁膜、前記第1絶縁膜上に配置された第2絶縁膜、及び、前記第1絶縁膜上に配置され前記第2絶縁膜によって囲まれた半導体部分を含む構造体上に、第1方向に延び前記半導体部分の直上域を横断する第1電極部分、及び、前記第1電極部分から前記第1方向に対して交差する第2方向に延出する第2電極部分を含む電極を形成する工程と、
前記電極をマスクとして、前記第1方向及び前記第2方向に直交した第3方向に対して傾斜した方向から不純物をイオン注入することにより、前記半導体部分における前記電極に覆われていない部分、及び、前記半導体部分における前記電極に覆われた部分のうち、前記電極に覆われていない部分に接した部分に、第1導電型の第1半導体部分を形成する工程と、
前記構造体上に、前記半導体部分における前記電極に覆われていない部分のうち、前記第2電極部分に覆われた部分に接した一部分を覆う第1マスクを形成する工程と、
前記第1マスク及び前記電極をマスクとして不純物をイオン注入することにより、前記第1半導体部分の一部に第2導電型の第2半導体部分を形成する工程と、
前記第1マスクを除去する工程と、
前記一部分に接続されるコンタクトを形成する工程と、
を備えた半導体装置の製造方法。
続きを表示(約 1,400 文字)
【請求項2】
前記第1マスクを除去する工程の後、前記コンタクトを形成する工程の前に、
前記構造体上に、前記第2半導体部分を覆い、前記一部分を露出する第2マスクを形成する工程と、
前記第2マスク及び前記電極をマスクとして不純物をイオン注入することにより、前記一部分に、第1導電型であり、実効的な不純物濃度が前記第1半導体部分の実効的な不純物濃度よりも高い第3半導体部分を形成する工程と、
をさらに備えた請求項1に記載の半導体装置の製造方法。
【請求項3】
前記第3半導体部分は、前記第1半導体部分における前記第2電極部分の直下域に位置する部分に接し、前記第1半導体部分における前記第1電極部分の直下域に位置する部分から離れている請求項2に記載の半導体装置の製造方法。
【請求項4】
前記電極を形成する工程の後、前記第1半導体部分を形成する工程の前に、前記構造体上に、前記半導体部分を露出させる第3マスクを形成する工程をさらに備え、
前記第1半導体部分を形成する工程の後、前記第1マスクを形成する工程の前に、前記第3マスクを除去する工程をさらに備え、
前記第1半導体部分を形成する工程においては、前記第3マスクもマスクとして用いる請求項1に記載の半導体装置の製造方法。
【請求項5】
前記電極を形成する工程において、前記半導体部分は第1導電型である請求項1に記載の半導体装置の製造方法。
【請求項6】
前記第2半導体部分は、前記第1半導体部分のうち前記第1電極部分の直下域に位置する部分によって2つの領域に区画される請求項1~5のいずれか1つに記載の半導体装置の製造方法。
【請求項7】
前記電極はゲート電極であり、前記2つの領域はソース領域とドレイン領域であり、前記第2電極部分は前記ソース領域側に配置される請求項6に記載の半導体装置の製造方法。
【請求項8】
第1絶縁膜と、
前記第1絶縁膜上に配置され、第1導電型であり、第1方向に延びる第1部分と、前記第1部分から前記第1方向と交差する第2方向に延びる第2部分と、を有する第1半導体部分と、
前記第1絶縁膜上に配置され、第2導電型であり、前記第1半導体部分に接し、前記第1半導体部分により2つの領域に区画された第2半導体部分と、
前記第1絶縁膜上に配置され、第1導電型であり、実効的な不純物濃度が前記第1半導体部分の実効的な不純物濃度よりも高く、前記第1半導体部分の前記第2部分に接し前記第1部分から離隔した第3半導体部分と、
前記第1絶縁膜上に配置され、上方から見て、前記第1半導体部分、前記第2半導体部分、及び、前記第3半導体部分を含む半導体部分を囲む第2絶縁膜と、
前記第1部分の直上域に配置された第1電極部分、及び、前記第2部分の直上域に配置された第2電極部分と、を有する電極と、
前記第3半導体部分に接続されたコンタクトと、
を備えた半導体装置。
【請求項9】
前記電極はゲート電極であり、前記2つの領域はソース領域とドレイン領域であり、前記第3半導体部分は前記ソース領域側に配置され、前記ソース領域に接する請求項8に記載の半導体装置。
【請求項10】
前記第1導電型はp型であり、前記第2導電型はn型である請求項8に記載の半導体装置。
(【請求項11】以降は省略されています)
発明の詳細な説明
【技術分野】
【0001】
実施形態は、半導体装置及びその製造方法に関する。
続きを表示(約 2,600 文字)
【背景技術】
【0002】
ロジック回路を構成する半導体装置においては、動作速度を向上させるために、SOI(silicon On Insulator)基板にMOSFET(Metal-Oxide-Semiconductor Field-Effect Transistor:金属酸化物半導体電界効果トランジスタ)を形成する技術が知られている。しかしながら、SOI基板に形成したMOSFETは動作が安定しにくいという問題がある。
【先行技術文献】
【特許文献】
【0003】
特開2013-69913号公報
【発明の概要】
【発明が解決しようとする課題】
【0004】
実施形態の目的は、動作を安定化可能な半導体装置及びその製造方法を提供することである。
【課題を解決するための手段】
【0005】
実施形態に係る半導体装置の製造方法は、第1絶縁膜、前記第1絶縁膜上に配置された第2絶縁膜、及び、前記第1絶縁膜上に配置され前記第2絶縁膜によって囲まれた半導体部分を含む構造体上に、第1方向に延び前記半導体部分の直上域を横断する第1電極部分、及び、前記第1電極部分から前記第1方向に対して交差する第2方向に延出する第2電極部分を含む電極を形成する工程と、前記電極をマスクとして、前記第1方向及び前記第2方向に直交した第3方向に対して傾斜した方向から不純物をイオン注入することにより、前記半導体部分における前記電極に覆われていない部分、及び、前記半導体部分における前記電極に覆われた部分のうち、前記電極に覆われていない部分に接した部分に、第1導電型の第1半導体部分を形成する工程と、前記構造体上に、前記半導体部分における前記電極に覆われていない部分のうち、前記第2電極部分に覆われた部分に接した一部分を覆う第1マスクを形成する工程と、前記第1マスク及び前記電極をマスクとして不純物をイオン注入することにより、前記第1半導体部分の一部に第2導電型の第2半導体部分を形成する工程と、前記第1マスクを除去する工程と、前記一部分に接続されるコンタクトを形成する工程と、を備える。
【0006】
実施形態に係る半導体装置は、第1絶縁膜と、前記第1絶縁膜上に配置され、第1導電型であり、第1方向に延びる第1部分と、前記第1部分から前記第1方向と交差する第2方向に延びる第2部分と、を有する第1半導体部分と、前記第1絶縁膜上に配置され、第2導電型であり、前記第1半導体部分に接し、前記第1半導体部分により2つの領域に区画された第2半導体部分と、前記第1絶縁膜上に配置され、第1導電型であり、実効的な不純物濃度が前記第1半導体部分の実効的な不純物濃度よりも高く、前記第1半導体部分の前記第2部分に接し前記第1部分から離隔した第3半導体部分と、前記第1絶縁膜上に配置され、上方から見て、前記第1半導体部分、前記第2半導体部分、及び、前記第3半導体部分を含む半導体部分を囲む第2絶縁膜と、前記第1部分の直上域に配置された第1電極部分、及び、前記第2部分の直上域に配置された第2電極部分と、を有する電極と、前記第3半導体部分に接続されたコンタクトと、を備える。
【図面の簡単な説明】
【0007】
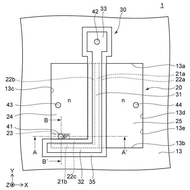
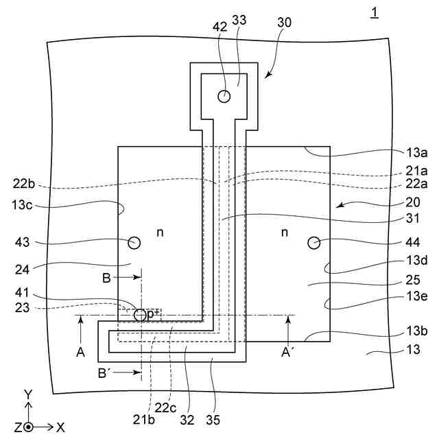
図1は、実施形態に係る半導体装置を示す平面図である。
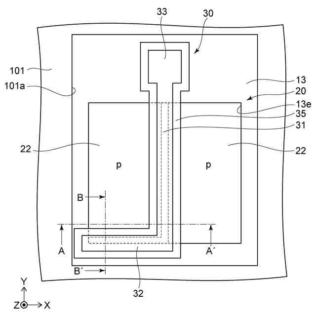
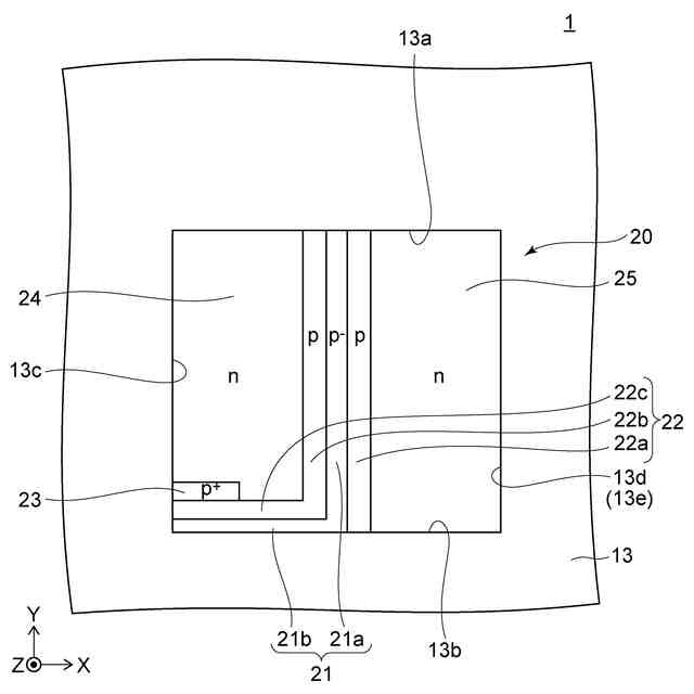
図2は、実施形態に係る半導体装置のシリコン部分及びSTIを示す平面図である。
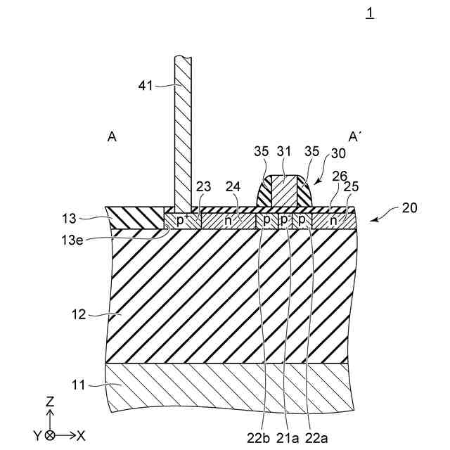
図3は、図1に示すA-A’線による断面図である。
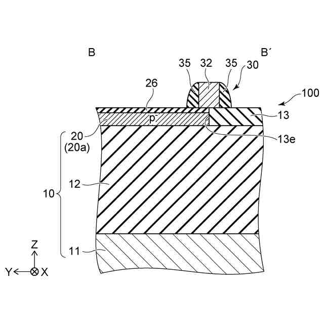
図4は、図1に示すB-B’線による断面図である。
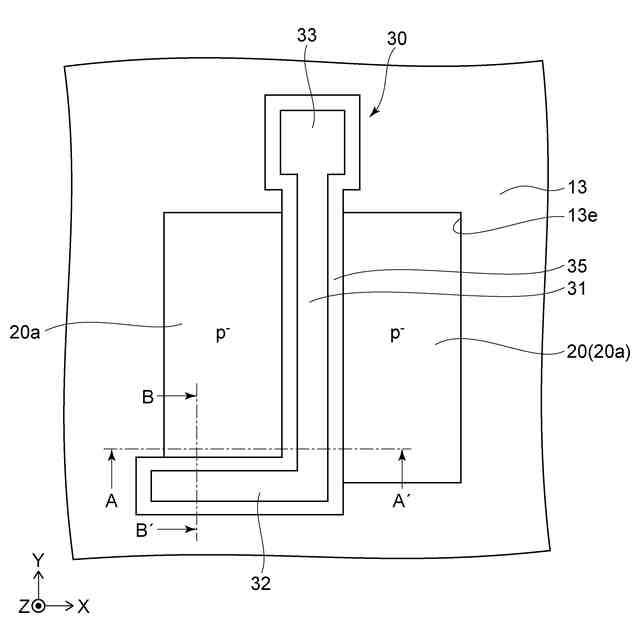
図5は、実施形態に係る半導体装置の製造方法を示す平面図である。
図6は、図5に示すA-A’線による断面図である。
図7は、図5に示すB-B’線による断面図である。
図8は、実施形態に係る半導体装置の製造方法を示す平面図である。
図9は、図8に示すA-A’線による断面図である。
図10は、図8に示すB-B’線による断面図である。
図11は、実施形態に係る半導体装置の製造方法を示す平面図である。
図12は、図11に示すA-A’線による断面図である。
図13は、図11に示すB-B’線による断面図である。
図14は、実施形態に係る半導体装置の製造方法を示す平面図である。
図15は、図14に示すA-A’線による断面図である。
図16は、図14に示すB-B’線による断面図である。
図17は、比較例に係る半導体装置の製造方法を示す平面図である。
図18は、図17に示すA-A’線による断面図である。
図19は、図17に示すB-B’線による断面図である。
【発明を実施するための形態】
【0008】
<実施形態>
図1は、本実施形態に係る半導体装置を示す平面図である。
図2は、本実施形態に係る半導体装置のシリコン部分及びSTIを示す平面図である。
図3は、図1に示すA-A’線による断面図である。
図4は、図1に示すB-B’線による断面図である。
【0009】
図1~図4に示すように、本実施形態に係る半導体装置1においては、シリコン基板11と、BOX膜12と、STI(Shallow Trench Isolation:素子分離絶縁膜)13と、シリコン部分20と、ゲート電極30と、コンタクト41~44が設けられている。
【0010】
シリコン基板11は例えば半導体材料からなり、例えば、単結晶のシリコン(Si)からなる。BOX膜12及びSTI13は絶縁性材料からなり、例えば、酸化シリコン(SiO
2
)からなる。シリコン部分20は例えば半導体材料からなり、例えばシリコンからなる。BOX膜12はシリコン基板11上に配置されている。STI13及びシリコン部分20は、BOX膜12上に配置されている。ゲート電極30及びコンタクト41~44は、STI13上及びシリコン部分20上に配置されている。
(【0011】以降は省略されています)
この特許をJ-PlatPat(特許庁公式サイト)で参照する
関連特許
株式会社東芝
端子台
1か月前
株式会社東芝
センサ
3か月前
株式会社東芝
センサ
2か月前
株式会社東芝
センサ
2か月前
株式会社東芝
モータ
2か月前
株式会社東芝
固定子
3か月前
株式会社東芝
吸音装置
2か月前
株式会社東芝
除去装置
28日前
株式会社東芝
電子回路
1か月前
株式会社東芝
金型構造
2か月前
株式会社東芝
電子装置
2か月前
株式会社東芝
電子装置
1か月前
株式会社東芝
半導体装置
1か月前
株式会社東芝
半導体装置
1か月前
株式会社東芝
電動送風機
3か月前
株式会社東芝
半導体装置
2か月前
株式会社東芝
ラック装置
3か月前
株式会社東芝
半導体装置
14日前
株式会社東芝
半導体装置
1か月前
株式会社東芝
高周波回路
1か月前
株式会社東芝
半導体装置
1か月前
株式会社東芝
半導体装置
1か月前
株式会社東芝
半導体装置
1か月前
株式会社東芝
半導体装置
1か月前
株式会社東芝
半導体装置
1か月前
株式会社東芝
半導体装置
1か月前
株式会社東芝
真空バルブ
1か月前
株式会社東芝
半導体装置
2か月前
株式会社東芝
真空バルブ
1か月前
株式会社東芝
半導体装置
2か月前
株式会社東芝
半導体装置
1か月前
株式会社東芝
半導体装置
2か月前
株式会社東芝
半導体装置
今日
株式会社東芝
半導体装置
今日
株式会社東芝
真空バルブ
今日
株式会社東芝
半導体装置
2か月前
続きを見る
他の特許を見る