TOP
|
特許
|
意匠
|
商標
特許ウォッチ
Twitter
他の特許を見る
公開番号
2025140013
公報種別
公開特許公報(A)
公開日
2025-09-29
出願番号
2024039149
出願日
2024-03-13
発明の名称
半導体装置
出願人
株式会社東芝
,
東芝デバイス&ストレージ株式会社
代理人
弁理士法人iX
主分類
H10D
84/80 20250101AFI20250919BHJP()
要約
【課題】損失を低減可能な半導体装置を提供する。
【解決手段】実施形態によれば、半導体装置は、第1、第2素子、第1~第6端子、及び、回路部を含む。第1、第2素子のそれぞれは、第1~第4電極及び半導体部材を含む。回路部は、第1期間において、第2端子を第1電位とする。回路部は、第1期間の後の第2期間において、第2端子を第3電位とする。回路部は、第2期間の後の第3期間において、第2端子を第2電位とする。第2電位は第1電位よりも低い。第3電位は第1電位と第2電位との間である。回路部は、第1、第2期間において、第3端子を第1電位とする。回路部は、第3期間において第3端子を第2電位とする。回路部は、第1、第2期間において、第5、第6端子を第4電位とする。回路部は、第3期間において第5、第6端子を第5電位とする。第4電位は第5電位よりも低い。
【選択図】図1
特許請求の範囲
【請求項1】
第1素子と、
第2素子と、
第1端子と、
第2端子と、
第3端子と、
第4端子と、
第5端子と、
第6端子と、
回路部と、
を備え、
前記第1素子及び前記第2素子のそれぞれは、
第1電極と、
第2電極と、
第3電極と、
第4電極と、
前記第1電極と前記第2電極との間に設けられた半導体部材と、
を含み、
前記第3電極から前記第4電極への第2方向は、前記第1電極から前記第2電極への第1方向と交差し、
前記半導体部材は、
第1導電形の第1半導体領域であって、前記第1半導体領域は、第1部分領域、第2部分領域、第3部分領域及び第4部分領域を含み、前記第1部分領域から前記第3電極への方向は、前記第1方向に沿い、前記第2部分領域から前記第4電極への方向は、前記第1方向に沿う、前記第1半導体領域と、
前記第1導電形の第2半導体領域であって、前記第3電極の一部から前記第2半導体領域への方向は、前記第2方向に沿い、前記第2半導体領域は、前記第2電極に接続される、前記第2半導体領域と、
第2導電形の第3半導体領域であって、前記第3半導体領域の一部は、前記第1方向において、前記第3部分領域と前記第2半導体領域との間にあり、前記第3電極の前記一部から前記第3半導体領域の前記一部への方向は、前記第2方向に沿う、前記第3半導体領域と、
前記第2導電形の第4半導体領域であって、前記第3半導体領域の別の一部は、前記第1方向において、前記第4部分領域と前記第4半導体領域との間にあり、前記第3半導体領域の前記別の一部から前記第4電極の一部への方向は、前記第2方向に沿う、前記第4半導体領域と、
前記第1方向において前記第1電極と前記第1半導体領域との間に設けられた、前記第1導電形の第5半導体領域と、
前記第1方向において前記第1電極と前記第1半導体領域との間に設けられた、前記第2導電形の第6半導体領域であって、前記第5半導体領域から前記第6半導体領域への方向は、第4方向に沿い、前記第4方向は、前記第1方向及び前記第2方向を含む平面と交差する第3方向と、前記第2方向と、を含む平面に沿う、前記第6半導体領域と、
を含み、
前記第1端子は、前記第1素子の前記第2電極と電気的に接続され、
前記第2端子は、前記第1素子の前記第3電極と電気的に接続され、
前記第3端子は、前記第1素子の前記第4電極と電気的に接続され、
前記第4端子は、前記第2素子の前記第2電極及び前記第1素子の前記第1電極と電気的に接続され、
前記第5端子は、前記第2素子の前記第3電極と電気的に接続され、
前記第6端子は、前記第2素子の前記第4電極と電気的に接続され、
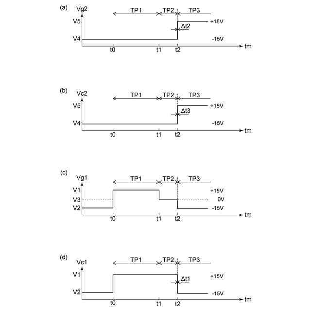
前記回路部は、第1期間において、前記第2端子を、前記第1端子の電位を基準にした第1電位とするように構成され、
前記回路部は、前記第1期間の後の第2期間において、前記第2端子を、前記第1端子の前記電位を基準にした第3電位とするように構成され、
前記回路部は、前記第2期間の後の第3期間において、前記第2端子を、前記第1端子の前記電位を基準にした第2電位とするように構成され、前記第2電位は前記第1電位よりも低く、前記第3電位は前記第1電位と前記第2電位との間であり、
前記回路部は、前記第1期間及び前記第2期間において、前記第3端子を前記第1電位とするように構成され、
前記回路部は、前記第3期間において、前記第3端子を前記第2電位とするように構成され、
前記回路部は、前記第1期間及び前記第2期間において、前記第5端子及び前記第6端子を、前記第4端子の電位を基準にした第4電位とするように構成され、
前記回路部は、前記第3期間において、前記第5端子及び前記第6端子を、前記第4端子の前記電位を基準にした第5電位とするように構成され、前記第4電位は、前記第5電位よりも低い、半導体装置。
続きを表示(約 2,600 文字)
【請求項2】
前記第2素子の前記第1電極と電気的に接続された第7端子をさらに備え、
前記回路部は、前記第1端子と前記第7端子との間に被制御電圧を印加するように構成された、請求項1に記載の半導体装置。
【請求項3】
前記第3電位は、前記第1素子のしきい値電圧未満である、請求項1または2に記載の半導体装置。
【請求項4】
前記第3電位と前記第1電位との間の第1差の第1絶対値は、前記第3電位と前記第2電位と間の第2差の第2絶対値の0.8倍以上1.2倍以下である、請求項1に記載の半導体装置。
【請求項5】
前記第1素子及び前記第2素子のそれぞれは、第1絶縁部材をさらに含み、
前記第1素子の前記第1絶縁部材は、前記第1素子の前記第3電極と、前記第1素子の前記半導体部材と、の間、及び、前記第1素子の前記第4電極と、前記第1素子の前記半導体部材と、の間に設けられ、
前記第2素子の前記第1絶縁部材は、前記第2素子の前記第3電極と、前記第2素子の前記半導体部材と、の間、及び、前記第2素子の前記第4電極と、前記第2素子の前記半導体部材と、の間に設けられた、請求項1に記載の半導体装置。
【請求項6】
前記第1絶縁部材の一部は、前記第2方向において、前記第3電極の一部、及び、前記第2半導体領域と接する、請求項5に記載の半導体装置。
【請求項7】
前記第1絶縁部材の別の一部は、前記第2方向において、前記第4電極の一部、及び、前記第4半導体領域と接する、請求項6に記載の半導体装置。
【請求項8】
前記第2半導体領域における前記第1導電形の第2不純物濃度は、前記第1半導体領域における前記第1導電形の第1不純物濃度よりも高い、請求項1に記載の半導体装置。
【請求項9】
前記第4半導体領域における前記第2導電形の第4不純物濃度は、前記第3半導体領域における前記第2導電形の第3不純物濃度よりも高い、請求項1に記載の半導体装置。
【請求項10】
第1素子と、
第2素子と、
第1端子と、
第2端子と、
第3端子と、
第4端子と、
第5端子と、
第6端子と、
回路部と、
を備え、
前記第1素子及び前記第2素子のそれぞれは、
第1電極と、
第2電極と、
第3電極と、
第4電極と、
前記第1電極と前記第2電極との間に設けられた半導体部材と、
を含み、
前記第3電極から前記第4電極への第2方向は、前記第1電極から前記第2電極への第1方向と交差し、
前記半導体部材は、
第1導電形の第1半導体領域であって、前記第1半導体領域は、第1部分領域、第2部分領域、第3部分領域及び第4部分領域を含み、前記第1部分領域から前記第3電極への方向は、前記第1方向に沿い、前記第2部分領域から前記第4電極への方向は、前記第1方向に沿う、前記第1半導体領域と、
前記第1導電形の第2半導体領域であって、前記第3電極の一部から前記第2半導体領域への方向は、前記第2方向に沿う、前記第2半導体領域と、
第2導電形の第3半導体領域であって、前記第3半導体領域の一部は、前記第2方向において、前記第3部分領域と前記第2半導体領域との間にあり、前記第3電極の前記一部から前記第3半導体領域の前記一部への方向は、前記第2方向に沿う、前記第3半導体領域と、
前記第2導電形の第4半導体領域であって、前記第3半導体領域の別の一部は、前記第2方向において、前記第4部分領域と前記第4半導体領域との間にあり、前記第3半導体領域の前記別の一部から前記第4電極の一部への方向は、前記第2方向に沿う、前記第4半導体領域と、
前記第1方向において前記第1電極と前記第1半導体領域との間に設けられた、前記第1導電形の第5半導体領域と、
前記第1方向において前記第1電極と前記第1半導体領域との間に設けられた、前記第2導電形の第6半導体領域であって、前記第5半導体領域から前記第6半導体領域への方向は、第4方向に沿い、前記第4方向は、前記第1方向及び前記第2方向を含む平面と交差する第3方向と、前記第2方向と、を含む平面に沿う、前記第6半導体領域と、
を含み、
前記第1端子は、前記第1素子の前記第2電極と電気的に接続され、
前記第2端子は、前記第1素子の前記第3電極と電気的に接続され、
前記第3端子は、前記第1素子の前記第4電極と電気的に接続され、
前記第4端子は、前記第2素子の前記第2電極及び前記第1素子の前記第1電極と電気的に接続され、
前記第5端子は、前記第2素子の前記第3電極と電気的に接続され、
前記第6端子は、前記第2素子の前記第4電極と電気的に接続され、
前記回路部は、前記第2端子の電位を、第1時刻から、第1電位から第2電位に向けて変化させるように構成され、
前記第1電位は、前記第1端子の電位を基準にした電位であり、
前記第2電位は、前記第1端子の前記電位を基準にした電位であり、
前記第2電位は、前記第1電位よりも低く、
前記回路部は、前記第2端子の前記電位を、前記第1時刻の後の第2時刻に前記第2電位とするように構成され、
前記回路部は、前記第3端子の電位を、前記第2時刻に前記第1電位から前記第2電位に変化させるように構成され、
前記回路部は、前記第5端子の電位及び前記第6端子の電位を、前記第2時刻に第4電位から第5電位に変化させるように構成され、
前記第4電位は、前記第4端子の電位を基準にした電位であり、
前記第5電位は、前記第4端子の前記電位を基準にした電位であり、
前記第4電位は、前記第5電位よりも低く、
前記第1時刻と前記第2時刻との間の時間は、前記第3端子の前記電位における、前記第1電位から前記第2電位への変化の時間よりも長く、
前記第1時刻と前記第2時刻との間の前記時間は、前記第5端子の前記電位及び前記第6端子における、前記電位の前記第4電位から前記第5電位への変化の時間よりも長い、半導体装置。
発明の詳細な説明
【技術分野】
【0001】
本発明の実施形態は、半導体装置に関する。
続きを表示(約 2,600 文字)
【背景技術】
【0002】
例えば、IGBT(insulated gate bipolar transistor)などの半導体装置が電力変換回路などに用いられている。損失の低減が望まれる。
【先行技術文献】
【特許文献】
【0003】
特許第7352443号公報
【発明の概要】
【発明が解決しようとする課題】
【0004】
本発明の実施形態は、損失を低減可能な半導体装置を提供する。
【課題を解決するための手段】
【0005】
本発明の実施形態によれば、半導体装置は、第1素子、第2素子、第1端子、第2端子、第3端子、第4端子、第5端子、第6端子、及び、回路部を含む。前記第1素子及び前記第2素子のそれぞれは、第1電極、第2電極、第3電極、第4電極、及び、半導体部材を含む。前記半導体部材は、前記第1電極と前記第2電極との間に設けられる。前記第3電極から前記第4電極への第2方向は、前記第1電極から前記第2電極への第1方向と交差する。前記半導体部材は、第1導電形の第1半導体領域、前記第1導電形の第2半導体領域、第2導電形の第3半導体領域、前記第2導電形の第4半導体領域、前記第1導電形の第5半導体領域、及び、前記第2導電形の第6半導体領域を含む。前記第1半導体領域は、第1部分領域、第2部分領域、第3部分領域及び第4部分領域を含む。前記第1部分領域から前記第3電極への方向は、前記第1方向に沿う。前記第2部分領域から前記第4電極への方向は、前記第1方向に沿う。前記第2半導体領域は、前記第2電極に接続される。前記第3電極の一部から前記第2半導体領域への方向は、前記第2方向に沿う。前記第3半導体領域の一部は、前記第1方向において、前記第3部分領域と前記第2半導体領域との間にある。前記第3電極の前記一部から前記第3半導体領域の前記一部への方向は、前記第2方向に沿う。前記第3半導体領域の別の一部は、前記第1方向において、前記第4部分領域と前記第4半導体領域との間にある。前記第3半導体領域の前記別の一部から前記第4電極の一部への方向は、前記第2方向に沿う。前記第5半導体領域は、前記第1方向において前記第1電極と前記第1半導体領域との間に設けられる。前記第6半導体領域は、前記第1方向において前記第1電極と前記第1半導体領域との間に設けられる。前記第5半導体領域から前記第6半導体領域への方向は、第4方向に沿う。前記第4方向は、前記第1方向及び前記第2方向を含む平面と交差する第3方向と、前記第2方向と、を含む平面に沿う。前記第1端子は、前記第1素子の前記第2電極と電気的に接続される。前記第2端子は、前記第1素子の前記第3電極と電気的に接続される。前記第3端子は、前記第1素子の前記第4電極と電気的に接続される。前記第4端子は、前記第2素子の前記第2電極及び前記第1素子の前記第1電極と電気的に接続される。前記第5端子は、前記第2素子の前記第3電極と電気的に接続される。前記第6端子は、前記第2素子の前記第4電極と電気的に接続される。前記回路部は、第1期間において、前記第2端子を、前記第1端子の電位を基準にした第1電位とするように構成される。前記回路部は、前記第1期間の後の第2期間において、前記第2端子を、前記第1端子の前記電位を基準にした第3電位とするように構成される。前記回路部は、前記第2期間の後の第3期間において、前記第2端子を、前記第1端子の前記電位を基準にした第2電位とするように構成される。前記第2電位は前記第1電位よりも低い。前記第3電位は前記第1電位と前記第2電位との間である。前記回路部は、前記第1期間及び前記第2期間において、前記第3端子を前記第1電位とするように構成される。前記回路部は、前記第3期間において、前記第3端子を前記第2電位とするように構成される。前記回路部は、前記第1期間及び前記第2期間において、前記第5端子及び前記第6端子を前記第4端子の電位を基準にした第4電位とするように構成される。前記回路部は、前記第3期間において、前記第5端子及び前記第6端子を前記第4端子の前記電位を基準にした第5電位とするように構成される。前記第4電位は、前記第5電位よりも低い。
【図面の簡単な説明】
【0006】
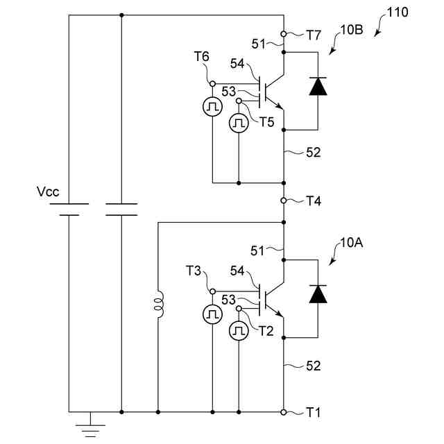
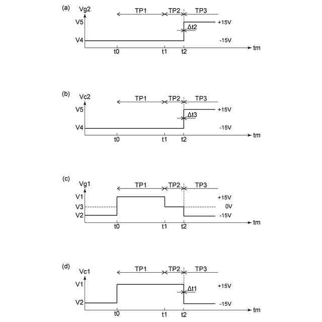
図1(a)~図1(d)は、第1実施形態に係る半導体装置の動作を例示する模式図である。
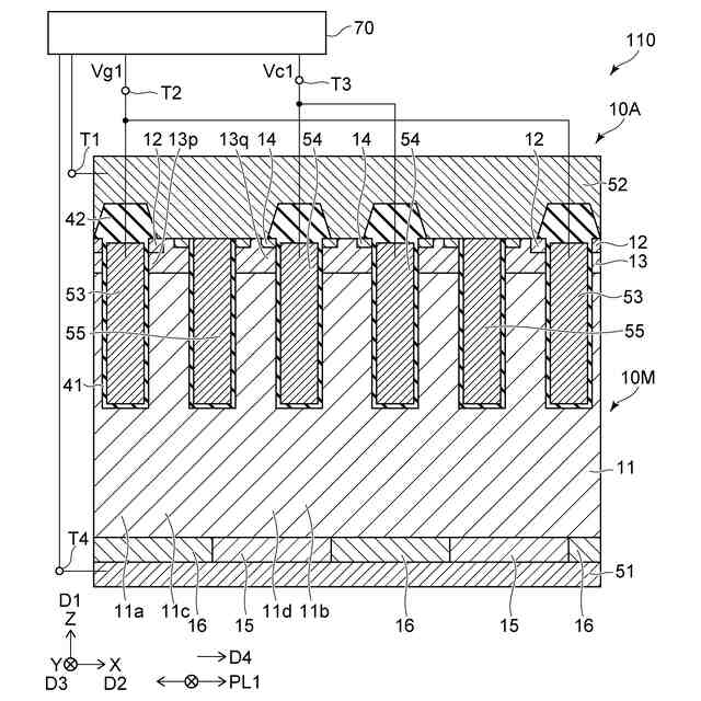
図2は、第1実施形態に係る半導体装置を例示する模式的断面図である。
図3は、第1実施形態に係る半導体装置を例示する模式的断面図である。
図4は、第1実施形態に係る半導体装置を例示する等価回路である。
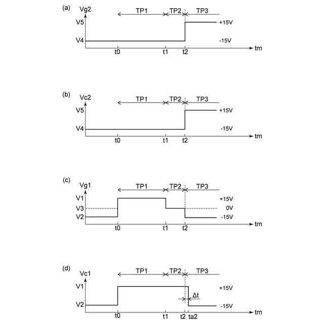
図5(a)~図5(d)は、第1実施形態に係る半導体装置の動作を例示する模式図である。
【発明を実施するための形態】
【0007】
以下に、本発明の各実施の形態について図面を参照しつつ説明する。
図面は模式的または概念的なものであり、各部分の厚さと幅との関係、部分間の大きさの比率などは、必ずしも現実のものと同一とは限らない。同じ部分を表す場合であっても、図面により互いの寸法や比率が異なって表される場合もある。
本願明細書と各図において、既出の図に関して前述したものと同様の要素には同一の符号を付して詳細な説明は適宜省略する。
【0008】
(第1実施形態)
図1(a)~図1(d)は、第1実施形態に係る半導体装置の動作を例示する模式図である。
図2及び図3は、第1実施形態に係る半導体装置を例示する模式的断面図である。
図4は、第1実施形態に係る半導体装置を例示する等価回路である。
【0009】
図2及び図3に示すように、実施形態に係る半導体装置110は、第1素子10A、第2素子10B、第1端子T1、第2端子T2、第3端子T3、第4端子T4、第5端子T5、第6端子T6、及び、回路部70を含む。
【0010】
第1素子10A及び第2素子10Bのそれぞれは、第1電極51、第2電極52、第3電極53、第4電極54、及び、半導体部材10Mを含む。半導体部材10Mは、第1電極51と第2電極52との間に設けられる。
(【0011】以降は省略されています)
この特許をJ-PlatPat(特許庁公式サイト)で参照する
関連特許
株式会社東芝
センサ
1か月前
株式会社東芝
端子台
17日前
株式会社東芝
固定子
2か月前
株式会社東芝
センサ
1か月前
株式会社東芝
センサ
2か月前
株式会社東芝
モータ
1か月前
株式会社東芝
金型構造
1か月前
株式会社東芝
電子装置
1か月前
株式会社東芝
ドア構造
2か月前
株式会社東芝
除去装置
10日前
株式会社東芝
電子装置
1か月前
株式会社東芝
電子回路
26日前
株式会社東芝
吸音装置
1か月前
株式会社東芝
半導体装置
26日前
株式会社東芝
真空バルブ
25日前
株式会社東芝
電動送風機
2か月前
株式会社東芝
高周波回路
26日前
株式会社東芝
真空バルブ
1か月前
株式会社東芝
半導体装置
1か月前
株式会社東芝
半導体装置
26日前
株式会社東芝
半導体装置
1か月前
株式会社東芝
半導体装置
26日前
株式会社東芝
半導体装置
26日前
株式会社東芝
半導体装置
2か月前
株式会社東芝
半導体装置
1か月前
株式会社東芝
半導体装置
1か月前
株式会社東芝
半導体装置
1か月前
株式会社東芝
半導体装置
1か月前
株式会社東芝
半導体装置
1か月前
株式会社東芝
半導体装置
1か月前
株式会社東芝
半導体装置
1か月前
株式会社東芝
半導体装置
1か月前
株式会社東芝
半導体装置
1か月前
株式会社東芝
半導体装置
26日前
株式会社東芝
ラック装置
2か月前
株式会社東芝
半導体装置
1か月前
続きを見る
他の特許を見る