TOP
|
特許
|
意匠
|
商標
特許ウォッチ
Twitter
他の特許を見る
公開番号
2025159656
公報種別
公開特許公報(A)
公開日
2025-10-21
出願番号
2024062405
出願日
2024-04-08
発明の名称
半導体装置
出願人
株式会社東芝
,
東芝デバイス&ストレージ株式会社
代理人
個人
,
個人
,
個人
,
個人
主分類
H10D
30/66 20250101AFI20251014BHJP()
要約
【課題】終端領域におけるアバランシェ耐量を向上させることができる半導体装置を提供する。
【解決手段】本実施形態に係る半導体装置は、半導体部と、第1電極と、第2電極と、制御電極と、第3電極と、を備える。半導体部は、第1導電形の第1半導体層と、第2導電形の第2半導体層と、を含む。第1領域における半導体部は、第2半導体層と第2電極との間に設けられる、第1導電形の第3半導体層をさらに含む。半導体部は、第2半導体層と第2電極との間に設けられ、第2電極に電気的に接続される、第2導電形の第4半導体層をさらに含む。第1領域を囲む第2領域における、第4半導体層に接する第2半導体層と第1電極との距離は、第1領域における、第4半導体層に接する第2半導体層と第1電極との距離よりも小さい。
【選択図】図3
特許請求の範囲
【請求項1】
第1導電形の第1半導体層と、第2導電形の第2半導体層と、を含む半導体部と、
前記半導体部の裏面上に設けられた第1電極と、
前記半導体部の表面上に設けられた第2電極であって、前記第1半導体層は、前記第1電極と前記第2電極との間に延在し、前記第2半導体層は、前記第1半導体層と前記第2電極との間に設けられる、第2電極と、
前記半導体部内に設けられる制御電極と、
前記第1電極から前記第2電極に向かう第1方向において、前記制御電極と前記第1電極との間に位置する第3電極と、
を備え、
第1領域における前記半導体部は、前記第2半導体層と前記第2電極との間に設けられる、第1導電形の第3半導体層をさらに含み、
前記半導体部は、前記第2半導体層と前記第2電極との間に設けられ、前記第2電極に電気的に接続される、第2導電形の第4半導体層をさらに含み、
前記第1領域を囲む第2領域における、前記第4半導体層に接する前記第2半導体層と前記第1電極との距離は、前記第1領域における、前記第4半導体層に接する前記第2半導体層と前記第1電極との距離よりも小さい、半導体装置。
続きを表示(約 1,200 文字)
【請求項2】
前記第2領域における前記第4半導体層の前記裏面側に位置する前記第2半導体層は、前記第1半導体層中に延在し、
前記第1領域における前記第4半導体層の前記裏面側に位置する前記第2半導体層は、前記第1半導体層中に延在しない、請求項1に記載の半導体装置。
【請求項3】
前記第2領域における前記第4半導体層の第2導電形不純物の濃度は、前記第1領域における前記第4半導体層の第2導電形不純物の濃度とは異なる、請求項1に記載の半導体装置。
【請求項4】
前記第2領域における前記第4半導体層の第2導電形不純物の濃度は、前記第1領域における前記第4半導体層の第2導電形不純物の濃度よりも高い、請求項3に記載の半導体装置。
【請求項5】
第1導電形の第1半導体層と、第2導電形の第2半導体層と、を含む半導体部と、
前記半導体部の裏面上に設けられた第1電極と、
前記半導体部の表面上に設けられた第2電極であって、前記第1半導体層は、前記第1電極と前記第2電極との間に延在し、前記第2半導体層は、前記第1半導体層と前記第2電極との間に設けられる、第2電極と、
前記半導体部内に設けられる制御電極と、
前記第1電極から前記第2電極に向かう第1方向において、前記制御電極と前記第1電極との間に位置する第3電極と、
を備え、
第1領域における前記半導体部は、前記第2半導体層と前記第2電極との間に設けられる、第1導電形の第3半導体層をさらに含み、
前記半導体部は、前記第2半導体層と前記第2電極との間に設けられ、前記第2電極に電気的に接続される、第2導電形の第4半導体層をさらに含み、
前記第1領域を囲む第2領域における前記第4半導体層の第2導電形不純物の濃度は、前記第1領域における前記第4半導体層の第2導電形不純物の濃度とは異なる、半導体装置。
【請求項6】
前記第2領域における前記第4半導体層の第2導電形不純物の濃度は、前記第1領域における前記第4半導体層の第2導電形不純物の濃度よりも高い、請求項5に記載の半導体装置。
【請求項7】
前記第2電極は、前記半導体部の前記表面側から前記第2半導体層中に至る深さを有するトレンチの内部に設けられ、前記半導体部の前記表面側から前記第2半導体層中に延在するコンタクト部を含み、
前記第4半導体層は、前記第2半導体層と前記コンタクト部との間に設けられ、前記コンタクト部に電気的に接続される、請求項1から請求項6のいずれか一項に記載の半導体装置。
【請求項8】
前記第4半導体層は、前記第1方向における前記第3半導体層のレベルと略同じレベルに位置する、請求項1から請求項6のいずれか一項に記載の半導体装置。
発明の詳細な説明
【技術分野】
【0001】
本発明の実施形態は、半導体装置に関する。
続きを表示(約 1,600 文字)
【背景技術】
【0002】
FPMOS(Field Plate Metal-Oxide-Semiconductor)の終端領域は、アバランシェ耐量が低く、破壊されやすい場合がある。終端領域は、チャネルに電流が流れるセル領域以外の領域である。
【先行技術文献】
【特許文献】
【0003】
特開2023-96841号公報
特許第7171527号公報
特許第7246423号公報
【発明の概要】
【発明が解決しようとする課題】
【0004】
終端領域におけるアバランシェ耐量を向上させることができる半導体装置を提供する。
【課題を解決するための手段】
【0005】
本実施形態に係る半導体装置は、半導体部と、第1電極と、第2電極と、制御電極と、第3電極と、を備える。半導体部は、第1導電形の第1半導体層と、第2導電形の第2半導体層と、を含む。第1電極は、半導体部の裏面上に設けられる。第2電極は、半導体部の表面上に設けられる。第1半導体層は、第1電極と第2電極との間に延在し、第2半導体層は、第1半導体層と第2電極との間に設けられる。制御電極は、半導体部内に設けられる。第3電極は、第1電極から第2電極に向かう第1方向において、制御電極と第1電極との間に位置する。第1領域における半導体部は、第2半導体層と第2電極との間に設けられる、第1導電形の第3半導体層をさらに含む。半導体部は、第2半導体層と第2電極との間に設けられ、第2電極に電気的に接続される、第2導電形の第4半導体層をさらに含む。第1領域を囲む第2領域における、第4半導体層に接する第2半導体層と第1電極との距離は、第1領域における、第4半導体層に接する第2半導体層と第1電極との距離よりも小さい。
【図面の簡単な説明】
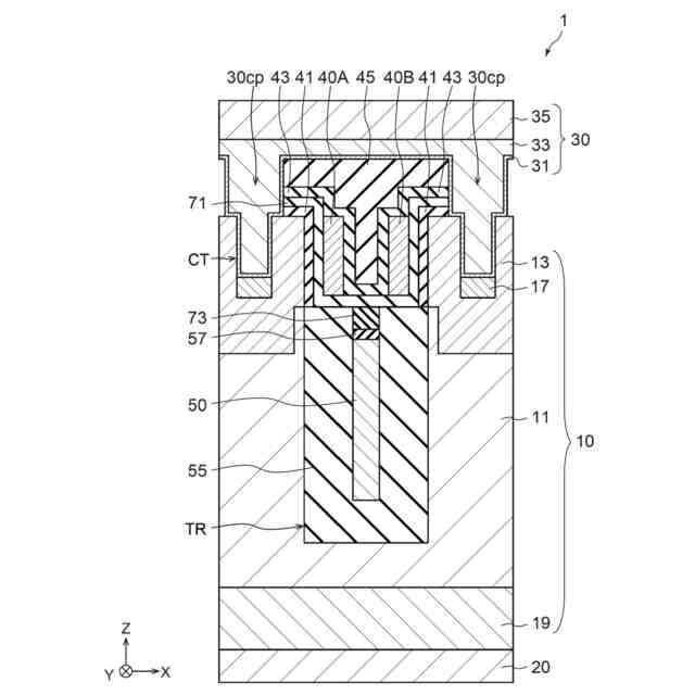
【0006】
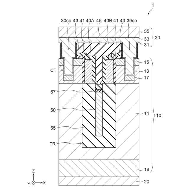
第1実施形態に係る半導体装置を示す模式断面図である。
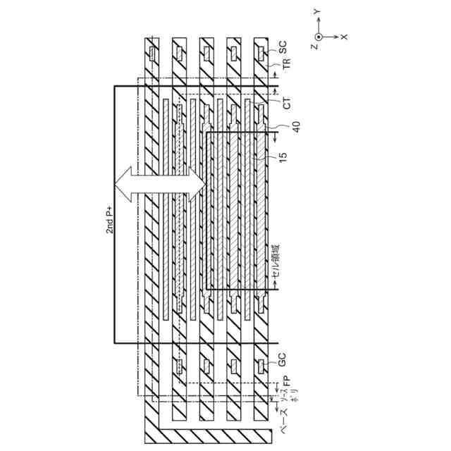
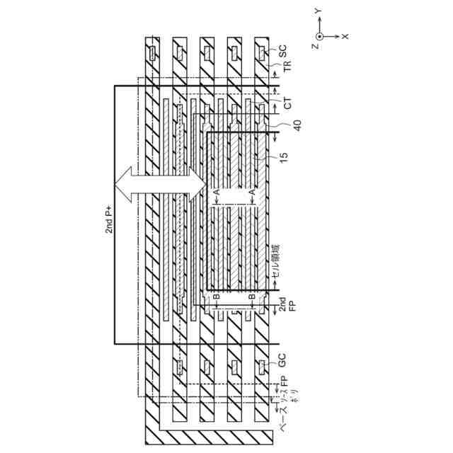
第1実施形態に係る半導体装置を示す模式レイアウト図である。
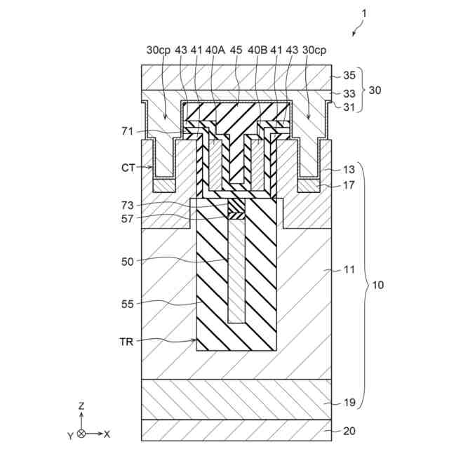
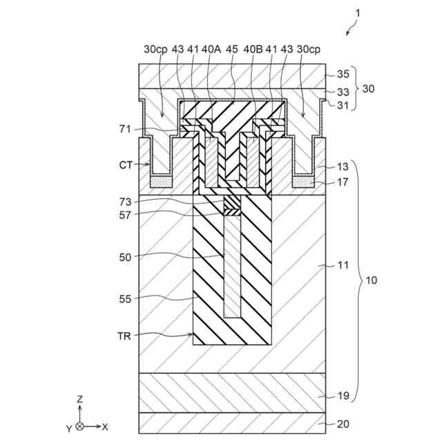
第1実施形態に係る半導体装置を示す模式断面図である。
第2実施形態に係る半導体装置を示す模式断面図である。
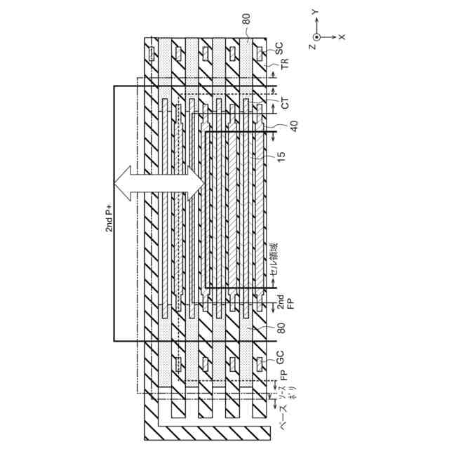
第3実施形態に係る半導体装置を示す模式レイアウト図である。
第4実施形態に係る半導体装置を示す模式レイアウト図である。
【発明を実施するための形態】
【0007】
以下、図面を参照して本発明に係る実施形態を説明する。本実施形態は、本発明を限定するものではない。図面は模式的または概念的なものであり、各部分の比率などは、必ずしも現実のものと同一とは限らない。明細書と図面において、既出の図面に関して前述したものと同様の要素には同一の符号を付して詳細な説明は適宜省略する。
【0008】
さらに、各図中に示すX軸、Y軸およびZ軸を用いて各部分の配置および構成を説明する。X軸、Y軸、Z軸は、相互に直交し、それぞれX方向、Y方向、Z方向を表す。また、Z方向を上方、その反対方向を下方として説明する場合がある。
【0009】
(第1実施形態)
図1は、第1実施形態に係る半導体装置1を示す模式断面図である。半導体装置1は、例えば、MOSFETである。半導体装置1は、トレンチゲート構造を有する。半導体装置1は、半導体部10と、第1電極20と、第2電極30と、制御電極40と、第3電極50と、を含む。半導体部10は、例えば、シリコンである。
【0010】
半導体部10は、例えば、第1電極20が設けられる裏面と、その反対側の表面を有する。第2電極30は、半導体部10の表面側に設けられる。第1電極20は、ドレイン電極である。第1電極20は、半導体部10の裏面上に設けられる。第2電極30は、ソース電極である。
(【0011】以降は省略されています)
この特許をJ-PlatPat(特許庁公式サイト)で参照する
関連特許
個人
積和演算用集積回路
1か月前
サンケン電気株式会社
半導体装置
1か月前
日機装株式会社
半導体発光装置
26日前
旭化成株式会社
発光素子
1か月前
ローム株式会社
抵抗チップ
1か月前
ローム株式会社
半導体装置
10日前
株式会社半導体エネルギー研究所
表示装置
10日前
三菱電機株式会社
半導体装置
18日前
富士電機株式会社
半導体装置
1か月前
株式会社東芝
半導体装置
18日前
三菱電機株式会社
半導体装置
5日前
三菱電機株式会社
半導体装置
1か月前
ローム株式会社
半導体集積回路
1か月前
日亜化学工業株式会社
発光装置
1か月前
ローム株式会社
窒化物半導体装置
1か月前
ローム株式会社
半導体装置
1か月前
株式会社半導体エネルギー研究所
発光デバイス
1か月前
サンケン電気株式会社
半導体装置
18日前
ローム株式会社
半導体装置
1か月前
ローム株式会社
半導体装置
1か月前
株式会社半導体エネルギー研究所
発光デバイス
26日前
ローム株式会社
半導体装置
3日前
日亜化学工業株式会社
発光素子
1か月前
大日本印刷株式会社
太陽電池
1か月前
新電元工業株式会社
半導体素子
3日前
新電元工業株式会社
半導体素子
3日前
新電元工業株式会社
半導体素子
3日前
日亜化学工業株式会社
発光素子
1か月前
日亜化学工業株式会社
発光装置
3日前
ローム株式会社
半導体装置
18日前
日本ゼオン株式会社
構造体
1か月前
今泉工業株式会社
光発電装置及びその製造方法
1か月前
日亜化学工業株式会社
発光装置
1か月前
日亜化学工業株式会社
発光装置
1か月前
ローム株式会社
光センサ
1か月前
住友電気工業株式会社
炭化珪素半導体装置
1か月前
続きを見る
他の特許を見る