TOP
|
特許
|
意匠
|
商標
特許ウォッチ
Twitter
他の特許を見る
10個以上の画像は省略されています。
公開番号
2025167554
公報種別
公開特許公報(A)
公開日
2025-11-07
出願番号
2024072308
出願日
2024-04-26
発明の名称
ディスク装置
出願人
株式会社東芝
,
東芝デバイス&ストレージ株式会社
代理人
弁理士法人スズエ国際特許事務所
主分類
G11B
21/02 20060101AFI20251030BHJP(情報記憶)
要約
【課題】ストッパに衝突時のアクチュエータアッセンブリの変位量を低減可能なディスク装置を提供することにある。
【解決手段】実施形態によれば、ディスク装置は、ディスク状の記録媒体と、回動可能に設けられたアクチュエータアッセンブリと、前記アクチュエータアッセンブリに支持された磁気ヘッドと、前記アクチュエータアッセンブリに当接可能に配置され、前記アクチュエータアッセンブリの第1方向への移動を規制する第1ストッパと、前記アクチュエータアッセンブリが前記第1ストッパに当接した後に前記アクチュエータアッセンブリが当接する位置に配置され、前記アクチュエータアッセンブリの前記第1方向への移動を規制する第1補助ストッパと、を具備している。
【選択図】図13
特許請求の範囲
【請求項1】
ディスク状の記録媒体と、
回動可能に設けられたアクチュエータアッセンブリと、
前記アクチュエータアッセンブリに支持された磁気ヘッドと、
前記アクチュエータアッセンブリに当接可能に配置され、前記アクチュエータアッセンブリの第1方向への移動を規制する第1ストッパと、
前記アクチュエータアッセンブリが前記第1ストッパに当接した後に前記アクチュエータアッセンブリが当接する位置に配置され、前記アクチュエータアッセンブリの前記第1方向への移動を規制する第1補助ストッパと、
を具備している、ディスク装置。
続きを表示(約 1,600 文字)
【請求項2】
前記第1ストッパは、前記アクチュエータアッセンブリに当接可能に設けられた弾性を有する緩衝部材を具備し、
前記第1補助ストッパは、前記緩衝部材が前記第1方向に弾性変形しきる前に前記アクチュエータアッセンブリに当接する位置に設けられている、請求項1に記載のディスク装置。
【請求項3】
前記記録媒体および前記アクチュエータアッセンブリが配置されたベースと、ベースの開口を閉塞したトップカバーと、を有する筐体を更に備え、
前記第1ストッパは前記ベースに設けられ、前記第1補助ストッパは前記トップカバーに設けられている、請求項1に記載のディスク装置。
【請求項4】
前記筐体は、前記ベースと前記トップカバーとの間に挟持されたガスケットを有し、
前記第1補助ストッパは、前記ガスケットの材料で形成され、前記トップカバーの内面上に配置されている、請求項3に記載のディスク装置。
【請求項5】
前記アクチュエータアッセンブリは、前記ベースに回動自在に支持されたアクチュエータブロックと、前記アクチュエータブロックから前記記録媒体の側に延出したアームおよびサスペンションと、前記サスペンションの延出端に支持された前記磁気ヘッドと、前記アクチュエータブロックから前記アームと反対の方向に延出した支持フレームと、を含み、
前記第1ストッパは、前記支持フレームに当接可能な位置に配置され、
前記第1補助ストッパは、前記アームに当接可能な位置に配置されている、請求項3に記載のディスク装置。
【請求項6】
前記アクチュエータアッセンブリは、当接面を有し前記ベースに回動自在に支持されたアクチュエータブロックと、前記アクチュエータブロックから前記記録媒体の側に延出したアームおよびサスペンションと、前記サスペンションの延出端に支持された前記磁気ヘッドと、前記アクチュエータブロックから前記アームと反対の方向に延出した支持フレームと、を含み、
前記第1ストッパは、前記支持フレームに当接可能な位置に配置され、
前記第1補助ストッパは、前記アクチュエータブロックの前記当接面に当接可能な位置に配置されている、請求項3に記載のディスク装置。
【請求項7】
前記記録媒体および前記アクチュエータアッセンブリが配置されたベースと、ベースの開口を閉塞したトップカバーと、を有する筐体を更に備え、
前記第1ストッパは前記ベースに設けられ、前記第1補助ストッパは前記ベースに設けられている、請求項1に記載のディスク装置。
【請求項8】
前記アクチュエータアッセンブリに当接可能に配置され、前記アクチュエータアッセンブリの前記第1方向と反対の第2方向への移動を規制する第2ストッパと、
前記アクチュエータアッセンブリが前記第2ストッパに当接した後に前記アクチュエータアッセンブリが当接する位置に配置され、前記アクチュエータアッセンブリの前記第2方向への移動を規制する第2補助ストッパと、を更に備えている、請求項1に記載のディスク装置。
【請求項9】
前記第2ストッパは、前記アクチュエータアッセンブリに当接可能に設けられた弾性を有する緩衝部材を具備し、
前記第2補助ストッパは、前記緩衝部材が前記第2方向に弾性変形しきる前に前記アクチュエータアッセンブリに当接する位置に設けられている、請求項8に記載のディスク装置。
【請求項10】
前記記録媒体および前記アクチュエータアッセンブリが配置されたベースと、ベースの開口を閉塞したトップカバーと、を有する筐体を更に備え、
前記第2ストッパは前記ベースに設けられ、前記第2補助ストッパは前記トップカバーに設けられている、請求項8に記載のディスク装置。
(【請求項11】以降は省略されています)
発明の詳細な説明
【技術分野】
【0001】
この発明の実施形態は、ディスク装置に関する。
続きを表示(約 3,400 文字)
【背景技術】
【0002】
ディスク装置として、例えば、ハードディスクドライブ(HDD)は、筐体内に設けられた回転可能な磁気ディスクと、磁気ヘッドを支持した回動可能なアクチュエータアッセンブリ(ヘッドスタックアッセンブリ(HSA)と称する場合もある)とを備えている。筐体には、アクチュエータアッセンブリの移動範囲を制限するインナストッパおよびアウタストッパが設けられている。アクチュエータアッセンブリは、ストッパに衝突することで移動が停止され、所定の移動範囲を超える移動が制限される。これにより、磁気ヘッドと他部品との衝突やランプからの磁気ヘッドの脱落が防止される。アクチュエータアッセンブリが衝突する際の衝撃を緩和するため、各ストッパは、弾性変形可能な緩衝部材を有している。
【0003】
アクチュエータアッセンブリが上記ストッパに衝突する際、ストッパは弾性変形するが、その変位量(変形量)は、ストッパの材質や接触位置、衝突速度によって変動する。そのため、アクチュエータアッセンブリと他部品、例えば、磁気回路や記録媒体、との接触マージンを最大変位量に応じて充分に確保しておく必要がある。接触マージンの増大は、記録媒体のデータエリアの縮小や他部品の設計制約に繋がる。また、ストッパの緩衝部材は、アウトガスの発生源となり、磁気ヘッドや磁気ディスクの汚染を引き起こす可能性がある。これらの問題は、磁気ディスク装置の信頼性や寿命に悪影響を及ぼす。
【先行技術文献】
【特許文献】
【0004】
実開昭62-124661号公報
米国特許第7,061,723号明細書
米国特許第6,125,017号明細書
特開2001-344497号公報
【発明の概要】
【発明が解決しようとする課題】
【0005】
この発明の実施形態の課題は、衝突時のストッパの変位量を低減することが可能なディスク装置を提供することにある。
【課題を解決するための手段】
【0006】
実施形態によれば、ディスク装置は、ディスク状の記録媒体と、回動可能に設けられたアクチュエータアッセンブリと、前記アクチュエータアッセンブリに支持された磁気ヘッドと、前記アクチュエータアッセンブリに当接可能に配置され、前記アクチュエータアッセンブリの第1方向への移動を規制する第1ストッパと、前記アクチュエータアッセンブリが前記第1ストッパに当接した後に前記アクチュエータアッセンブリが当接する位置に配置され、前記アクチュエータアッセンブリの前記第1方向への移動を規制する第1補助ストッパと、を具備している。
【図面の簡単な説明】
【0007】
図1は、トップカバーを分解して示す、第1実施形態に係るハードディスクドライブ(HDD)の分解斜視図。
図2は、前記HDDの平面図。
図3は、前記HDDのヘッドアクチュエータアッセンブリおよびFPCユニットを示す斜視図。
図4は、ヘッドアクチュエータアッセンブリ、FPCユニット、および上部ヨークを取り外した状態の前記HDDの斜視図。
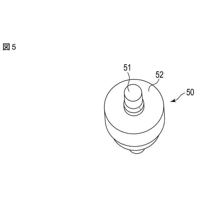
図5は、インナーストッパ(第2ストッパ)の斜視図。
図6は、アウターストッパ(第1ストッパ)のa)斜視図、b)縦断面図。
図7は、実施形態に係るインナストッパの衝突時のオーバートラベル量と温度との関係を示す図。
図8は、実施形態に係るアウタストッパの衝突時のオーバートラベル量と温度との関係を示す図。
図9は、前記トップカバーの内面、ヘッドアクチュエータ、補助ストッパとの配置関係を示す斜視図。
図10は、前記トップカバーおよび補助ストッパの断面図。
図11は、アクターストッパに衝突した状態のアクチュ―タアッセンブリおよび筐体を示す平面図
図12は、前記アクチュエータアッセンブリ、アウタストッパ、補助ストッパを示す斜視図。
図13は、インナストッパに衝突した状態のアクチュ―タアッセンブリおよび筐体を示す平面図
図14は、前記トップカバーの内面、アクチュエータアッセンリ、インナストッパ、補助インナストッパの配置関係を示す斜視図。
図15は、前記アウタストッパに衝突する際のアクチュエータアッセンブリの挙動変位と時間との関係を示す図。
図16は、前記インナストッパおよび補助ストッパに衝突する際のアクチュエータアッセンブリの挙動変位を模式的に示す平面図。
図17は、第2実施形態に係るHDDにおいて、アウタストッパに衝突した状態のアクチュ―タアッセンブリおよび筐体を示す平面図。
図18は、第2実施形態における、前記アクチュエータアッセンブリ、アウタストッパ、補助ストッパを示す斜視図。
図19は、変形例に係る補助ストッパの断面図。
図20は、第3実施形態に係るHDDにおいて、アウタストッパに衝突した状態のアクチュ―タアッセンブリおよび筐体を示す平面図。
図21は、第3実施形態に係るHDDにおいて、インナストッパに衝突した状態のアクチュ―タアッセンブリおよび筐体を示す平面図。
【発明を実施するための形態】
【0008】
以下図面を参照しながら、実施形態に係るディスク装置について説明する。
なお、開示はあくまで一例にすぎず、当業者において、発明の主旨を保っての適宜変更であって容易に想到し得るものについては、当然に本発明の範囲に含有されるものである。また、図面は説明をより明確にするため、実際の態様に比べ、各部の大きさ、形状等について模式的に表される場合があるが、あくまで一例であって、本発明の解釈を限定するものではない。また、本明細書と各図において、既出の図に関して前述したものと同様の要素には、同一の符号を付して、詳細な説明を適宜省略することがある。
【0009】
(第1実施形態)
ディスク装置として、第1実施形態に係るハードディスクドライブ(HDD)について詳細に説明する。図1は、カバーを分解して示す第1実施形態に係るHDDの分解斜視図、図2は、カバーを取外した状態のHDDの平面図である。
図1に示すように、HDDは、ほぼ矩形状の筐体10を備えている。筐体10は、上面の開口した矩形箱状のベース12と、複数のねじ13によりベース12にねじ止めされベース12の上部開口を閉塞するカバー(トップカバー)14と、を有している。ベース12は、カバー14と隙間を置いて対向する矩形状の底壁12aと、底壁12aの周縁に沿って立設された側壁12bとを有し、例えば、アルミニウム合金により一体に成形されている。側壁12bは、互いに対向する一対の長辺壁と互いに対向する一対の短辺壁とを含んでいる。カバー14は、例えば、ステンレスにより矩形板状に形成されている。カバー14は、その周縁部がねじ13により側壁12bの上面にねじ止めされる。
【0010】
筐体10内には、ディスク状の記録媒体として複数枚、例えば、10枚の磁気ディスク18、および磁気ディスク18を支持および回転させるスピンドルモータ19が設けられている。スピンドルモータ19は、底壁12a上に配設されている。各磁気ディスク18は、例えば、直径96mm(3.5インチ)の円板状に形成され、非磁性体、例えば、ガラスあるいはアルミニウムからなる基板と、基板の上面(第1面)および下面(第2面)に形成された磁気記録層とを有している。各磁気ディスク18は、スピンドルモータ19のハブに互いに同軸的に嵌合され、更に、クランプばね20によりクランプされている。これにより、磁気ディスク18は、ベース12の底壁12aと平行に位置した状態に支持されている。複数枚の磁気ディスク18は、スピンドルモータ19により所定の回転数で回転される。なお、磁気ディスク18の搭載枚数は、10枚に限らず、9枚以下、あるいは、11枚以上としてもよい。
(【0011】以降は省略されています)
この特許をJ-PlatPat(特許庁公式サイト)で参照する
関連特許
他の特許を見る