TOP
|
特許
|
意匠
|
商標
特許ウォッチ
Twitter
他の特許を見る
公開番号
2025161490
公報種別
公開特許公報(A)
公開日
2025-10-24
出願番号
2024064713
出願日
2024-04-12
発明の名称
補修システム
出願人
株式会社東芝
,
東芝エネルギーシステムズ株式会社
代理人
弁理士法人サクラ国際特許事務所
主分類
H02K
15/02 20250101AFI20251017BHJP(電力の発電,変換,配電)
要約
【課題】回転電機の補修を効率的に行うことを容易に実現可能な補修システムを提供する。
【解決手段】実施形態の補修システムは、回転電機において回転子と固定子との間に介在している隙間に挿入されて走行する走行装置と、走行装置の動作を制御する制御装置とを備える。走行装置は、隙間において当該走行装置を移動させる移動機構と、隙間において回転電機の補修対象箇所を補修する補修機構とを有する。補修機構は、補修対象箇所を補修するための補修材をノズル吐出口から吐出するノズルを含む。制御装置は、補修対象箇所を補修する際には、走行装置を移動させた状態でノズルのノズル吐出口から補修材を吐出することによって、補修対象箇所に補修材を塗布するように、移動機構の動作および補修機構の動作を制御する。
【選択図】図4A
特許請求の範囲
【請求項1】
回転電機において回転子と固定子との間に介在している隙間に挿入されて走行する走行装置と、
前記走行装置の動作を制御する制御装置と
を備える、補修システムであって、
前記走行装置は、
前記隙間において当該走行装置を移動させる移動機構と、
前記隙間において前記回転電機の補修対象箇所を補修する補修機構と
を有し、
前記補修機構は、
前記補修対象箇所を補修するための補修材をノズル吐出口から吐出するノズル
を含み、
前記制御装置は、前記補修対象箇所を補修する際には、前記走行装置を移動させた状態で前記ノズルの前記ノズル吐出口から前記補修材を吐出することによって、前記補修対象箇所に前記補修材を塗布するように、前記移動機構の動作および前記補修機構の動作を制御する、
補修システム。
続きを表示(約 1,200 文字)
【請求項2】
前記補修機構は、
前記ノズルの前記ノズル吐出口から前記補修対象箇所に吐出された前記補修材の厚みを均一化するためのスクレーパ
を有する、
請求項1に記載の補修システム。
【請求項3】
前記補修機構は、
前記ノズルから前記補修対象箇所に液体状態で吐出された前記補修材を固化させるための固化装置
を含む、
請求項1に記載の補修システム。
【請求項4】
前記補修機構は、
前記補修材を貯蔵する貯蔵部と、
前記隙間において前記補修材を塗布する塗布面に対面する第1スキッド面、および、第1スキッド面の反対側に位置する第2スキッド面が設けられているスキッドと、
前記第2スキッド面に設けられ、前記塗布面に前記第1スキッド面を押し付けるように前記スキッドを付勢する付勢部材と
を含み、
前記ノズルは、前記スキッドに支持されており、
前記スキッドは、前記貯蔵部から前記ノズルへ前記補修材が流れるスキッド流路が設けられている、
請求項1に記載の補修システム。
【請求項5】
前記補修機構は、
前記貯蔵部から前記スキッド流路へ前記補修材を供給するためのフレキシブルなチューブ
を含み、
前記スキッドは、前記第2スキッド面の側に設けられている動作支点部によって、前記塗布面に対して回動可能に支持されており、
前記動作支点部は、補修を行う際に当該走行装置が移動する補修時走行方向の前方側に位置する部分で、前記スキッドを支持しており、
前記チューブは、前記動作支点部よりも前記補修時走行方向の前方側に位置するように、前記スキッドに連結されている、
請求項4に記載の補修システム。
【請求項6】
前記貯蔵部は、エアポンプからエアが供給されることにより、前記補修材を前記ノズルへ供給するように構成されており、
前記補修機構として、第1補修機構と第2補修機構とを少なくとも含み、
前記エアポンプは、前記第1補修機構において前記貯蔵部として設けられている第1貯蔵部にエアを供給すると供に、前記第2補修機構において前記貯蔵部として設けられている第2貯蔵部にエアを供給するように構成されている、
請求項4に記載の補修システム。
【請求項7】
前記貯蔵部は、エアポンプからエアが供給されることにより、前記補修材を前記ノズルへ供給するように構成されており、
前記制御装置は、前記走行装置が走行する速度に応じて、前記ノズルの前記ノズル吐出口から前記補修材を単位時間当たりに吐出する吐出量が増加させるように、前記エアポンプの動作を制御する、
請求項4に記載の補修システム。
発明の詳細な説明
【技術分野】
【0001】
実施形態は、補修システムに関する。
続きを表示(約 2,300 文字)
【背景技術】
【0002】
発電機や電動機などの回転電機は、固定子と回転子との間に隙間が介在している。固定子は、固定子鉄心において隙間を介在して回転子に対面する面に固定子スロットが形成され、その固定子スロットに収容された固定子コイルが固定子ウェッジ(楔)によって固定子スロットの内部に固定されている。同様に、回転子は、回転子鉄心において隙間を介在して固定子に対面する面に回転子スロットが形成されており、その回転子スロットに収容された回転子コイルが回転子ウェッジ(楔)によって回転子スロットの内部に固定されている。
【0003】
回転電機は、大規模な故障が発生することを避けるために、検査が行われる。回転電機の検査では、例えば、固定子において固定子鉄心に固定子ウェッジが固定された固定状態(緩み)等が調べられる。固定子ウェッジの固定状態等の検査は、固定子において隙間が位置する側の面に固定子ウェッジが設置されているために、例えば、回転子を固定子から抜き出す分解作業を実施した後に、例えば、固定子ウェッジを目視で観察することで実行される。この他に、固定子ウェッジの固定状態等の検査は、分解作業を実施後に、例えば、ハンマーで固定子ウェッジを打ったときに生ずる音に基づいて実行される。このため、上記のような検査を行う際には、回転電機を停止させる期間が長期化する場合がある。また、上記の検査を行うためには、回転電機の分解作業を伴うために、多くの作業員が必要になる場合がある。
【0004】
このため、回転電機の分解を行わずに、固定子と回転子との間に介在する隙間に走行装置を挿入し、その隙間において走行装置の走行を制御装置が制御することによって検査を実行するための走行システムが提案されている。
【先行技術文献】
【特許文献】
【0005】
特許6425844号
米国特許第7624827号明細書
特開2019-117137号公報
特開2019-117138号公報
【発明の概要】
【発明が解決しようとする課題】
【0006】
回転電機においては、検査の結果等に応じて、補修が必要になる場合がある。例えば、固定子において固定子鉄心に固定子ウェッジが固定された固定状態に不具合(緩み等)が生じた場合には、補修が必要になる。しかし、従来の走行システムには、固定子と回転子との間に介在する隙間において補修を行うための手段がないので、補修を効率的に実施することが困難であった。
【0007】
したがって、本発明が解決しようとする課題は、回転電機の補修を効率的に行うことを容易に実現可能な補修システムを提供することである。
【課題を解決するための手段】
【0008】
実施形態の補修システムは、回転電機において回転子と固定子との間に介在している隙間に挿入されて走行する走行装置と、走行装置の動作を制御する制御装置とを備える。走行装置は、隙間において当該走行装置を移動させる移動機構と、隙間において回転電機の補修対象箇所を補修する補修機構とを有する。補修機構は、補修対象箇所を補修するための補修材をノズル吐出口から吐出するノズルを含む。制御装置は、補修対象箇所を補修する際には、走行装置を移動させた状態でノズルのノズル吐出口から補修材を吐出することによって、補修対象箇所に補修材を塗布するように、移動機構の動作および補修機構の動作を制御する。
【図面の簡単な説明】
【0009】
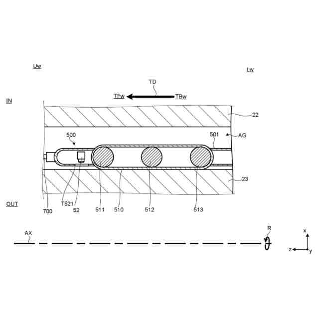
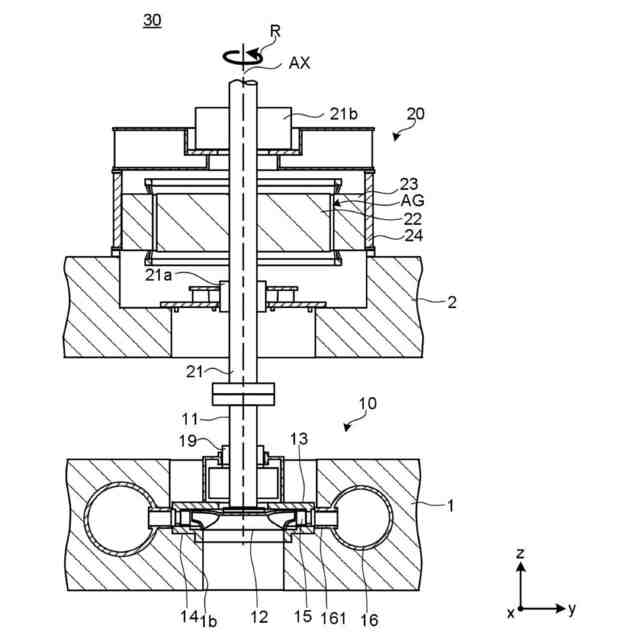
図1は、実施形態において、回転電機20を含む水車発電設備30を模式的に示す図である。
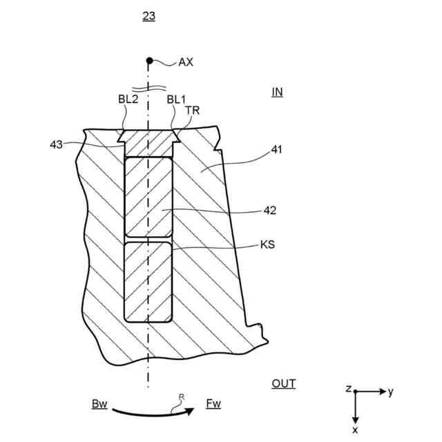
図2Aは、実施形態において、固定子23の一部断面(回転中心軸AXの軸方向に直交する面(xy面))を拡大して示している。
図2Bは、実施形態において、固定子23の内周面に関して、回転中心軸AXの径方向を視線としたときの様子を示している。
図3は、実施形態において、補修システム800を模式的に示すブロック図である。
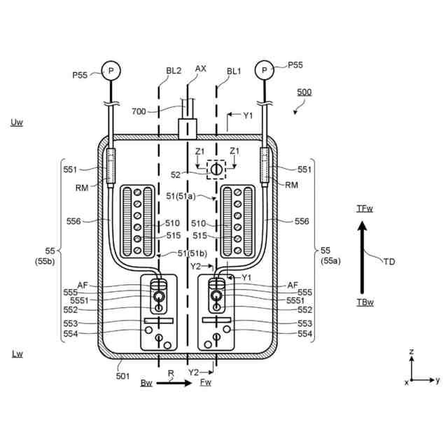
図4Aは、実施形態の補修システム800において、走行装置500の全体を模式的に示す図である。
図4Bは、実施形態の補修システム800において、走行装置500の全体を模式的に示す図である。
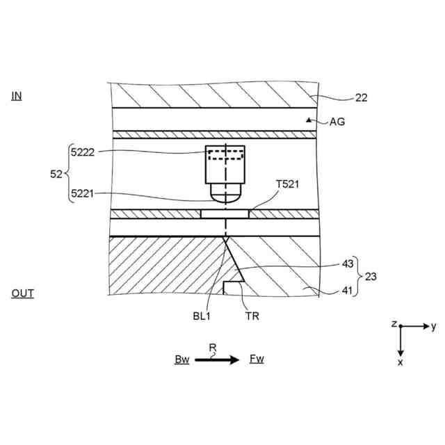
図4Cは、実施形態の走行装置500において、撮像機器52が設けられた部分を模式的に拡大して示す図である。
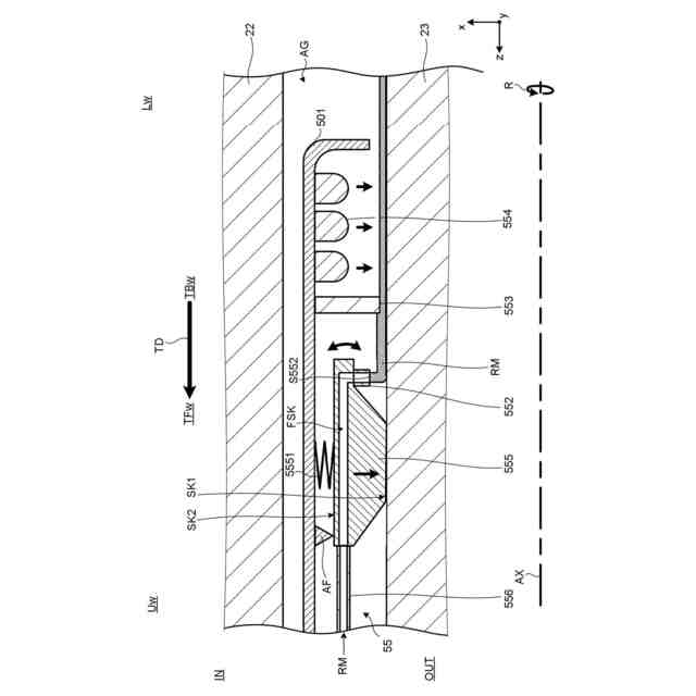
図4Dは、実施形態の走行装置500において、補修機構55が設けられた部分を模式的に拡大して示す図である。
図5Aは、実施形態の補修システム800において、「直進制御」を行うときの動作を示すフロー図である。
図5Bは、実施形態の補修システム800において、「直進制御」を行うときに用いる撮像データの一例を示す図である。
図6は、実施形態の補修システム800において、「補修」を行うときの動作を示すフロー図である。
図7は、変形例1において、走行装置500の一部を模式的に示す図である。
図8Aは、変形例2において、補修機構55が設けられた部分を模式的に拡大して示す図である。
図8Bは、変形例2において、ノズル552を模式的に示す図である。
【発明を実施するための形態】
【0010】
[A]回転電機20
本実施形態の補修システムについて説明する前に、補修システムが走行する回転電機20の一例に関して説明する。
(【0011】以降は省略されています)
この特許をJ-PlatPat(特許庁公式サイト)で参照する
関連特許
株式会社東芝
モータ
1か月前
株式会社東芝
センサ
1か月前
株式会社東芝
端子台
19日前
株式会社東芝
センサ
2か月前
株式会社東芝
センサ
1か月前
株式会社東芝
除去装置
12日前
株式会社東芝
電子装置
1か月前
株式会社東芝
吸音装置
1か月前
株式会社東芝
電子回路
28日前
株式会社東芝
金型構造
1か月前
株式会社東芝
電子装置
1か月前
株式会社東芝
半導体装置
28日前
株式会社東芝
真空バルブ
1か月前
株式会社東芝
半導体装置
28日前
株式会社東芝
半導体装置
1か月前
株式会社東芝
半導体装置
1か月前
株式会社東芝
半導体装置
1か月前
株式会社東芝
半導体装置
1か月前
株式会社東芝
半導体装置
1か月前
株式会社東芝
半導体装置
28日前
株式会社東芝
半導体装置
1か月前
株式会社東芝
高周波回路
28日前
株式会社東芝
半導体装置
28日前
株式会社東芝
半導体装置
1か月前
株式会社東芝
半導体装置
28日前
株式会社東芝
半導体装置
1か月前
株式会社東芝
粒子加速器
1か月前
株式会社東芝
半導体装置
1か月前
株式会社東芝
半導体装置
1か月前
株式会社東芝
半導体装置
1か月前
株式会社東芝
半導体装置
1か月前
株式会社東芝
半導体装置
1か月前
株式会社東芝
半導体装置
1か月前
株式会社東芝
半導体装置
1か月前
株式会社東芝
半導体装置
2か月前
株式会社東芝
半導体装置
1か月前
続きを見る
他の特許を見る