TOP
|
特許
|
意匠
|
商標
特許ウォッチ
Twitter
他の特許を見る
公開番号
2025140161
公報種別
公開特許公報(A)
公開日
2025-09-29
出願番号
2024039358
出願日
2024-03-13
発明の名称
半導体装置
出願人
株式会社東芝
,
東芝デバイス&ストレージ株式会社
代理人
弁理士法人iX
主分類
H10D
30/66 20250101AFI20250919BHJP()
要約
【課題】設計マージンの拡大が可能な半導体装置の提供。
【解決手段】半導体層のメサ部は、第1方向において凹部とゲート電極との間に位置するチャネル部と、チャネル部上に設けられたコンタクト部とを有する。チャネル部は、第1方向においてゲート電極に対向する第1側面と、第1方向において第1側面の反対側に位置する第2側面とを有する。単層の絶縁膜が第2側面に設けられている。第2電極は、メサ部の凹部においてコンタクト部及び絶縁膜に接する。
【選択図】図1
特許請求の範囲
【請求項1】
第1電極と、
前記第1電極上に設けられた第1導電型の半導体層であって、第1方向において互いに離れて位置する複数のメサ部を有する半導体層と、
前記メサ部の上面から、前記第1方向に直交する第2方向に延びる凹部に位置する第2電極と、
前記複数のメサ部のうち前記第1方向において隣り合うメサ部の間に位置するゲート電極と、
前記凹部に位置する単層の絶縁膜と、
を備え、
前記メサ部は、前記第1方向において前記凹部と前記ゲート電極との間に位置するチャネル部と、前記チャネル部上に設けられ、前記チャネル部よりも第1導電型不純物濃度が高いコンタクト部とを有し、
前記チャネル部は、前記第1方向において前記ゲート電極に対向する第1側面と、前記第1方向において前記第1側面の反対側に位置する第2側面とを有し、
前記絶縁膜は、前記第2側面に設けられ、
前記第2電極は、前記凹部において前記コンタクト部及び前記絶縁膜に接する、半導体装置。
続きを表示(約 820 文字)
【請求項2】
前記第2電極は、前記凹部の底において前記半導体層に接する、請求項1に記載の半導体装置。
【請求項3】
前記第2電極は、前記絶縁膜を介して前記チャネル部に対向する第1金属部と、前記コンタクト部に接する第2金属部とを有し、
前記第1金属部の仕事関数は、前記第2金属部の仕事関数よりも高い、請求項1または2に記載の半導体装置。
【請求項4】
前記第1金属部は、Pt、NiまたはCoを含み、
前記第2金属部は、Tiを含む、請求項3に記載の半導体装置。
【請求項5】
前記チャネル部の前記第1方向の幅は、前記凹部の前記第1方向の幅よりも小さい、請求項1または2に記載の半導体装置。
【請求項6】
前記半導体層は、
前記第1電極上に設けられた第1半導体層と、
前記第1半導体層上に設けられ、前記第1半導体層よりも第1導電型不純物濃度が低く、前記チャネル部を含む第2半導体層と、
前記第2半導体層上に設けられ、前記第2半導体層よりも第1導電型不純物濃度が高く、前記コンタクト部を含む第3半導体層と、
を有する、請求項1または2に記載の半導体装置。
【請求項7】
前記絶縁膜は、シリコン酸化膜である、請求項1または2に記載の半導体装置。
【請求項8】
前記絶縁膜の膜厚は、1nm以上10nm以下である、請求項1または2に記載の半導体装置。
【請求項9】
前記第1方向において隣り合う前記メサ部の間において前記ゲート電極の下方に位置するフィールドプレート電極をさらに備える、請求項1または2に記載の半導体装置。
【請求項10】
前記フィールドプレート電極に、前記第2電極と同じ電位が与えられる、請求項9に記載の半導体装置。
(【請求項11】以降は省略されています)
発明の詳細な説明
【技術分野】
【0001】
本発明の実施形態は、半導体装置に関する。
続きを表示(約 1,900 文字)
【背景技術】
【0002】
縦型のMOSFET(Metal-Oxide-Semiconductor Field Effect Transistor)において、p型ベース層を設けずに、トレンチコンタクト部におけるソース電極と半導体層とのショットキー接合から伸びる空乏層によってオフ状態を実現するショットキー型MOSFETが提案されている。
【先行技術文献】
【非特許文献】
【0003】
Yee-Chia Yeo, Pushkar Ranade, Tsu-Jae King, Chenming Hu「Effects of High-k Gate Dielectric Materials on Metal and Silicon Gate Workfunctions」IEEE ELECTRON DEVICE LETTERS, VOL.23, NO.6, JUNE 2002
【発明の概要】
【発明が解決しようとする課題】
【0004】
本発明の実施形態は、設計マージンの拡大が可能な半導体装置の提供を目的とする。
【課題を解決するための手段】
【0005】
本発明の実施形態によれば、半導体装置は、第1電極と、前記第1電極上に設けられた第1導電型の半導体層であって、第1方向において互いに離れて位置する複数のメサ部を有する半導体層と、前記メサ部の上面から、前記第1方向に直交する第2方向に延びる凹部に位置する第2電極と、前記複数のメサ部のうち前記第1方向において隣り合うメサ部の間に位置するゲート電極と、前記凹部に位置する単層の絶縁膜と、を備え、前記メサ部は、前記第1方向において前記凹部と前記ゲート電極との間に位置するチャネル部と、前記チャネル部上に設けられ、前記チャネル部よりも第1導電型不純物濃度が高いコンタクト部とを有し、前記チャネル部は、前記第1方向において前記ゲート電極に対向する第1側面と、前記第1方向において前記第1側面の反対側に位置する第2側面とを有し、前記絶縁膜は、前記第2側面に設けられ、前記第2電極は、前記凹部において前記コンタクト部及び前記絶縁膜に接する。
【図面の簡単な説明】
【0006】
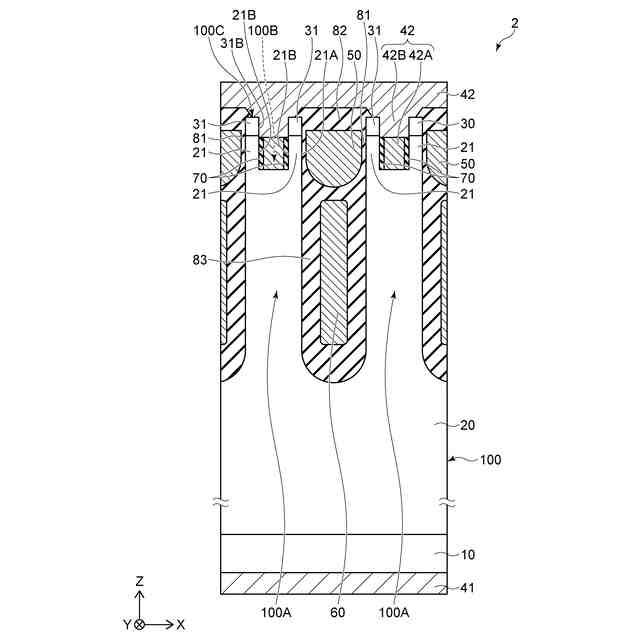
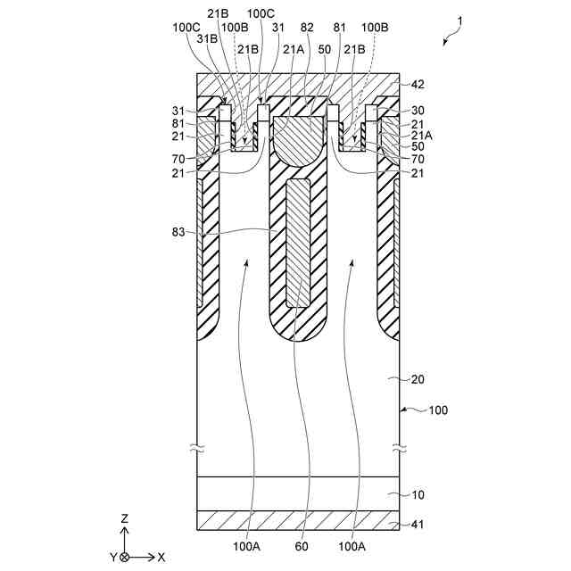
実施形態の半導体装置の模式断面図である。
実施形態の半導体装置の模式断面図である。
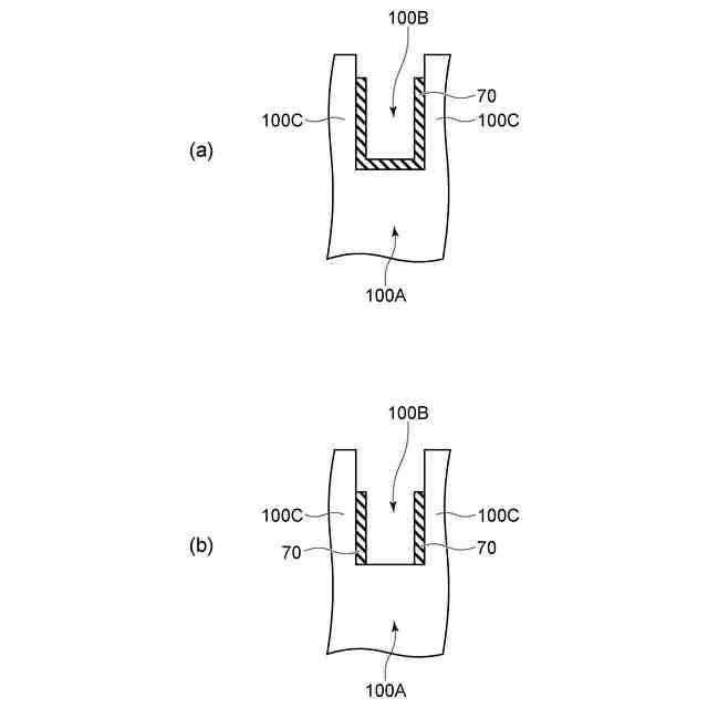
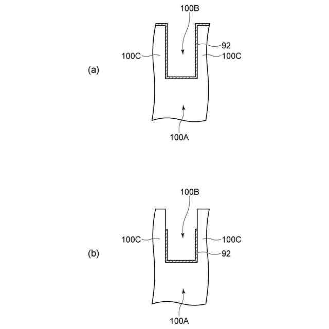
(a)及び(b)は、実施形態の半導体装置の製造方法を示す模式断面図である。
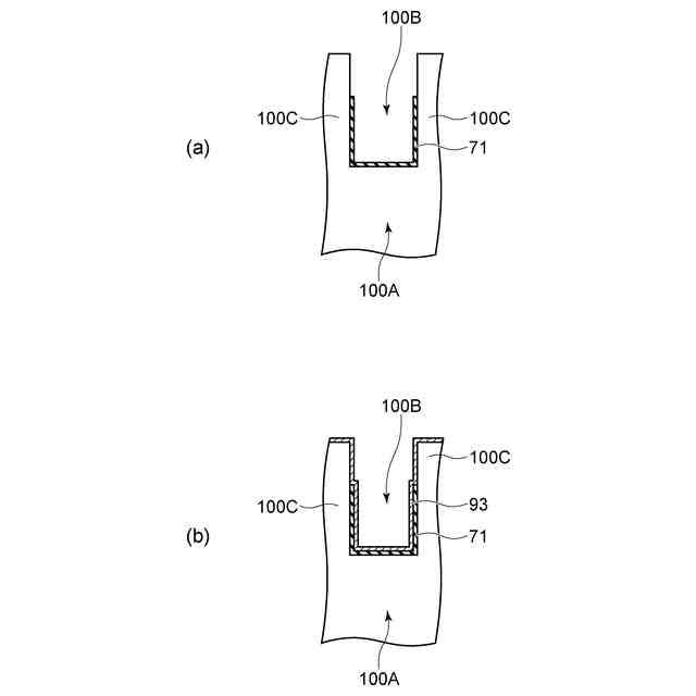
(a)及び(b)は、実施形態の半導体装置の製造方法を示す模式断面図である。
(a)及び(b)は、実施形態の半導体装置の製造方法を示す模式断面図である。
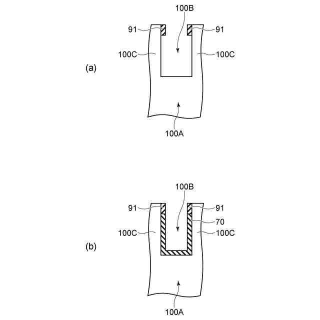
(a)及び(b)は、実施形態の半導体装置の製造方法を示す模式断面図である。
(a)及び(b)は、実施形態の半導体装置の製造方法を示す模式断面図である。
【発明を実施するための形態】
【0007】
以下に、各実施形態について図面を参照しつつ説明する。
図面は模式的または概念的なものであり、各部分の厚さと幅との関係、部分間の大きさの比率などは、必ずしも現実のものと同一とは限らない。同じ部分を表す場合であっても、図面により互いの寸法や比率が異なって表される場合もある。
また、同一または同様の要素には、同じ符号を付している。
【0008】
図1に示すように、実施形態の半導体装置1は、第1電極41と、第1電極41上に設けられた半導体層100と、半導体層100上に設けられた第2電極42とを備える。半導体装置1は、第1電極41と第2電極42との間に設けられた半導体層100の厚さ方向に電流が流れる縦型のMOSFET構造を有する。第1電極41はドレイン電極、第2電極42はソース電極として機能する。第1電極41及び第2電極42は、金属を含む。
【0009】
半導体層100の厚さ方向は、第2方向Zに沿う。第2方向Zに直交する2方向を、第1方向X及び第3方向Yとする。図1において、第1方向Xは横方向であり、第2方向Zは縦方向であり、第3方向Yは紙面を貫く方向である。
【0010】
半導体層100は、第1導電型である。本明細書において、第1導電型をn型として説明するが、第1導電型はp型であってもよい。半導体層100は、例えば、シリコン層である。または、半導体層100は、炭化シリコン層、窒化ガリウム層などであってもよい。
(【0011】以降は省略されています)
この特許をJ-PlatPat(特許庁公式サイト)で参照する
関連特許
株式会社東芝
センサ
14日前
株式会社東芝
センサ
14日前
株式会社東芝
モータ
9日前
株式会社東芝
金型構造
14日前
株式会社東芝
電子装置
8日前
株式会社東芝
吸音装置
9日前
株式会社東芝
半導体装置
11日前
株式会社東芝
半導体装置
11日前
株式会社東芝
半導体装置
11日前
株式会社東芝
半導体装置
11日前
株式会社東芝
粒子加速器
8日前
株式会社東芝
半導体装置
11日前
株式会社東芝
半導体装置
21日前
株式会社東芝
半導体装置
11日前
株式会社東芝
半導体装置
11日前
株式会社東芝
音響制御装置
7日前
株式会社東芝
重量測定装置
7日前
株式会社東芝
ディスク装置
11日前
株式会社東芝
海水用構造体
21日前
株式会社東芝
台車搬送装置
7日前
株式会社東芝
熱電変換装置
9日前
株式会社東芝
ディスク装置
11日前
株式会社東芝
電子デバイス
9日前
株式会社東芝
電子デバイス
9日前
株式会社東芝
電子デバイス
9日前
株式会社東芝
開口部明示部材
22日前
株式会社東芝
アーク溶接方法
7日前
株式会社東芝
位置推定システム
21日前
株式会社東芝
磁気ディスク装置
9日前
株式会社東芝
磁気ディスク装置
7日前
株式会社東芝
磁気ディスク装置
8日前
株式会社東芝
磁気ディスク装置
8日前
株式会社東芝
光量子乱数生成器
3日前
株式会社東芝
磁気ディスク装置
7日前
株式会社東芝
磁気ディスク装置
7日前
株式会社東芝
磁気ディスク装置
11日前
続きを見る
他の特許を見る