TOP
|
特許
|
意匠
|
商標
特許ウォッチ
Twitter
他の特許を見る
10個以上の画像は省略されています。
公開番号
2025158498
公報種別
公開特許公報(A)
公開日
2025-10-17
出願番号
2024061084
出願日
2024-04-04
発明の名称
半導体装置
出願人
株式会社東芝
,
東芝デバイス&ストレージ株式会社
代理人
個人
,
個人
,
個人
,
個人
主分類
H10D
30/66 20250101AFI20251009BHJP()
要約
【課題】閾値電圧が変動することを抑制しつつ、アバランシェ耐量を向上させること。
【解決手段】実施形態に係る半導体装置は、半導体層と、第1電極と、第2電極と、第1導電形の第1半導体領域と、第2導電形の第2半導体領域と、第1導電形の第3半導体領域とを備える。前記半導体層は、第1部分および第2部分を備える。前記第1部分は、絶縁領域を介して前記第2半導体領域内に設けられた第3電極と、前記第2半導体領域内に設けられ、前記第2電極と電気的に接続された第2導電形の第4半導体領域とを備える。前記第2部分は、絶縁領域を介して前記第2半導体領域内に設けられ、第3方向の長さが前記第3電極の前記第3方向の長さよりも短い導電接続部と、前記第2半導体領域内に設けられ、前記第2電極と電気的に接続され、前記第3方向の長さが前記第4半導体領域の前記第3方向の長さよりも長い第2導電形の第5半導体領域とを備える。
【選択図】図1
特許請求の範囲
【請求項1】
第1主面および第2主面を備える半導体層と、
前記第1主面に設けられた第1電極と、
前記第2主面に層間絶縁膜を介して設けられた第2電極と、
前記半導体層内に設けられ、前記第1電極の上に位置する第1導電形の第1半導体領域と、
前記半導体層内に設けられ、前記第1半導体領域の上に位置する第2導電形の第2半導体領域と、
前記半導体層内に設けられ、前記第2半導体領域と前記第2電極との間に位置する第1導電形の第3半導体領域と、
を備える半導体装置であって、
前記半導体層は、前記第1電極から前記第2電極へ向かう第1方向に直交する第2方向に沿って設けられた第1部分および第2部分を備え、
前記第1部分は、
絶縁領域を介して前記第2半導体領域内に設けられた第3電極と、
前記第2半導体領域内に設けられ、第1コンタクト部を介して前記第2電極と電気的に接続され、不純物濃度が前記第2半導体領域よりも高い第2導電形の第4半導体領域と、
を備え、
前記第2部分は、
絶縁領域を介して前記第2半導体領域内に設けられ、前記第3電極と電気的に接続された導電接続部であって、前記導電接続部の前記第1方向および前記第2方向に直交する第3方向の長さは、前記第3電極の前記第3方向の長さよりも短い、導電接続部と、
前記第2半導体領域内に設けられ、第2コンタクト部を介して前記第2電極と電気的に接続され、不純物濃度が前記第2半導体領域よりも高い第2導電形の第5半導体領域であって、前記第5半導体領域の前記第3方向の長さは、前記第4半導体領域の前記第3方向の長さよりも長い、第5半導体領域と、
を備える、半導体装置。
続きを表示(約 860 文字)
【請求項2】
前記第1コンタクト部は、上端が前記第2電極に接続し、下端が前記第2半導体領域の上端よりも前記第2電極側に位置するように設けられ、
前記第4半導体領域は、前記第3半導体領域内に延在し、前記第1コンタクト部に接続し、
前記第2コンタクト部は、上端が前記第2電極に接続し、下端が前記第5半導体領域に接続するように設けられている、請求項1に記載の半導体装置。
【請求項3】
前記第1コンタクト部は、上端が前記第2電極に接続し、下端が前記第4半導体領域に接続するように設けられ、
前記第2コンタクト部は、上端が前記第2電極に接続し、下端が前記第5半導体領域に接続するように設けられ、
前記第3半導体領域内における前記第2コンタクト部の前記第3方向の長さは、前記第3半導体領域内における前記第1コンタクト部の前記第3方向の長さよりも長い、請求項1に記載の半導体装置。
【請求項4】
前記半導体層における前記第1部分の前記第2方向の長さは、前記半導体層における前記第2部分の前記第2方向の長さよりも長い、請求項1に記載の半導体装置。
【請求項5】
前記第2方向に沿って、前記第1部分および前記第2部分が交互に設けられている、請求項1~4のいずれかに記載の半導体装置。
【請求項6】
前記第2方向に沿って前記半導体層の両端に近づくにつれて、前記第1部分に対する前記第2部分の割合が増加する、請求項5に記載の半導体装置。
【請求項7】
前記第5半導体領域の不純物濃度は、前記第4半導体領域の不純物濃度よりも高い、請求項1~4のいずれかに記載の半導体装置。
【請求項8】
絶縁領域を介して前記半導体層内に設けられ、前記絶縁領域によって前記半導体層から電気的に絶縁され、前記第2電極と電気的に接続されたフィールドプレート電極をさらに備える、請求項1~4のいずれかに記載の半導体装置。
発明の詳細な説明
【技術分野】
【0001】
本発明の実施形態は、半導体装置に関する。
続きを表示(約 3,100 文字)
【背景技術】
【0002】
パワーMOSFET(Metal Oxide Semiconductor Field Effect Transistor)等においては、製品ごとの閾値電圧のばらつきを抑えつつ、アバランシェ耐量を向上させることが求められている。
【0003】
アバランシェ耐量を向上させる方法として、MOSFETの寄生バイポーラ動作を抑制することが考えられる。寄生バイポーラは、ベース領域に蓄積された少数キャリアによって動作しやすくなることから、ベース領域に蓄積された少数キャリアを外部に排出することで、アバランシェ耐量を向上させることができる。例えば、ソース領域を貫通してベース領域に達するコンタクト用のトレンチを形成し、当該トレンチの底部にp
+
形の半導体領域等の高濃度領域を形成する。
【0004】
しかしながら、MOSFETの製造過程においてトレンチの位置が狙った位置からずれてしまった場合、トレンチの底部に形成される高濃度領域がベース領域とゲート絶縁膜との境界(チャネル面)に近づき、MOSFETの閾値電圧が変動するおそれがある。他方、閾値電圧の変動を避けるために高濃度領域の大きさや不純物濃度を制限した場合、アバランシェ耐量を向上させることが難しくなる。
【先行技術文献】
【特許文献】
【0005】
特開2022-45628号公報
特開2013-182934号公報
【発明の概要】
【発明が解決しようとする課題】
【0006】
本発明の実施形態は、閾値電圧が変動することを抑制しつつ、アバランシェ耐量を向上させることができる半導体装置を提供する。
【課題を解決するための手段】
【0007】
本実施形態に係る半導体装置は、第1主面および第2主面を備える半導体層と、前記第1主面に設けられた第1電極と、前記第2主面に層間絶縁膜を介して設けられた第2電極と、前記半導体層内に設けられ、前記第1電極の上に位置する第1導電形の第1半導体領域と、前記半導体層内に設けられ、前記第1半導体領域の上に位置する第2導電形の第2半導体領域と、前記半導体層内に設けられ、前記第2半導体領域と前記第2電極との間に位置する第1導電形の第3半導体領域と、を備える。前記半導体層は、前記第1電極から前記第2電極へ向かう第1方向に直交する第2方向に沿って設けられた第1部分および第2部分を備える。前記第1部分は、絶縁領域を介して前記第2半導体領域内に設けられた第3電極と、前記第2半導体領域内に設けられ、第1コンタクト部を介して前記第2電極と電気的に接続され、不純物濃度が前記第2半導体領域よりも高い第2導電形の第4半導体領域と、を備える。前記第2部分は、絶縁領域を介して前記第2半導体領域内に設けられ、前記第3電極と電気的に接続された導電接続部と、前記第2半導体領域内に設けられ、第2コンタクト部を介して前記第2電極と電気的に接続され、不純物濃度が前記第2半導体領域よりも高い第2導電形の第5半導体領域と、を備える。前記導電接続部の前記第1方向および前記第2方向に直交する第3方向の長さは、前記第3電極の前記第3方向の長さよりも短い。前記第5半導体領域の前記第3方向の長さは、前記第4半導体領域の前記第3方向の長さよりも長い。
【図面の簡単な説明】
【0008】
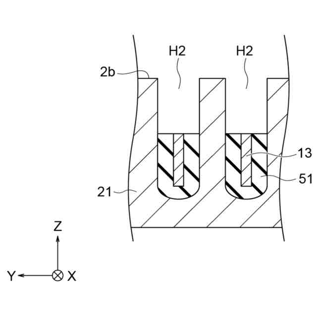
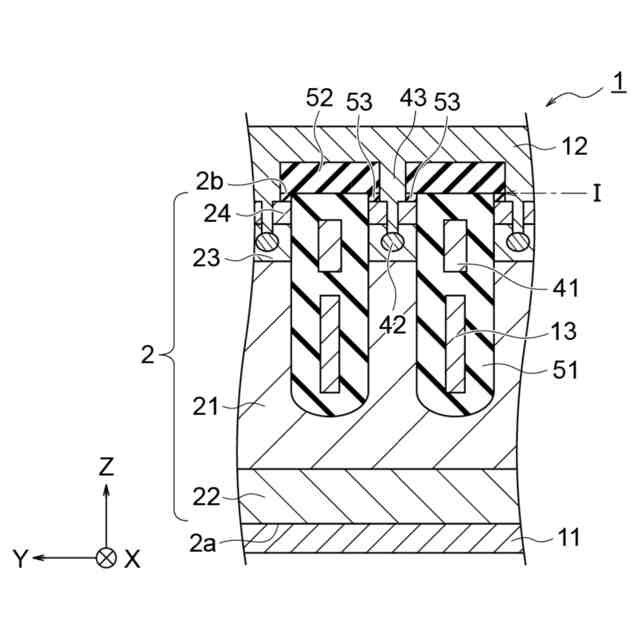
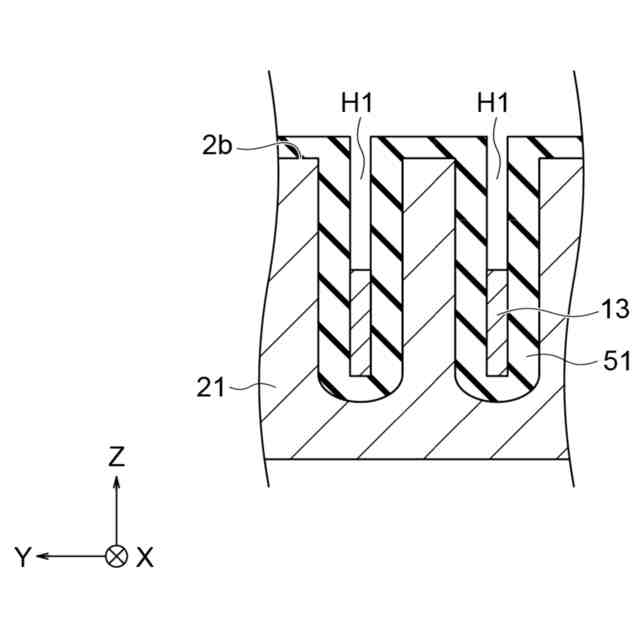
第1実施形態に係る半導体装置の平面図である。
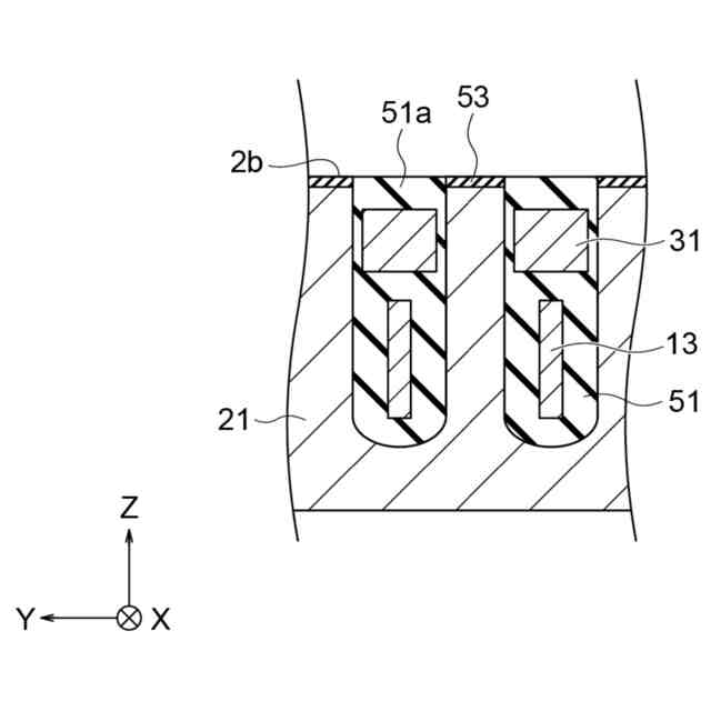
図1のA1-A1線に沿う断面図であり、第1実施形態に係る半導体装置におけるFET動作部分を示す。
図1のB1-B1線に沿う断面図であり、第1実施形態に係る半導体装置における非FET動作部分を示す。
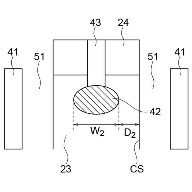
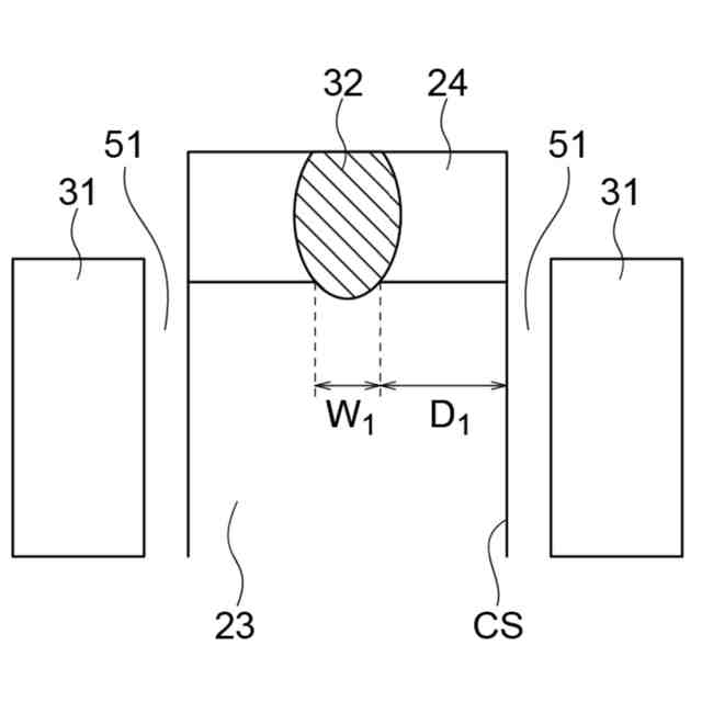
図2Aにおける高濃度領域周辺の模式的な拡大図である。
図2Bにおける高濃度領域周辺の模式的な拡大図である。
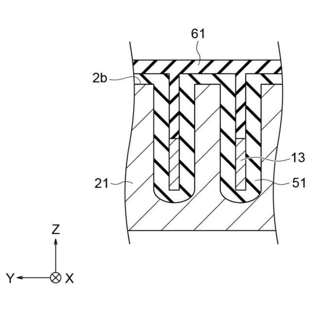
第1実施形態に係る半導体装置の製造工程の一例を説明するための、FET動作部分および非FET動作部分に共通の断面図である。
図3に続く、第1実施形態に係る半導体装置の製造工程の一例を説明するための、FET動作部分の断面図である。
図3に続く、第1実施形態に係る半導体装置の製造工程の一例を説明するための、非FET動作部分の断面図である。
図4Aに続く、第1実施形態に係る半導体装置の製造工程の一例を説明するための、FET動作部分の断面図である。
図4Bに続く、第1実施形態に係る半導体装置の製造工程の一例を説明するための、非FET動作部分の断面図である。
図5Aに続く、第1実施形態に係る半導体装置の製造工程の一例を説明するための、FET動作部分の断面図である。
図5Bに続く、第1実施形態に係る半導体装置の製造工程の一例を説明するための、非FET動作部分の断面図である。
図6Aに続く、第1実施形態に係る半導体装置の製造工程の一例を説明するための、FET動作部分の断面図である。
図6Bに続く、第1実施形態に係る半導体装置の製造工程の一例を説明するための、非FET動作部分の断面図である。
第1実施形態の変形例に係る半導体装置の平面図である。
図8のA2-A2線に沿う断面図であり、第1実施形態の変形例に係る半導体装置におけるFET動作部分を示す。
図8のB2-B2線に沿う断面図であり、第1実施形態の変形例に係る半導体装置における非FET動作部分を示す。
第2実施形態に係る半導体装置の平面図である。
図10のA3-A3線に沿う断面図であり、第2実施形態に係る半導体装置におけるFET動作部分の断面図である。
図10のB3-B3線に沿う断面図であり、第2実施形態に係る半導体装置における非FET動作部分の断面図である。
第2実施形態に係る半導体装置の製造工程の一例を説明するための、FET動作部分の断面図である。
第2実施形態に係る半導体装置の製造工程の一例を説明するための、非FET動作部分の断面図である。
第2実施形態に係る半導体装置の製造工程における層間絶縁膜の平面図である。
実施形態に係る半導体装置における、FET動作部分および非FET動作部分の分布を示す平面図である。
【発明を実施するための形態】
【0009】
以下、図面を参照して本発明に係る実施形態を説明する。実施形態は、本発明を限定するものではない。図面は模式的または概念的なものであり、各部分の比率などは、必ずしも現実のものと同一とは限らない。明細書と図面において、既出の図面に関して前述したものと同様の要素には同一の符号を付して詳細な説明は適宜省略する。
【0010】
また、説明の便宜上、図1~図3などに示すように、XYZ直交座標系を採用する。Z軸方向は、半導体装置の積層方向(厚さ方向)である。また、Z軸方向のうち、ソース電極側を「上」ともいい、ドレイン電極側を「下」ともいう。ただし、この表現は便宜的なものであり、重力の方向とは無関係である。Z軸方向は、特許請求の範囲における第1方向である。X軸方向は、特許請求の範囲における第2方向である。Y軸方向は、特許請求の範囲における第3方向である。
(【0011】以降は省略されています)
この特許をJ-PlatPat(特許庁公式サイト)で参照する
関連特許
株式会社東芝
端子台
1か月前
株式会社東芝
電子源
3日前
株式会社東芝
除去装置
1か月前
株式会社東芝
半導体装置
3日前
株式会社東芝
半導体装置
18日前
株式会社東芝
半導体装置
4日前
株式会社東芝
半導体装置
4日前
株式会社東芝
半導体装置
10日前
株式会社東芝
真空バルブ
4日前
株式会社東芝
半導体装置
3日前
株式会社東芝
光電流センサ
4日前
株式会社東芝
ディスク装置
1か月前
株式会社東芝
電気化学装置
3日前
株式会社東芝
電気車制御装置
1か月前
株式会社東芝
半導体デバイス
4日前
株式会社東芝
半導体デバイス
4日前
株式会社東芝
パワーモジュール
24日前
株式会社東芝
磁気ディスク装置
5日前
株式会社東芝
地熱発電システム
10日前
株式会社東芝
パワーモジュール
24日前
株式会社東芝
センサ及び電子装置
5日前
株式会社東芝
原子力設備冠水方法
3日前
株式会社東芝
踏板フレーム及び踏板
10日前
株式会社東芝
流路板及び電気化学セル
18日前
株式会社東芝
半導体装置及びウエーハ
1か月前
株式会社東芝
ウエーハ及び半導体装置
11日前
株式会社東芝
ウエーハ及び半導体装置
11日前
株式会社東芝
電源装置及び電源制御方法
10日前
株式会社東芝
半導体装置及びその製造方法
1か月前
株式会社東芝
駆動回路、および半導体装置
26日前
株式会社東芝
駆動回路、および半導体装置
26日前
株式会社東芝
半導体装置及びその製造方法
5日前
株式会社東芝
半導体装置及びその製造方法
1か月前
株式会社東芝
ウエーハ、及び、半導体装置
1か月前
株式会社東芝
半導体装置及びその製造方法
1か月前
株式会社東芝
半導体装置およびその製造方法
1か月前
続きを見る
他の特許を見る